Choose the experimental features you want to try

This document is an excerpt from the EUR-Lex website

Document DD_2013_11_059_HR

Službeni list Europske unije
Posebno izdanje 2013.
11. Vanjski odnosi
Svezak 059

Službeni list

Europske unije

1977-0588

doi:10.3002/19770588.2013.11.059.hrv

European flag

Hrvatsko izdanje

11.   Vanjski odnosi

Svezak 059

Posebno izdanje 2013.

 


Referenca

 

Sadržaj

 

Godina

SL

Stranica

 

 

 

 

Uvodna napomena

1

2002

L 032

22

 

 

42002X0201(02)

 

 

 

Pravilnik br. 111. Gospodarske komisije Ujedinjenih naroda za Europu (UN/ECE) – Jedinstvene odredbe o homologaciji cisterni kategorija N i O s obzirom na stabilnost protiv prevrtanja

3

2004

L 095

46

 

 

42004X0331(04)

 

 

 

Pravilnik br. 71 Gospodarske komisije Ujedinjenih naroda za Europu (UN/ECE) — Jedinstvene odredbe o homologaciji poljoprivrednih traktora s obzirom na vidno polje vozača

19

2004

L 095

89

 

 

42004X0331(07)

 

 

 

Pravilnik br. 101 Gospodarske komisije Ujedinjenih naroda za Europu (UN/ECE) – Jedinstvene odredbe o homologaciji osobnih automobila opremljenih motorima s unutarnjim izgaranjem s obzirom na mjerenje emisije ugljičnog dioksida i potrošnje goriva te vozila kategorija M1 i N1 s elektropogonom s obzirom na mjerenje potrošnje električne energije i autonomiju kretanja

29

2010

L 177

40

 

 

42010X0710(02)

 

 

 

Pravilnik br. 6. Gospodarske komisije Ujedinjenih naroda za Europu (UN/ECE) — Jedinstvene odredbe o homologaciji pokazivača smjera za motorna vozila i njihove prikolice

80

2011

L 233

95

 

 

42011X0909(02)

 

 

 

Pravilnik br. 44 Gospodarske komisije Ujedinjenih naroda za Europu (UN/ECE) - Jedinstvene odredbe o homologaciji sustava za držanje djece kao putnika u motornim vozilima (sustavi za držanje djeteta)

111

2012

L 303

1

 

 

32012R0978

 

 

 

Uredba (EU) br. 978/2012 Europskog parlamenta i Vijeća od 25. listopada 2012. o primjeni sustava općih carinskih povlastica i stavljanju izvan snage Uredbe Vijeća (EZ) br. 732/2008

227


11/Sv. 059

HR

Službeni list Europske unije

1




/

SLUŽBENI LIST EUROPSKE UNIJE

01.07.2013.


Uvodna napomena

U skladu s člankom 52. Akta o uvjetima pristupanja Republike Hrvatske i prilagodbama Ugovora o Europskoj uniji, Ugovora o funkcioniranju Europske unije i Ugovora o osnivanju Europske zajednice za atomsku energiju, potpisanog 9. prosinca 2011., tekstovi akata institucija donesenih prije pristupanja koje su te institucije sastavile na hrvatskom jeziku od dana pristupanja vjerodostojni su pod istim uvjetima kao i tekstovi sastavljeni na sadašnjim službenim jezicima. Tim se člankom također predviđa da se tekstovi objavljuju u Službenom listu Europske unije ako su tekstovi na sadašnjim jezicima tako objavljeni.

U skladu s tim člankom objavljuje se posebno izdanje Službenog lista Europske unije na hrvatskom jeziku, koje sadržava tekstove obvezujućih općih akata. To izdanje obuhvaća akte usvojene u razdoblju od 1952. godine do dana pristupanja.

Objavljeni tekstovi podijeljeni su na 20 poglavlja koja slijede raspored iz Registra važećeg zakonodavstva Europske unije, i to:

01

Opća, financijska i institucionalna pitanja

02

Carinska unija i slobodno kretanje robe

03

Poljoprivreda

04

Ribarstvo

05

Sloboda kretanja radnika i socijalna politika

06

Pravo poslovnog nastana i sloboda pružanja usluga

07

Prometna politika

08

Politika tržišnog natjecanja

09

Porezi

10

Ekonomska i monetarna politika i slobodno kretanje kapitala

11

Vanjski odnosi

12

Energetika

13

Industrijska politika i unutarnje tržište

14

Regionalna politika i koordinacija strukturnih instrumenata

15

Okoliš, potrošači i zaštita zdravlja

16

Znanost, informiranje, obrazovanje i kultura

17

Pravo poduzećâ

18

Zajednička vanjska i sigurnosna politika

19

Područje slobode, sigurnosti i pravde

20

Europa građana

Spomenuti registar, koji vodi Ured za publikacije, dostupan je na internetu (eur-lex.europa.eu) na službenim jezicima Europske unije. Bibliografskoj bilješci svakog akta može se pristupiti putem registra, gdje se mogu pronaći upućivanja na posebno izdanje i na ostale analitičke metapodatke.

Akti objavljeni u posebnom izdanju, uz određene iznimke, objavljuju se u obliku u kojem su bili objavljeni u Službenom listu na izvornim službenim jezicima. Stoga pri uporabi posebnog izdanja treba uzeti u obzir naknadne izmjene, prilagodbe ili odstupanja koje su usvojile institucije, Europska središnja banka ili su predviđene u Aktu o pristupanju.

Iznimno, kad se opsežni tehnički prilozi poslije zamijene novim prilozima, navodi se samo upućivanje na posljednji akt koji zamjenjuje prilog. Takav je slučaj u pojedinim aktima koji sadržavaju popise carinskih oznaka (poglavlje 02), aktima o prijevozu opasnih tvari, aktima o pakiranju i označivanju tih tvari (poglavlja 07 i 13) te nekima od protokola i priloga Sporazumu o Europskom gospodarskom prostoru.

Također, Pravilnik o osoblju objavljuje se kao pročišćeni tekst koji obuhvaća sve izmjene do kraja 2012. godine. Daljnje izmjene objavljuju se u izvornom obliku.

Posebno izdanje sadržava dva sustava numeracije stranica:

i.

izvorna numeracija stranica, zajedno s datumom objave francuskog, talijanskog, njemačkog i nizozemskog izdanja Službenog lista, engleskog i danskog izdanja od 1. siječnja 1973., grčkog izdanja od 1. siječnja 1981., španjolskog i portugalskog izdanja od 1. siječnja 1986., finskog i švedskog izdanja od 1. siječnja 1995., češkog, estonskog, latvijskog, litavskog, mađarskog, malteškog, poljskog, slovačkog i slovenskog izdanja od 1. svibnja 2004. te bugarskog i rumunjskog izdanja od 1. siječnja 2007.

U numeraciji stranica postoje praznine jer svi akti objavljeni u to vrijeme nisu objavljeni u posebnom izdanju. Kada se prilikom citiranja akata upućuje na Službeni list, potrebno je navesti stranicu sukladno izvornoj numeraciji;

ii.

numeracija stranica posebnog izdanja neprekinuta je i ne smije se navoditi prilikom citiranja akata.

Do lipnja 1967. numeracija stranica u Službenom listu počinjala je iznova svake godine. Od tada nadalje svaki broj Službenog lista počinje na prvoj stranici.

Od 1. siječnja 1968. Službeni list podijeljen je na dva dijela:

Zakonodavstvo („L”),

Informacije i objave („C”).

Od 1. veljače 2003. prijašnje ime „Službeni list Europskih zajednica” promijenjeno je, na temelju Ugovora iz Nice, u „Službeni list Europske unije”.


11/Sv. 059

HR

Službeni list Europske unije

3


42002X0201(02)


L 032/22

SLUŽBENI LIST EUROPSKE UNIJE

01.02.2002.


Pravilnik br. 111. Gospodarske komisije Ujedinjenih naroda za Europu (UN/ECE) – Jedinstvene odredbe o homologaciji cisterni kategorija N i O s obzirom na stabilnost protiv prevrtanja (1)

1.   PODRUČJE PRIMJENE

Ovaj se Pravilnik odnosi na stabilnost protiv prevrtanja cisterni kategorija N2, N3, O3 i O4 (2) namijenjenih prijevozu opasne robe u skladu sa sporazumima ADR (3).

2.   DEFINICIJE

Za potrebe ovog Pravilnika:

2.1.   „homologacija vozila” znači homologacija tipa vozila u odnosu na stabilnost protiv prevrtanja;

2.2.   „tip vozila” znači kategorija vozila koje se ne razlikuje u odnosu na sljedeće bitne značajke:

2.2.1.   kategoriju vozila (vidjeti stavak 1.) i tip (kamion, prikolica, poluprikolica, prikolica sa središnjom osovinom) (4);

2.2.2.   najveća masa u skladu sa stavkom 2.4.;

2.2.3.   poprečni presjek cisterne (kružni, eliptični, najveće zapremnine);

2.2.4.   najveću visinu težišta opterećenog vozila;

2.2.5.   raspodjelu mase između osovina (uključujući petu brzinu);

2.2.6.   broj i raspored osovina (uključujući međuosovinski razmak);

2.2.7.   raspored ovjesa u odnosu na značajke valjanja;

2.2.8.   veličinu i strukturu guma (radijalne, dijagonalne);

2.2.9.   širinu raspona središta kotača na svakoj osovini;

2.2.10.   međuosovinski razmak;

2.3.   „opterećeno vozilo”, osim ako je drukčije navedeno, znači vozilo opterećeno do svoje najveće mase;

2.4.   „najveća masa” znači najveća tehnički dozvoljena masa koju navodi proizvođač vozila (ova masa može biti veća od „najveće dozvoljene mase” prema propisima države);

2.5.   „raspored mase između osovina” znači udio najveće dozvoljene mase koju nosi svaka osovina kako navodi proizvođač vozila;

2.6.   „nominalna visina ovjesa” znači udaljenost od središta kotača i fiksne točke na šasiji kako navodi proizvođač vozila.

3.   ZAHTJEV ZA HOMOLOGACIJU

3.1.   Zahtjev za homologaciju tipa s obzirom na stabilnost protiv prevrtanja podnosi proizvođač vozila (5) ili njegov ovlašteni predstavnik.

3.2.   Zahtjevu se prilažu niže navedeni dokumenti u tri primjerka koji sadrže sljedeće pojedinosti:

3.2.1.   detaljan opis tipa vozila u odnosu na elemente navedene u stavku 2.2. Opis mora sadržavati brojeve i/ili simbole koji označuju tip vozila;

3.2.2.   fotografije i/ili dijagrame i crteže vozila na kojima je prikazan tip vozila sprijeda, bočno i straga;

3.2.3.   pojedinosti vezane uz masu vozila u skladu sa stavkom 2.4.

3.3.   Vozilo koje predstavlja tip vozila za koje se traži homologacija šalje se tehničkoj službi koja provodi homologacijska ispitivanja.

4.   HOMOLOGACIJA

4.1.   Ako tip vozila za kojeg se traži homologacija u skladu s ovim Pravilnikom ispunjava zahtjeve iz stavka 5. izdaje se homologacija navedenog tipa vozila.

4.2.   Svakom homologiranom tipu vozila dodjeljuje se homologacijski broj. Prve dvije znamenke (trenutačno 00 za Pravilnik u izvornom obliku) označavaju niz izmjena koje obuhvaćaju najnovije značajnije tehničke promjene nastale u Pravilniku na dan dodjeljivanja homologacije. Ista ugovorna stranka ne može izdati isti homlogacijski broj drugom tipu vozila.

4.3.   Obavijest o homologaciji, proširenju, odbijanju ili povlačenju homologacije ili konačnoj obustavi proizvodnje tipa vozila u skladu s ovim Pravilnikom upućuje se strankama Sporazuma koje primjenjuju ovaj Pravilnik putem obrasca u skladu s primjerom iz Priloga 1. ovom Pravilniku zajedno s fotografijama i/ili dijagramima i crtežima koje je podnositelj zahtjeva dostavio u formatu koji nije veći od A4 (210 × 297 mm) ili je presavijen na taj format i u odgovarajućem je mjerilu.

4.4.   Na svako vozilo koje odgovara tipu homologiranom u skladu s ovim Pravilnikom postavlja se na uočljivo i jednostavno dostupno mjesto određeno na homologacijskom obrascu međunarodna homologacijska oznaka koja se sastoji od:

4.4.1.   kruga u kojem se nalazi slovo E iza kojeg je razlikovni broj zemlje koja je izdala homologaciju (6); i

4.4.2.   broja ovog Pravilnika iza kojeg se nalazi slovo R, crtica i homologacijski broj desno od kruga propisanog u stavku 4.4.1.

4.5.   Ako je vozilo sukladno s tipom vozila homologiranim u skladu s jednim ili više drugih pravilnika priloženih Sporazumu u državi koja je izdala homologaciju u skladu s ovim Pravilnikom, simbol predviđen u stavku 4.4.1. ne mora se ponavljati; u tom slučaju broj Pravilnika i homologacijski broj kao i dodatni simboli svih pravilnika na temelju kojih je izdana homologacija u državi koja je izdala homologaciju na temelju ovog Pravilnika stavljaju se u uspravne stupce desno od simbola propisanog u stavku 4.4.1.

4.6.   Homologacijska oznaka mora biti jasno čitljiva i neizbrisiva.

4.7.   Homologacijska oznaka postavlja se pored ili na pločicu s podacima vozila.

4.8.   Prilog 2. ovom Pravilniku sadrži primjere homologacijskih oznaka.

5.   TEHNIČKI UVJETI I ISPITIVANJA

5.1.   Vozilo se mora podvrgnuti:

5.1.1.   ispitivanju na pokretnom ispitnom stolu u skladu s Prilogom 3. ovom Pravilniku koji simulira ponašanje vozila u zavoju pri konstantnom radijusu, bez vibracija; ili

5.1.2.   metodi proračuna u skladu s Prilogom 4. ovom Pravilniku kao alternativi. Ako postoji bilo kakva sumnja ili nesuglasica, koristi se pokretni ispitni stol.

5.2.   Rezultati pokretnog ispitnog stola ili metode izračuna smatraju se zadovoljavajućim ako su ispunjeni uvjeti u skladu sa stavcima 5.3. i 5.4.

5.3.   Kriteriji stabilnosti

5.3.1.   Kriteriji utvrđeni skladu s odredbama odgovarajućih Priloga (3. i 4.) ovom Pravilniku moraju ispunjavati jedan od sljedećih uvjeta na temelju stavka 5.1.2.:

5.3.1.1.   Pokretni ispitni stol:

Statička stabilnost pri prevrtanju vozila mora biti takva da se pri nijednom nagibu pokretnog ispitnog stola od 23° na obje strane ne dođe do točke prevrtanja.

Ako vozilo ne zadovolji na jednom od tri ispitivanja za jedan od smjerova (desni ili lijevi), može pristupiti još jednom ispitivanju.

5.3.1.2.   Metoda izračuna:

Stabilnost protiv prevrtanja vozila mora biti takva da se pri postizanju bočnog ubrzanja od 4 m/s2 ne dođe do točke prevrtanja.

5.4.   Posebni zahtjevi

Ne smije doći do dodira dijelova vozila čiji kontakt nije predviđen za vrijeme uobičajene uporabe.

6.   PREINAKA TIPA VOZILA I PROŠIRENJE HOMOLOGACIJE

6.1.   O svakoj preinaci koja utječe na tip vozila u skladu sa stavkom 2.2. (na primjer šasija, karoserija, ovjes, konfiguracija osovina itd.) obavješćuje se administrativno tijelo koje je izdalo homologaciju. U tom slučaju tijelo može:

6.1.1.   smatrati da provedene preinake vjerojatno neće imati značajniji nepovoljan učinak te da je u svakom slučaju vozilo i dalje u skladu sa zahtjevima; ili

6.1.2.   zahtijevati od tehničke službe koja je odgovorna za provedbu ispitivanja novo izvješće o ispitivanju.

6.2.   Potvrda ili odbijanje homologacije u kojoj se opisuju nastale promjene priopćuje se postupkom utvrđenim u stavku 4.3. ovog Pravilnika strankama Sporazuma koje primjenjuju ovaj Pravilnik.

6.3.   Nadležno tijelo koje izdaje proširenje homologacije dodjeljuje serijski broj na svakom obrascu s izjavom koji se izdaje za takvo proširenje i o tome obavješćuje ostale stranke Sporazuma iz 1958. koje primjenjuju ovaj Pravilnik putem obrasca s izjavom u skladu s primjerom iz Priloga 2. ovom Pravilniku.

7.   SUKLADNOST PROIZVODNJE

Postupci sukladnosti proizvodnje moraju odgovarati onima koje predviđa Sporazum, Dodatak 2. (E/ECE/324-E/ECE/TRANS/505/Rev.2.) i ispunjavati sljedeće zahtjeve:

7.1.   Vozilo homologirano na temelju ovog Pravilnika mora se proizvesti u skladu s homologiranim tipom i mora ispunjavati zahtjeve koje propisuje stavak 5.

7.2.   Tijelo koje je izdalo homologaciju tipa može u bilo kojem trenutku provjeriti metode nadzora sukladnosti primjenjivih na svaku proizvodnu cjelinu. Uobičajena učestalost inspekcija je jedanput u dvije godine.

8.   KAZNE ZA NESUKLADNOST PROIZVODNJE

8.1.   Homologacija izdana za tip vozila u skladu s ovim Pravilnikom može se povući ako zahtjevi iz stavka 7.1. nisu ispunjeni ili odabrano vozilo ili vozila nisu zadovoljila ispitivanja propisana u stavku 7.2.

8.2.   Ako ugovorna stranka Sporazuma koja primjenjuje ovaj Pravilnik povuče prethodno odobrenu homologaciju, ona o tome odmah obavješćuje druge ugovorne stranke koje primjenjuju ovaj Pravilnik putem obrasca s izjavom u skladu s primjerom iz Priloga 1. ovom Pravilniku.

9.   KONAČNA OBUSTAVA PROIZVODNJE

Ako nositelj homologacije konačno obustavi proizvodnju tipa vozila homologiranog u skladu s ovim Pravilnikom o tome obavješćuje tijelo koje je izdalo homologaciju. Po primitku odgovarajuće izjave to tijelo o tome obavješćuje ostale stranke Sporazuma iz 1958. koje primjenjuju ovaj Pravilnik putem obrasca s izjavom u skladu s primjerom iz Priloga 1. ovom Pravilniku.

10.   NAZIVI I ADRESE TEHNIČKIH SLUŽBI ODGOVORNIH ZA PROVEDBU HOMOLOGACIJSKIH ISPITIVANJA I ADMNISTRATIVNIH TIJELA

Ugovorne stranke Sporazuma iz 1958. koje primjenjuju ovaj Pravilnik dostavljaju tajništvu Ujedinjenih naroda nazive i adrese tehničkih službi koje su odgovorne za provedbu homologacijskih ispitivanja i administrativnih tijela koje izdaju homologaciju i kojima se šalju obrasci izdani u drugim državama koji potvrđuju homologaciju ili proširenje ili odbijanje ili povlačenje homologacije ili konačnu obustavu proizvodnje.


(1)  Pravilnik Gospodarske komisije Ujedinjenih naroda za Europu objavljen u skladu s odredbama članka 4. točke 5. Odluke Vijeća 97/836/EZ (SL L 346, 17.12.1997., str. 78.).

(2)  Kategorije N i O u skladu s Prilogom 7. pročišćene Rezolucije o izradi vozila (R.E.3.) (dokument TRANS/WP.29/78/Rev.1.).

(3)  Europski sporazum o međunarodnom cestovnom prijevozu opasne robe (ADR).

(4)  Tip vozila u skladu s Prilogom 7. pročišćene Rezolucije o izradi vozila (R.E.3.) (dokument TRANS/WP.29/78/Rev.1.).

(5)  Proizvođač osnovnog vozila ili izvođač završne montaže cisterne.

(6)  1 za Njemačku, 2 za Francusku, 3 za Italiju, 4 za Nizozemsku, 5 za Švedsku, 6 za Belgiju, 7 za Mađarsku, 8 za Češku, 9 za Španjolsku, 10 za Jugoslaviju, 11 za Ujedinjenu Kraljevinu, 12 za Austriju, 13 za Luksemburg, 14 za Švicarsku, 15 (prazno), 16 za Norvešku, 17 za Finsku, 18 za Dansku, 19 za Rumunjsku, 20 za Poljsku, 21 za Portugal, 22 za Rusku Federaciju, 23 za Grčku, 24 (prazno), 25 za Hrvatsku, 26 za Sloveniju, 27 za Slovačku, 28 za Bjelarus, 29 za Estoniju, 30 (prazno), 31 za Bosnu i Hercegovinu, 32-36 (prazno) i 37 za Tursku. Sljedeći brojevi dodjeljuju se ostalim državama kronološkim redoslijedom kojim ratificiraju Sporazum o prihvaćanju jedinstvenih uvjeta za homologaciju i uzajamno priznavanje homologacije opreme i dijelova motornih vozila ili kojim pristupe Sporazumu, a dodijeljene brojeve ugovornim strankama Sporazuma dostavlja glavni tajnik Ujedinjenih naroda.


PRILOG 1.

Izjava

(Najveći format: A4 (210 × 297 mm))

 (1)

Image

Izdaje:

naziv tijela:

o (2):

 

IZDAVANJU HOMOLOGACIJE

 

PROŠIRENJU HOMOLOGACIJE

 

ODBIJANJU HOMOLOGACIJE

 

POVLAČENJU HOMOLOGACIJE

 

KONAČNOJ OBUSTAVI PROIZVODNJE

tipa vozila u odnosu na statičku/nepomičnu stabilnost pri prevrtanju u skladu s Pravilnikom br. 111.

Homologacijski br. … Proširenje br. …

1.   Trgovačko ime ili marka vozila: …

2.   Kategorija vozila: N2/N3/03/04 (2)

3.   Tip vozila:

3.1.   šasija; marka, model, tip: …

3.2.   cisterna; marka, model: …

3.3.   monocoque konstrukcija cisterne: da/ne (2)

4.   Ime i adresa proizvođača: …

5.   Ime i adresa ovlaštenog predstavnika: …

6.   Masa vozila:

6.1.   najveća masa vozila: …

6.2.   masa opterećene cisterne: …

6.3.   raspodjela najveće mase na osovinama: …

6.4.   u slučaju poluprikolice ili prikolice sa središnjom osovinom statičko opterećenje na sedlu/prednjoj spojnici: …

7.   Presjek cisterne: kružni/eliptični/najvećeg obujma (2)

8.   Visina težišta opterećenog vozila: …

Osovine:

9.1.   broj i raspored osovina (uključujući međuosovinski razmak): …

9.2.   raspored ovjesa u odnosu na značajke valjanja: …

9.3.   nominalna visina ovjesa i kontrolna točka (3): …

9.4.   veličina i struktura guma: radijalne ili dijagonalne (2)

9.5.   razmak kotača na svakoj osovini: …

10.   Međuosovinski razmak: …

11.   Uvjeti ispitivanja:

11.1.   masa vozila na ispitivanju:

Osovina br.

Opterećenje (kg)

 

 

Ukupno:

 

11.2.   opterećenje na spojki sedla tegljača ili središnje osovine prikolice: …

11.3.   koeficijent punjenja probnog tereta (% popunjenost cisterne): …

11.4.   probni teret (voda itd.): …

12.   Datum upućivanja vozila na homologaciju: …

13.   Tehnička služba odgovorna za provođenje homologacijskih ispitivanja: …

14.   Datum izvješća o ispitivanju koje je izdala tehnička služba: …

15.   Broj izvješća o ispitivanju koje je izdala tehnička služba: …

16.   Pomični ispitni stol/metoda izračuna (2)

17.   Homologacija izdana/odbijena/proširena/povučena (2):

18.   Položaj homologacijske oznake na vozilu: …

19.   Mjesto: …

20.   Datum: …

21.   Potpis: …

22.   Popis dokumenata pohranjenih kod administrativnog tijela koje je izdalo homologaciju priložen je ovoj izjavi i može se dobiti na zahtjev.


(1)  Razlikovni broj države koja je izdala/proširila/odbila/povukla homologaciju (vidjeti odredbe o homologaciji u Pravilniku).

(2)  Prekrižiti nepotrebno.

(3)  Navesti u slučaju da vozilo ima uređaj za reguliranje visine.


PRILOG 2.

Postavljanje homologacijske oznake

PRIMJER A

(vidjeti stavak 4.5. ovog Pravilnika)

Image

Gornja homologacijska oznaka postavljena na vozilo pokazuje da je vozilo navedenog tipa, što se tiče stabilnosti protiv prevrtanja, homologirano u Nizozemskoj (E4) sukladno Pravilniku br. III. Prve dvije znamenke homologacijskog broja pokazuju da je na dan dodjeljivanja homologacije Pravilnik br. III. bio u svojem izvornom obliku.

PRIMJER B

(vidjeti stavak 4.6. ovog Pravilnika)

Image

Gornja homologacijska oznaka postavljena na vozilo pokazuje da je vozilo navedenog tipa homologirano u Nizozemskoj (E4) sukladno Pravilniku br. III. i br. 24 (1). (U slučaju drugog Pravilnika dodatni simbol iza broja Pravilnika pokazuje da je korigirani koeficijent apsorpcije 1,30 m-1). Prva dva homologacijska broja znače da je na dan kada su navedene homologacije izdane, Pravilnik br. III. bio u svojem izvornom obliku, a Pravilnik br. 24 je obuhvaćao niz izmjena 03.


(1)  Drugi broj je dan samo za primjer.


PRILOG 3.

Postupak ispitivanja na pokretnom ispitnom stolu

1.   DEFINICIJE

Za potrebe ovog ispitivanja:

„prag prevrtanja” znači trenutak kada svi kotači na jednoj strani vozila izgube kontakt s površinom pokretnog ispitnog stola.

2.   OPĆI UVJETI

2.1.   Pokretni ispitni stol

Koristi se čvrsta površina. Za vrijeme ispitivanja gume se mogu naslanjati na sigurnosni blok ili stubu kako bi se spriječilo bočno klizanje pod uvjetom da sigurnosni blok ne utječe na rezultat ispitivanja.

2.2.   Brzina vjetra

Ako je pokretni ispitni stol na otvorenom prostoru brzina bočnog vjetra ne smije prelaziti 3 m/s, a ukupna brzina vjetra ne smije prelaziti 5 m/s.

2.3.   Gume

Gume vozila koje se ispituje pri punom utovaru napuhane su do pritiska koji je odredio proizvođač. Odstupanje pritiska u gumama u hladnom stanju iznosi ± 2 %.

2.4.   Funkcionalni dijelovi

2.4.1.   Proizvođač također određuje sve funkcionalne dijelove koji mogu utjecati na rezultate ispitivanja (npr. stanje i namještenost opruga i ostalih dijelova ovjesa i geometrija ovjesa).

2.4.2.   Sustavi za namještanje visine moraju se isključiti (držati pri statičnim vrijednostima) za vrijeme naginjanja kako bi se izbjeglo napuhavanje i ispuhavanje elemenata ovjesa. Sustavi bočne kompenzacije (desno i lijevo) također se isključuju. Ne isključuju se jedino sustavi s vremenom reakcije kraćim od jedne sekunde.

3.   TOČNOST MJERENJA

3.1.   Kut pokretnog ispitnog stola mjeri se točnošću većom od 0,3°.

4.   VOZILA BEZ VLASTITOG POGONA

4.1.   Prikolice sa središnjom osovinom mogu se ispitivati spajanjem na motorno vozilo. Može se koristiti svako motorno vozilo, vozilo sa zamjenskim motorom ili njegov ekvivalent s odgovarajućim sustavom spajanja i visinom budući da to ne utječe na rezultat.

4.2.   Poluprikolice se podvrgavaju ispitivanju priključene na traktor ili njegov nadomjestak. Traktor/nadomjestak utječu na rezultate i zbog toga se koristi referentni traktor/nadomjestak.

5.   UVJETI UTOVARA VOZILA

Standardno ispitivanje se odvija u uvjetima potpune opterećenosti vozila što znači da je cisterna napunjena do svoje najveće mase, ne prelazeći najveću dopuštenu masu niti najveće dopušteno osovinsko opterećenje.

Ako se teret koji cisterna prevozi ocjenjuje opasnim može se zamijeniti vodom ili drugim neškodljivim teretom. Ako se standardni uvjeti ispitivanja, a) potpuno opterećenje ili b) najveća masa ne mogu postići, postupa se na sljedeći način:

a)

prihvatljiv je koeficijent punjenja cisterne između 100 % i 70 %. Ako pri najmanjem koeficijentu punjenja od 70 % ukupna masa i/ili osovinsko opterećenje prelaze najveću dopuštenu masu i najveće dopušteno osovinsko opterećenje koristi se ispitni teret manje gustoće.

Raspodjela mase cisterne po osovinama (uključujući ispitni teret) razmjerna je raspodjeli u uvjetima punog opterećenja.

Kod cisterni s odjeljcima potrebno je raspodijeliti teret tako da je visina težišta na svakoj osovini ili skupini osovina što bliže stvarnoj visini težišta;

b)

proizvođač (1) utvrđuje metodu izračuna kojom se određuje novi kut najvećeg nagiba pomičnog ispitnog stola za ispitivanje lakšeg probnog tereta.

6.   SIGURNOST

Vozilo je potrebno učvrstiti kako bi se izbjeglo njegovo potpuno prevrtanje, koristeći pritom metode koje ne utječu na ishod ispitivanja.

7.   POSTUPAK ISPITIVANJA

Ovaj postupak sastoji se od postupnog polaganog povećavanja nagiba na pokretnom ispitnom stolu sve do postizanja najvećeg propisanog kuta ili praga prevrtanja. Pri ispitivanju svi se elementi vozila moraju naći usporedno s osovinom pokretnog ispitnog stola tako da se središte svake osovine ne udalji više od 25 mm od uzdužne osi stola.

Sve upravljive osovine vozila moraju biti blokirane kako bi se onemogućio pokret osovine u stranu i/ili skretanje kotača u smjeru upravljanja. Vozilo također mora biti učvršćeno na prednjoj i stražnjoj strani kako bi se spriječilo njegovo pokretanje prema naprijed ili prema natrag, pod uvjetom da metoda učvršćivanja ne utječe na ishod ispitivanja.

Vozilo se nagiba vrlo polagano, najviše 0,25°/s ili manje.

Vozilo se postupno naginje po tri puta u desno i u lijevo u odnosu na uzdužnu središnju liniju vozila. Zbog utjecaja trenja u sustavu ovjesa i spajanja, u razmaku između dva ispitivanja potrebno je vozilo odstraniti sa stola i provoziti kako bi se neutralizirao utjecaj trenja i histereze.


(1)  Proizvođač osnovnog vozila ili izvođač završnog sklapanja cisterne.


PRILOG 4.

Izračun bočne stabilnosti

1.   UVOD

Bočna stabilnost cisterni izračunava se simulacijom ispitivanja na kružnoj pisti u stabilnim uvjetima ispitivanja (stalni promjer, stalna brzina i zbog toga stalno bočno ubrzavanje). Metoda izračuna uzima u obzir glavne faktore koji utječu na stabilnost kao što su visina središta težišta, razmak kotača na svakoj osovini i svi faktori koji rezultiraju bočnom promjenom težišta (otpor osovina i ovjesa na valjanje itd.).

U slučaju poluprikolice djelovanje vučnog vozila simulira se pomoću referentnog otpora na valjanje na vučnom svornjaku:

Metoda izračuna temelji se na sljedećim načelima:

1.   središte valjanja osovine je u razini zemlje;

2.   smatra se da je struktura vozila čvrsta;

3.   vozilo je simetrično u odnosu na središnju os;

4.   deformacije guma i ovjesa su linearne;

5.   bočni otklon ovjesa jednak je nuli.

2.   DEFINICIJE

Za potrebe ovog izračuna:

„tandem” znači skupina osovina sa sustavom rasporeda tereta koji istodobno na svim kotačima jedne strane može primijeniti teret jednak nuli.

3.   SIMBOLI (vidjeti također 1.)

i

(-)

=

indeks osovine/tandema

(i = 1 - n, od prednje strane do – osovine/tandema;

i = T, sve osovine/tandemi;

i = M, osovina/tandem s najvećim otporom na valjanje; i

samo za poluprikolice i = K, vučni svornjak)

mi

(m)

=

nominalna visina središta valjanja ovjesa

Ai

(kN)

=

teret na osovini ili tandemu

CDGi

(kNm/rad)

=

otpor ovjesa na valjanje koji se odnosi na središte valjanja osovine

CDGMi

(KnM/rad)

=

otpor na valjanje jednak ovjesu na razini zemlje

CCri

(kNm/rad)

=

otpor osovine ili tandema pri valjanju

CDRESi

(KnM/rad)

=

kombinirani otpor ovjesa pri valjanju na razini zemlje

FRVi

(kN/m)

=

okomita fleksibilnost svake osovine ili tandema (uključujući dvostruki efekt udvojenih guma)

Ui

(kN)

=

težina nepoduprta oprugama

TNi

(m)

=

nominalni razmak središta kotača na istoj osovini

Ti

(m)

=

teoretski razmak središta kotača na istoj osovini za osovine ili tandem s udvojenim gumama

FE

(‒)

=

faktor efikasne mase osovine ili tandema s najvećim otporom

HG

(m)

=

visina središta težišta cijelog vozila

HN

(m)

=

visina središta težišta mase nepoduprte oprugama

MA

(m)

=

širina udvojenih guma

qc

g

=

ispravljeno bočno ubrzanje kod prevrtanja

qM

g

=

bočno ubrzanje pri podizanju prvog kotača

qT

g

=

najveće optimalno bočno ubrzanje pri prevrtanju

g

(m/s2)

=

ubrzanje zbog gravitacije;

 

 

 

g = 9,81 m/s2

θi

(rad)

=

pseudokut valjanja vozila pri podizanju kotača

β

(deg)

=

ekvivalent kuta pokretnog ispitnog stola

Image

4.   OPĆI UVJETI

Sustavi za izjednačavanje visine ne uzimaju se u obzir (zadržavaju se pri nepromijenjenim vrijednostima).

5.   PRIKOLICE

5.1.   Ako je prikolica samostalna prikolica ili prikolica sa središnjom osovinom, izračun ne mora voditi računa o utjecaju spajanja s vučnim vozilom.

5.2.   Ako je prikolica poluprikolica, ponašanje vučnog vozila simulira se referentnim otporom vučnog svornjaka na valjanje, što predstavlja otpor valjanju na razini zemlje zbog utjecaja ovjesa traktora, guma, šasije i fleksibilnosti sedla.

6.   STANJE OPTEREĆENOSTI VOZILA

Za potrebe ispitivanja vozilo mora biti u stanju najveće opterećenosti odnosno cisterna mora biti do kraja napunjena, a ne smije prelaziti najveću dozvoljenu masu i najveće dopušteno opterećenje kotača.

7.   METODA IZRAČUNA

Izračun kombiniranog otpora na valjanje i pseudokuta valjanja vozila pri podizanju svake osovine ili tandema pomoću formula:

7.1.1.   osovine/tandemi s jednostrukim gumama

otpor osovine/tandema na valjanje:

Formula

otpor na valjanje ekvivalentan ovjesu koji se odnosi na razinu zemlje:

Formula

kombinirani otpor na valjanje koji simulira bočni prijenos težišta:

Formula

pseudokut valjanja vozila pri podizanju kotača:

Formula

7.1.2.   osovine/tandemi s udvojenim gumama:

teoretski razmak kotača na istoj osovini pri udvojenim gumama:

Formula

otpor na valjanje osovine/tandema:

Formula

otpor na valjanje ekvivalentan ovjesu koji se odnosi na razinu zemlje:

Formula

kombinirani otpor na valjanje koji simulira bočni prijenos težišta:

Formula

pseudo kut valjanja vozila pri podizanju kotača:

Formula

7.2.   U slučaju poluprikolica učinci vučnog svornjaka izračunavaju se pomoću sljedećih formula:

širina kotača:

Formula

otpornost na valjanje:

Formula

7.3.   Nakon izračuna kombinirane otpornosti na valjanje i pseudo kuta valjanja vozila za svaku osovinu ili tandem, određuju se ukupni parametri vozila:

ukupna težina vozila (1):

Formula

ukupna težina nepoduprta oprugama:

Formula

efektivni razmak kotača (1):

Formula

ukupan otpor na valjanje (1):

Formula

7.4.   Izabrati osovinu ili tandem s najnižom vrijednosti odnosno onaj na kojem će najprije doći do podizanja kotača. Kako bismo razlikovali navedenu osovinu ili tandem od drugih, pripisujemo im sljedeće simbole:

AM

=

osovinska težina osovine/tandema s najnižim

UM

=

neovješena težina osovine/tandema s najnižim

TM

=

razmak kotača na istoj osovini/tandemu s najnižim

CDRESM

=

otpornost na valjanje osovine/tandema s najnižim

Izračun bočne stabilnosti

7.5.1.   Efektivni faktor mase najotpornije osovine/tandema FE:

Formula

7.5.2.   Bočno ubrzanje pri podizanju prvog kotača qM:

Formula

7.5.3.   Najveće optimalno teoretsko bočno ubrzanje pri prevrtanju qT:

Formula

7.5.4.   Linearnom interpolacijom između bočnog ubrzanja pri podizanju prvog kotača i najvećeg teoretskog bočnog ubrzanja dobivamo bočno ubrzanje u korelaciji s točkom prevrtanja qc:

Formula


(1)  Drugi dio formule koristi se samo za poluprikolice.

DODATAK

Izvješće o izračunu

1.   Trgovački naziv ili marka vozila: …

2.   Tip vozila: …

3.   Proizvođač: …

4.   Visina težišta mase poduprte oprugama: …

5.   Težina svih osovina nepoduprtih oprugama: …

6.   Nominalna visina središta valjanja ovjesa svih osovina: …

7.   Otpornost svih osovina na valjanje: …

8.   Vertikalna fleksibilnost guma (uključujući dvostruki efekt udvojenih guma): …

9.   Pri udvojenim gumama, širina udvojenih guma: …

10.   Rezultat izračuna, qc = …

11.   Tehnički servis koji je napravio izračun …

12.   Datum: …

13.   Potpis: …


11/Sv. 059

HR

Službeni list Europske unije

19


42004X0331(04)


L 095/46

SLUŽBENI LIST EUROPSKE UNIJE

27.11.1997.


Pravilnik br. 71 Gospodarske komisije Ujedinjenih naroda za Europu (UN/ECE) — Jedinstvene odredbe o homologaciji poljoprivrednih traktora s obzirom na vidno polje vozača (1)

1.   PODRUČJE PRIMJENE

Ovaj Pravilnik primjenjuje se na 180° prednjeg vidnog polja vozača poljoprivrednih traktora.

2.   DEFINICIJE

2.1.   Za potrebe ovog Pravilnika „poljoprivredni traktor” znači svako motorno vozilo opremljeno kotačima ili gusjenicama, koje ima najmanje dvije osovine, čija je glavna funkcija vučna snaga i koje je posebno konstruirano da vuče, gura, nosi ili pokreće određena oruđa, strojeve ili prikolice za uporabu u poljoprivredi ili šumarstvu. Ono može biti opremljeno za prijevoz tereta i putnika;

2.2.   „Homologacija traktora” znači homologacija tipa traktora koja se odnosi na vidno polje određeno u stavku 2.4.;

2.3.   „Tip traktora” znači kategorija traktora koji se međusobno ne razlikuju po bitnim značajkama kao što su:

2.3.1.   vanjski i unutarnji oblici i dodaci unutar područja propisanog u stavku 1.1., a koji mogu utjecati na vidljivost;

2.3.2.   oblik i veličina vjetrobranskog stakla i bočnih prozora smještenih u području propisanom u stavku 1.1.

2.4.   „Vidno polje” znači svi prednji i bočni smjerovi u kojima vozač traktora može vidjeti;

2.5.   „Referentna točka” znači točka smještena u ravnini paralelnoj sa središnjom uzdužnom ravninom traktora koja prolazi kroz sredinu sjedala, na 700 mm okomito nad linijom sjecišta te ravnine i površine sjedala te je udaljena u smjeru zdjelične potpore 270 mm od okomite ravnine koja prolazi prednjim rubom površine sjedala, i pravokutna je na središnju uzdužnu ravninu traktora (vidjeti sliku 1.); na taj način određena referentna točka primjenjuje se na prazno sjedalo namješteno u srednji položaj kako ga propisuje proizvođač traktora;

2.6.   „Polukrug vidnog polja” znači polukrug kojeg luk polumjera 12 m opisuje oko točke smještene na vodoravnoj ravnini ceste okomito ispod referentne točke, tako da se luk, gledan iz smjera u kojem se vozilo kreće, nalazi ispred traktora i da promjer koji omeđuje polukrug tvori pravi kut s uzdužnom osi traktora (vidjeti sliku 2.);

2.7.   „Učinak zakrivanja” znači tetive na dijelovima polukruga vidnog polja koje nije moguće vidjeti zbog dijelova konstrukcije kao što su krovni nosači, usisnici zraka, ispušne cijevi, okviri vjetrobranskog stakla, zaštitni okviri;

2.8.   „Odsječak vidnog polja” je onaj dio vidnog polja koji je omeđen:

2.8.1.   dozgo s vodoravnom ravninom koja prolazi kroz referentnu točku;

2.8.2.   na ravnini ceste s područjem smještenim izvan polukruga vidnog polja koje proširuje područje polukruga vidnog polja, čija je tetiva dugačka 9,5 m i pravokutna na ravninu, usporedno sa središnjom uzdužnom ravninom traktora koja prolazi kroz sredinu vozačevog sjedala;

2.9.   „Područje rada brisača vjetrobranskog stakla” znači vanjska površina vjetrobranskog stakla koju brišu brisači vjetrobranskog stakla.

3.   ZAHTJEV ZA HOMOLOGACIJU

3.1.   Zahtjev za homologaciju traktora koja se odnosi na vidno polje vozača podnosi proizvođač traktora ili njegov propisno ovlašteni predstavnik.

3.2.   Zahtjevu moraju biti priloženi dolje navedeni dokumenti u tri primjerka uključujući sljedeće pojedinosti:

3.2.1.   opis traktora s obzirom na točke prethodno navedene u gornjem stavku 2.3., zajedno s crtežima s dimenzijama i veličinom guma koju propisuje proizvođač i fotografijom ili prostornim prikazom vozačke kabine; brojevi i/ili simboli za identifikaciju tipa traktora moraju se naznačiti;

3.2.2.   pojedinosti o položaju referentne točke u odnosu na svaku zapreku vidnog polja vozača kako bi posebno omogućile izračun učinaka zakrivanja, u skladu s formulom iz stavka 5.2.2.2.

3.3.   Ogledni traktor tipa traktora za homologaciju mora se dostaviti tehničkoj službi odgovornoj za provođenje homologacijskih ispitivanja.

4.   HOMOLOGACIJA

4.1.   Ako tip traktora podnesen za homologaciju u skladu s ovom Uredbom ispunjava zahtjevima dolje navedenog stavka 5., homologacija tog tipa traktora se izdaje.

4.2.   Svakom homologiranom tipu dodjeljuje se homologacijski broj. Njegove prve dvije znamenke (trenutačno 00 za Pravilnik u njegovom izvornom obliku) označavaju niz izmjena koje uključuju najnovije glavne tehničke izmjene Pravilnika u trenutku izdavanja homologacije. Ista ugovorna stranka ne smije dodijeliti isti broj drugom tipu traktora, kako je određeno u gore navedenom stavku 2.3.

4.3.   Obavijest o homologaciji, odbijanju, proširenju ili povlačenju homologacije ili o konačnoj obustavi proizvodnje tipa traktora u skladu s ovim Pravilnikom dostavlja se strankama Sporazuma koje primjenjuju ovaj Pravilnik u obliku obrasca u skladu s uzorkom u Prilogu 1. ovom Pravilniku.

4.4.   Svaki traktor sukladan s homologiranim tipom u skladu s ovim Pravilnikom na jasno vidljivom i dostupnom mjestu, koje je propisano u homologacijskom obrascu, mora imati homologacijsku oznaku koja se sastoji od:

4.4.1.   kruga oko slova „E” iza kojeg slijedi razlikovni broj države koja je izdala homologaciju (2);

4.4.2.   broj ovog Pravilnika, iza kojeg slijedi slovo „R”, crtica i homologacijski broj zdesna krugu opisanom u stavku 4.4.1.

4.5.   Ako je traktor sukladan homologiranom tipu traktora prema jednom ili više Pravilnika koji su priložni Sporazumu u državi koja je izdala homologaciju prema ovom Pravilniku, propisani simbol iz stavka 4.4.1. nije potrebno ponavljati; u tom slučaju broj Pravilnika, homologacijski brojevi i dodatni simboli svih pravilnika prema kojima je homologacija izdana u predmetnoj državi u skladu s ovim Pravilnikom moraju biti ispisani u uspravnim stupcima s desne strane simbola propisanog u stavku 4.4.1.

4.6.   Homologacijska oznaka mora biti jasno čitljiva i neizbrisiva.

4.7.   Homologacijska oznaka mora se istaknuti pored ili na tablici s podacima o traktoru koju pričvršćuje proizvođač.

4.8.   U Prilogu 2. ovom Pravilniku nalaze se primjeri za postavljanje homologacijskih oznaka.

5.   SPECIFIKACIJA

5.1.   Općenito

5.1.1.   Traktor mora biti konstruiran i opremljen tako da, u cestovnom prometu i kada se koristi za poljoprivredu i šumarstvo, vozač ima odgovarajuće vidno polje u svim uobičajenim uvjetima cestovnog prometa i radova na polju i u šumi. Vidno polje smatra se odgovarajućim kada vozač, kada je to moguće, može vidjeti dio svakog prednjeg kotača i kada su ispunjeni sljedeći zahtjevi.

5.2.   Provjera vidnog polja

5.2.1.   Postupak utvrđivanja učinaka zakrivanja.

5.2.1.1.   Traktor se mora postaviti na vodoravnu površinu, kao što je prikazano na slici 2. Na vodoravnoj potpornoj ravnini s referentnom točkom, moraju se postaviti dva točkasta izvora svjetlosti, na primjer, 2 × 150 W, 12 V, udaljena 65 mm jedan od drugog i simetrično postavljena u odnosu na referentnu točku. Potpora se mora moći okretati u svojoj središnjoj točki oko okomite osi koja prolazi kroz referentnu točku. U svrhu mjerenja učinaka zakrivanja, potpora mora biti poravnata tako da linija koja spaja dva izvora svjetlosti tvori pravi kut s linijom koja povezuje zakrivajući sastavni dio i referentnu točku. Na opremu guma moraju se pričvrstiti najnepovoljniji dodaci. Preklapanje siluete (najdublje sjene) koju na polukrug vidnog polja projiciraju zakrivajući sastavni dijelovi, kada su izvori svjetlosti upaljeni istodobno ili naizmjenično, moraju se izmjeriti u skladu sa stavkom 2.7. (slika 3.).

5.2.1.2.   Nijedan učinak zakrivanja ne smije prelaziti 700 mm.

5.2.1.3.   Učinci zakrivanja koji nastaju zbog susjednih dijelova konstrukcije koji su širi od 80 mm moraju se rasporediti u intervalima od najmanje 2 200 mm izmjerenih na tetivi polukruga vidnog polja između središta dvaju učinaka zakrivanja.

5.2.1.4.   U cijelom polukrugu vidnog polja ne smije biti više od šest zakrivajućih učinaka, a u odsječku vidnog polja određenog u stavku 2.8. ne smije ih biti više od dva.

5.2.1.5.   Učinci zakrivanja veći od 700 mm, ali manji od 1 500 mm, dopušteni su, ako sastavne dijelove koji ih uzrokuju nije moguće preoblikovati ili premjestiti. Izvan odsječka vidnog polja sa svake strane može biti ukupno:

5.2.1.5.1.   dva takva učinka zakrivanja od kojih jedan ne prelazi 700 mm, a drugi ne prelazi 1 500 mm, ili

5.2.1.5.2.   dva takva učinka zakrivanja od kojih ni jedan ne prelazi 1 200 mm.

5.2.1.6.   Slijepe točke u vidnom polju uzrokovane retrovizorima homologiranog modela ne uzimaju se u obzir ako se oni ne mogu namjestiti drukčije.

5.2.2.   Matematičko određivanje učinaka zakrivanja za binokularni pogled.

5.2.2.1.   Umjesto postupka provjere iz stavka 5.2.1. prihvatljivost učinaka zakrivanja moguće je provjeriti matematički. Područje djelovanja, raspored i broj učinaka zakrivanja određeni su u stavcima 5.2.1.3. i 5.2.1.6.

5.2.2.2.   Na temelju binokularnog pogleda i udaljenosti između očiju od 65 mm, učinak zakrivanja, izražen u mm, može se izračunati formulom

Formula

gdje je:

a

=

udaljenost, izražena u milimetrima, između sastavnog dijela koji ometa pogled i referentne točke, izmjerena uzduž linije pogleda koja povezuje referentnu točku, središte sastavnog dijela i obod polukruga vidnog polja;

b

=

širina, izražena u milimetrima, sastavnog dijela koji ometa pogled, izmjerena vodoravno i pod pravim kutom u odnosu na liniju pogleda.

5.3.   Postupci provjere određeni u stavku 5.2. mogu se zamijeniti drugim postupcima, uz uvjet da se potonji pokažu jednako valjanima.

5.4.   Učinak zakrivanja okvira vjetrobranskog stakla

Pri određivanju učinaka zakrivanja u području vidnog polja, učinak zakrivanja kojeg uzrokuje okvir vjetrobranskog stakla i učinak zakrivanja kojeg uzrokuje neka druga prepreka mogu se, za potrebe stavka 5.2.1.4., smatrati jednim učinkom zakrivanja, uz uvjet da udaljenost između najisturenijih točaka tih učinaka zakrivanja ne prelazi 700 mm.

5.5.   Brisač vjetrobranskog stakla

5.5.1.   Ako je traktor opremljen vjetrobranskim staklom, mora također biti opremljen i s jednim ili više brisača na motorni pogon. Njihovo područje rada mora osigurati jasan pogled prema naprijed koji odgovara jednoj tetivi polukruga vidnog polja, koja ne smije biti manja od 8 m unutar odsječka vidnog polja.

5.5.2.   Brzina rada brisača vjetrobranskog stakla mora biti najmanje 20 ciklusa u minuti.

6.   PREINAKE TIPA TRAKTORA I PROŠIRENJE HOMOLOGACIJE

6.1.   O svakoj preinaci tipa traktora mora se obavijestiti nadležno administrativno tijelo koje je homologiralo tip traktora. Tijelo tada može:

6.1.1.   smatrati da napravljene preinake bitno ne utječu nepovoljno i da takav traktor i dalje ispunjava zahtjeve; ili

6.1.2.   zahtijevati daljnje izvješće o ispitivanju od tehničke službe odgovorne za provođenje ispitivanja.

6.2.   Potvrđivanje ili odbijanje homologacije, uz detaljno navođenje preinaka, obavješćuje se postupkom utvrđenim u gore navedenom stavku 4.3. ugovorne stranke Sporazuma koje primjenjuju ovaj Pravilnik.

6.3.   Nadležno tijelo koje izdaje proširenje homologacije dodjeljuje serijski broj svakom obrascu s izjavom sastavljenom za to proširenje.

7.   SUKLADNOST PROIZVODNJE

7.1.   Svaki traktor koji ima homologacijsku oznaku propisanu ovim Pravilnikom, mora biti sukladan homologiranom tipu traktora i mora ispunjavati zahtjeve iz gore navedenog stavka 5.

7.2.   U svrhu provjere sukladnosti propisane gore navedenim stavkom 7.1., nužno je provesti dovoljan broj nasumičnih provjera na serijski proizvedenim traktorima koji imaju homologacijsku oznaku u skladu s ovim Pravilnikom.

8.   KAZNE U SLUČAJU NESUKLADNOSTI PROIZVODNJE

8.1.   Homologacija izdana s obzirom na tip traktora u skladu s ovim Pravilnikom, može se povući ako nisu ispunjeni zahtjevi propisani stavkom 7.1. ili ako traktor ne zadovolji provjere propisane gore navedenim stavkom 7.

8.2.   Ako jedna od ugovornih stranaka koja primjenjuju ovaj Pravilnik povuče prethodno izdanu homologaciju, o tome je dužna obavijestiti ugovorne stranke koje primjenjuju ovaj Pravilnik, u obliku primjerka homologacijskog obrasca u kojem se na dnu stranice tiskanim slovima nalazi potpisana i datirana napomena „HOMOLOGACIJA POVUČENA”.

9.   KONAČNA OBUSTAVA PROIZVODNJE

Ako nositelj homologacije u potpunosti obustavi proizvodnju tipa traktora homologiranog u skladu s ovim Pravilnikom, o tome je dužan obavijestiti tijelo koje je izdalo homologaciju. Po primitku odgovarajuće obavijesti to je tijelo o istome dužno obavijestiti druge stranke Sporazuma koje primjenjuju ovaj Pravilnik, u obliku primjerka homologacijskog obrasca u kojem se na dnu stranice tiskanim slovima nalazi potpisana i datirana napomena „OBUSTAVA PROIZVODNJE”.

10.   NAZIVI I ADRESE TEHNIČKIH SLUŽBA ODGOVORNIH ZA PROVEDBU HOMOLOGACIJSKIH ISPITIVANJA I NADLEŽNIH ADMINISTRATIVNIH TIJELA

Ugovorne stranke koje primjenjuju ovaj Pravilnik dužne su obavijestiti tajništvo Ujedinjenih naroda o nazivima i adresama tehničkih služba odgovornih za provedbu homologacijskih ispitivanja i nadležnih administrativnih tijela koja izdaju homologaciju i kojima se šalju obrasci o potvrdi, odbijanju ili proširenju homologacije, koje izdaju druge države.

Image

Image

Image


(1)  Objavljivanje u skladu s člankom 4. stavkom 5. Odluke Vijeća 97/836/EZ od 27. studenoga 1997. (SL L 346, 17.12.1997., str. 78.).

(2)  Jedan za Saveznu Republiku Njemačku, 2 za Francusku, 3 za Italiju, 4 za Nizozemsku, 5 za Švedsku, 6 za Belgiju, 7 za Mađarsku, 8 za Čehoslovačku, 9 za Španjolsku, 10 za Jugoslaviju, 11 za Ujedinjenu Kraljevinu, 12 za Austriju, 13 za Luksemburg, 14 za Švicarsku, 15 za Demokratsku Republiku Njemačku, 16 za Norvešku, 17 za Finsku, 18 za Dansku, 19 za Rumunjsku, 20 za Poljsku, 21 za Portugal i 22 za SSSR. Sljedeći brojevi drugim se zemljama dodjeljuju kronološkim redom ratifikacije ili pristupanja Sporazumu, koji se tiče usvajanja jedinstvenih uvjeta homologacije i uzajamnog priznavanja homologacije za opremu i dijelove motornih vozila. Glavni tajnik Ujedinjenih naroda o tim brojevima obavješćuje ugovorne stranke Sporazuma.


PRILOG 1.

(Najveći format: A4 (210 × 297 mm))

Image

 (1)

Izjava koja se odnosi na:

homologaciju

odbijanje homologacije

proširenje homologacije

povlačenje homologacije

konačnu obustavu proizvodnje (2)

za tip traktora u odnosu na vidno polje vozača na temelju Pravilnika br. 71

Homologacijski br. … Proširenje br. …

1.   Trgovački naziv ili oznaka traktora: …

2.   Tip traktora: …

3.   Ime i adresa proizvođača: …

4.   Prema potrebi, ime i adresa predstavnika proizvođača: …

5.   Kratki opis traktora: …

6.   Najnepovoljniji položaj opreme guma za pogled prema naprijed (sprijeda, straga): …

7.   Traktor podnesen za homologaciju dana: …

8.   Tehnička služba odgovorna za provedbu homologacijskih ispitivanja: …

9.   Datum izvješća kojeg izdaje ta služba: …

10.   Broj izvješća kojeg izdaje ta služba: …

11.   Homologacija odobrena/odbijena/proširena/povučena (2)

12.   Razlog (razlozi) za proširenje (prema potrebi): …

13.   Položaj homologacijske oznake na traktoru: …

14.   Mjesto: …

15.   Datum: …

16.   Potpis: …

17.   U prilogu ovoj izjavi nalaze se sljedeći dokumenti koji imaju homologacijski broj prikazan gore:

crteži s dimenzijama;

prostorni prikaz ili fotografija putničke kabine.


(1)  Naziv tijela.

(2)  Prekrižiti nepotrebno.


PRILOG 2.

POSTAVLJANJE HOMOLOGACIJSKIH OZNAKA

Uzorak A

(vidjeti stavak 4.4. ovog Pravilnika)

Image

Gore prikazana homologacijska oznaka pričvršćena na traktor pokazuje da je predmetni tip traktora, s obzirom na vidno polje vozača, homologiran u Nizozemskoj (E 4), u skladu s Pravilnikom br. 71 pod homologacijskim brojem 002439. Prve dvije znamenke homologacijskog broja pokazuju da je homologacija izdana u skladu sa zahtjevima Pravilnika br. 71 u njegovom izvornom obliku.

Uzorak B

(vidjeti stavak 4.5. ovog Pravilnika)

Image

Gore prikazana homologacijska oznaka pričvršćena na traktor pokazuje da je premetni tip traktora homologiran u Nizozemskoj (E 4) u skladu s Pravilnicima br. 71 i 33 (1). Prve dvije znamenke homologacijskih brojeva pokazuju da, u vrijeme kada su se predmetne homologacije izdale, Pravilnik br. 71 nije bio izmijenjen i da je Pravilnik br. 33 već uključivao niz izmjena 01.


(1)  Posljednji broj služi samo za primjer.


11/Sv. 059

HR

Službeni list Europske unije

29


42004X0331(07)


L 095/89

SLUŽBENI LIST EUROPSKE UNIJE

27.11.1997.


Pravilnik br. 101 Gospodarske komisije Ujedinjenih naroda za Europu (UN/ECE) – Jedinstvene odredbe o homologaciji osobnih automobila opremljenih motorima s unutarnjim izgaranjem s obzirom na mjerenje emisije ugljičnog dioksida i potrošnje goriva te vozila kategorija M1 i N1 s elektropogonom s obzirom na mjerenje potrošnje električne energije i autonomiju kretanja (1)

1.   PODRUČJE PRIMJENE

Ovaj Pravilnik primjenjuje se na mjerenje emisije ugljičnog dioksida (CO2) i potrošnje goriva svih motornih vozila kategorije M1, ili na mjerenje potrošnje električne energije i autonomije kretanja vozila kategorija M1 i N1  (2).

2.   DEFINICIJE

Za potrebe ovog Pravilnika,

2.1.   „Homologacija vozila” znači homologacija tipa vozila s obzirom na mjerenje potrošnje energije (goriva ili električne energije).

2.2.   „Tip vozila” znači kategorija motornih vozila koja se bitno ne razlikuju s obzirom na nadogradnju, pogon, prijenos, pogonski akumulator (ako se primjenjuje), gume i neopterećenu masu.

2.3.   „Neopterećena masa” znači masa vozila u voznom stanju bez posade, putnika ili tereta, ali s napunjenim spremnikom goriva (ako postoji), rashladnom tekućinom, pogonskim i pomoćnim akumulatorima, uljima, punjačom u vozilu, prijenosnim punjačom, alatom i rezervnim kotačem, već prema tomu što se odnosi na određeno vozilo i ako to isporučuje proizvođač vozila

2.4.   „Referentna masa” znači neopterećena masa vozila uvećana za jedinstvenu brojku od 100 kg.

2.5.   „Najveća masa” znači tehnički dopuštena najveća masa prema izjavi proizvođača (ta masa može biti veća od najveće mase koju je odobrilo nacionalno tijelo).

2.6.   „Ispitna masa” za vozila isključivo s elektropogonom znači „referentna masa” vozila kategorije M1 i neopterećena masa uvećana za polovicu tereta vozila kategorije N1.

2.7.   „Uređaj za pokretanje hladnog motora” znači uređaj koji privremeno obogaćuje smjesu zraka i goriva motora, radi lakšeg pokretanja.

2.8.   „Pomoćni uređaj za pokretanje” znači uređaj koji pomaže pokretanje motora bez obogaćivanja smjese zraka i goriva, npr. žarna svjećica, promijenjeno vrijeme ubrizgavanja itd.

2.9.   „Elektromotorni dio” znači kombinacija elektromotora i upravljačke jedinice.

2.10.   „Elektropogon” znači kombinacija elektromotornog dijela i pogonskog akumulatora.

2.11.   „Sustav periodičkog obnavljanja” znači uređaj protiv onečišćenja (npr. katalitički pretvarač, odvajač čestica) koji zahtijeva sustav periodičkog obnavljanja u manje od 4 000 km uobičajenog rada vozila. Ako do obnavljanja uređaja protiv onečišćenja dolazi najmanje jedanput po ispitivanju tipa I te ako je do obnavljanja došlo najmanje jednom tijekom ciklusa pripreme vozila, on će se smatrati sustavom stalnog obnavljanja koji ne zahtijeva posebni postupak ispitivanja. Prilog 8. ne primjenjuje se na sustave stalnog obnavljanja.

Na zahtjev proizvođača postupak ispitivanja specifičan za sustave periodičkog obnavljanja ne primjenjuje se na uređaj za obnavljanje ako proizvođač dostavi homologacijskom tijelu podatke da tijekom ciklusa u kojima dolazi do obnavljanja emisija CO2 ne prelazi prijavljenu vrijednost za više od 4 posto nakon dogovora s tehničkom službom.

3.   ZAHTJEV ZA HOMOLOGACIJU

3.1.   Zahtjev za homologaciju tipa vozila s obzirom na mjerenje emisije ugljičnog dioksida i potrošnje goriva ili na mjerenje potrošnje električne energije podnosi proizvođač vozila ili njegov valjano ovlašteni predstavnik.

3.2.   Zahtjevu se prilažu dolje navedeni dokumenti u tri primjerka, uz navođenje sljedećih pojedinosti:

3.2.1.   opis tipa motora s unutarnjim izgaranjem ili tipa elektropogona koji sadrži sve pojedinosti navedene u Prilogu 1. ili Prilogu 2. Na zahtjev tehničke službe zadužene za ispitivanja ili proizvođača, dodatni tehnički podaci mogu se razmotriti za posebna vozila, s naročito ekonomičnom potrošnjom goriva;

3.2.2.   opis osnovnih značajki vozila, uključujući one korištene pri izradi Priloga 3.

3.3.   Vozilo, predstavnik tipa vozila koji se homologira, dostavlja se tehničkoj službi odgovornoj za provedbu homologacijskih ispitivanja. Tijekom ispitivanja tehnička služba provjerava zadovoljava li to vozilo, ako je opremljeno motorom s unutarnjim izgaranjem, granične vrijednosti primjenjive za taj tip, kako je opisano u Pravilniku br. 83.

3.4.   Nadležno tijelo provjerava postojanje zadovoljavajućih odredaba kako bi se osigurala učinkovita provjera sukladnosti proizvodnje prije izdavanja homologacije tipa vozila.

4.   HOMOLOGACIJA

4.1.   Ako su emisije CO2 i potrošnja goriva motora s unutarnjim izgaranjem ili potrošnja električne energije za tip vozila za koji je zatražena homologacija u skladu s ovim Pravilnikom izmjereni prema uvjetima navedenima u donjem stavku 5., izdaje se homologacija tog tipa vozila.

4.2.   Homologacijski se broj dodjeljuje za svaki homologirani tip. Njegove prve dvije znamenke (trenutačno 00 za ovaj Pravilnik u njegovom izvornom obliku) označavaju niz izmjena uvrštenih u najnovije značajne tehničke izmjene ovog Pravilnika u trenutku izdavanja homologacije. Ista ugovorna stranka ne smije dodijeliti isti broj nekom drugom tipu vozila.

4.3.   Obavijest o homologaciji ili proširenju ili odbijanju homologacije za tip vozila sukladno ovom Pravilniku dostavlja se strankama Sporazuma iz 1958. koje primjenjuju ovaj Pravilnik putem obrasca koji odgovara uzorku iz Priloga 3. ovom Pravilniku.

4.4.   Na svako vozilo koje odgovara tipu homologiranom u skladu s ovim Pravilnikom postavlja se, na uočljivo i lako dostupno mjesto utvrđeno na homologacijskom obrascu, međunarodna homologacijska oznaka koja se sastoji od:

4.4.1.   kruga oko slova „E” iza kojeg slijedi razlikovni broj zemlje koja je izdala homologaciju (3);

4.4.2.   broja ovog Pravilnika, iza kojega slijedi slovo „R”, crtica i homologacijski broj desno od kruga propisanog u stavku 4.4.1.

4.5.   Ako vozilo odgovara tipu vozila homologiranom na temelju jednog ili više drugih pravilnika priloženih tom Sporazumu u zemlji koja je izdala homologaciju na temelju ovog Pravilnika, simbol opisan u 4.4.1 nije potrebno ponavljati; u tom se slučaju broj Pravilnika i homologacije te dodatni simboli svih pravilnika na temelju kojih je homologacija izdana u zemlji koja je izdala homologaciju na temelju ovog Pravilnika navode u okomitim stupcima desno od simbola propisanog u stavku 4.4.1.

4.6.   Homologacijska oznaka mora biti jasno čitljiva i neizbrisiva.

4.7.   Homologacijska se oznaka postavlja blizu ili na pločicu s podacima vozila.

4.8.   U Prilogu 4. ovom Pravilniku navode se primjeri postavljanja homologacijskih oznaka.

5.   ZAHTJEVI I ISPITIVANJA

5.1.   Općenito

Sastavni dijelovi koji mogu utjecati na emisije CO2 i potrošnju goriva ili potrošnju električne energije tako su konstruirani, izrađeni i sastavljeni da u uobičajenoj uporabi omoguće vozilu da unatoč vibracijama kojima može biti izloženo zadovoljava odredbe ovog Pravilnika.

5.2.   Opis ispitivanja za motore s unutarnjim izgaranjem

5.2.1.   Emisije CO2 mjere se tijekom ciklusa ispitivanja uz simulaciju gradske i izvangradske vožnje kako je opisano u dodatku 1. Prilogu 4. Pravilniku br. 83 koji je na snazi u trenutku homologacije vozila.

5.2.2.   Rezultati ispitivanja moraju se iskazati kao emisije CO2 u gramima po kilometru (g/km) zaokruženo na najbliži cijeli broj.

5.2.3.   Potrošnje goriva izračunavaju se u skladu sa stavkom 1.5. Priloga 4. metodom balansiranja ugljika upotrebljavajući izmjerene emisije CO2 i druge emisije povezane s ugljikom (CO i HC). Rezultati se zaokružuju na prvu decimalu.

5.2.4.   Odgovarajuća referentna goriva prema definiciji iz Priloga 10. Pravilniku br. 83 moraju se upotrijebiti za ispitivanja.

Za ukapljeni naftni plin (LPG, Liquefied Petroleum Gas) i prirodni plin (NG, Natural Gas) mora se koristiti referentno gorivo koje je odabrao proizvođač za mjerenje neto snage u skladu s Pravilnikom br. 85. Izabrano gorivo mora se navesti u izjavi kako je određeno u Prilogu 3. ovom Pravilniku.

Za potrebe izračuna navedenog u stavku 5.2.3. potrošnja goriva iskazuje se u odgovarajućim jedinicama i upotrebljavaju se sljedeće značajke goriva:

(a)

gustoća: izmjerena u ispitnom gorivu u skladu s ISO 3675 ili istovjetnom metodom.

Za benzin i dizelsko gorivo koristi će se gustoća izmjerena na 15 °C; za LPG i prirodni plin koristiti se referenta gustoća kako slijedi:

0,538 kg/litra za LPG

0,654 kg/m3 za NG (4)

(b)

omjer vodika i ugljika: koristite se stalne vrijednosti, a one su:

 

1,85 za benzin

 

1,86 za dizelsko gorivo

 

2,525 za LPG

 

4,00 za NG

5.3.   Opis ispitivanja samo za vozila s električnim pogonom

5.3.1.   Tehnička služba zadužena za ispitivanja provodi mjerenje potrošnje električne energije u skladu s metodom i ciklusom ispitivanja opisanima u Prilogu 6. ovom Pravilniku.

5.3.2.   Tehnička služba zadužena za ispitivanja provodi mjerenje autonomije kretanja vozila prema metodi opisanoj u Prilogu 7.

Autonomija kretanja izmjerena tom metodom jedina je koja se može uvrstiti u prodajni promidžbeni materijal.

5.3.3.   Rezultat potrošnje električne energije mora se iskazati u vatsatima po kilometru (Wh/km), a autonomija kretanja u km, oboje zaokruženo na najbliži cijeli broj.

5.4.   Tumačenje rezultata

5.4.1.   Vrijednost CO2 ili vrijednost potrošnje električne energije usvojene kao vrijednost homologacije tipa je vrijednost koju navodi proizvođač ako vrijednost koju je izmjerila tehnička služba ne prelazi prijavljenu vrijednost za više od 4 posto. Izmjerena vrijednost može biti niža bez ikakvih ograničenja.

U slučaju sustava periodičkog obnavljanja prema definiciji iz stavka 2.11. rezultati se množe faktorom Ki dobivenim prema Prilogu 8. prije njihovih usporedbi s prijavljenom vrijednosti.

5.4.2.   Ako izmjerena vrijednost CO2 ili potrošnje električne energije prelazi za više od 4 posto vrijednost CO2 ili potrošnje električne energije koju navodi proizvođač, tada se provodi još jedno ispitivanje na istom vozilu.

Ako prosječna vrijednost rezultata dva ispitivanja ne prelazi za više od 4 posto vrijednost koju je naveo proizvođač, tada se vrijednost koju je naveo proizvođač uzima kao vrijednost homologacije tipa.

5.4.3.   Ako ta prosječna vrijednost i dalje prelazi za više od 4 posto prijavljenu vrijednost, konačno se ispitivanje provodi na istom vozilu. Prosječna vrijednost rezultata triju ispitivanja uzima se kao vrijednost homologacije tipa.

6.   PREINAKA I PROŠIRENJE HOMOLOGACIJE TIPA

6.1.   O svakoj preinaci homologiranog tipa izvješćuje se administrativno tijelo koje je izdalo homologaciju tipa. To tijelo tada može:

6.1.1.   smatrati da učinjene preinake vrlo vjerojatno neće imati znatniji štetni učinak na vrijednosti CO2 i potrošnju goriva ili potrošnju električne energije i da će, u svakom slučaju, prvotna homologacija vrijediti za izmijenjeni tip vozila; ili

6.1.2.   zahtijevati izvješće o daljnjem ispitivanju od tehničke službe odgovorne za provedbu ispitivanja u skladu s uvjetima iz stavka 7. ovog Pravilnika.

6.2.   Potvrda ili odbijanje homologacije, uz navođenje izmjena, dostavlja se putem postupaka navedenog u gornjem stavku 4.3. strankama Sporazuma iz 1958. koje primjenjuju ovaj Pravilnik.

6.3.   Nadležno tijelo koje izdaje proširenje homologacije dodjeljuje serijski broj takvom proširenju i o tome izvješćuje druge stranke Sporazuma iz 1958. koje primjenjuju ovaj Pravilnik putem obrasca s izjavom koji odgovara uzorku iz Priloga 3. ovom Pravilniku.

7.   UVJETI ZA PROŠIRENJE HOMOLOGACIJE TIPA ZA TIP VOZILA

7.1.   Vozila s motorom s unutarnjim izgaranjem, osim vozila opremljenih sustavom kontrole emisije s periodičkim obnavljanjem

Homologacija tipa može se proširiti na vozila istog tipa ili različitog tipa koja se razlikuju s obzirom na sljedeće značajke iz Priloga 2. ako emisije CO2, koje je izmjerila tehnička služba, ne prelaze za više od 4 posto vrijednost homologiranog tipa:

7.1.1.   Masa

7.1.2.   Najveća dopuštena masa

7.1.3.   Vrsta nadogradnje: limuzina, karavan, kupe

7.1.4.   Ukupni prijenosni omjeri

7.1.5.   Oprema motora i pribor

7.2.   Vozila s motorom s unutarnjim izgaranjem i opremljena sustavom kontrole emisije s periodičkim obnavljanjem

Homologacija tipa može se proširiti na vozila istog tipa ili različitog tipa koja se razlikuju s obzirom na značajke iz Priloga 3. navedene u gornjim stavcima od 7.1.1. do 7.1.5., ali koja ne premašuju značajke obitelji iz Priloga 8., ako emisije CO2, koje je izmjerila tehnička služba, ne prelaze za više od 4 posto vrijednost homologiranog tipa, i ako se primjenjuje isti faktor Ki.

Homologacija tipa može se proširiti također na vozila istog tipa, ali s različitim Ki faktorom, ako ispravljena vrijednost CO2, koju je izmjerila tehnička služba, ne prelazi za više od 4 posto vrijednost homologiranog tipa.

7.3.   Vozila s elektropogonom

Proširenja se mogu izdati nakon dogovora s tehničkom službom odgovornom za provedbu ispitivanja.

8.   POSEBNE ODREDBE

U budućnosti je moguće očekivati ponudu vozila s posebno djelotvornim tehnologijama iskorištenja energije koja bi mogla podlijegati dodatnim programima ispitivanja. To bi se odredilo u kasnijoj fazi koju proizvođači mogu zahtijevati kako bi dokazali prednosti tog rješenja.

9.   SUKLADNOST PROIZVODNJE

9.1.   Vozila homologirana prema ovom Pravilniku proizvode se tako da su sukladni s vozilom homologiranog tipa.

9.2.   Kako bi se potvrdilo da su zadovoljeni uvjeti iz stavka 9.1., provode se odgovarajuće provjere proizvodnje.

9.3.   Vozila s motorom s unutarnjim izgaranjem

9.3.1.   Općenito je pravilo da se mjere za osiguranje sukladnosti proizvodnje s obzirom na emisije CO2 iz vozila provjeravaju na temelju opisa u potvrdi o homologaciji tipa koji odgovara obrascu iz Priloga 3. ovom Pravilniku.

Kontrola sukladnosti proizvodnje temelji se na procjeni nadležnog tijela revizijskog postupka proizvođača kako bi se osigurala sukladnost tipa vozila s obzirom na emisije zagađivala.

Ako to tijelo nije zadovoljno postupkom proizvođačeve neovisne ocjene, može zahtijevati provedbu ispitivanja provjere za vozila u proizvodnji.

9.3.1.1.   Ako se mjerenje emisija CO2 mora provesti na tipu vozila koje je imalo jedno ili nekoliko proširenja, ispitivanja se provode na vozilu (vozilima) raspoloživom u trenutku ispitivanja (vozilo(vozila) opisano u prvom dokumentu ili kasnijim proširenjima).

9.3.1.1.1.   Sukladnost vozila u pogledu ispitivanja CO2

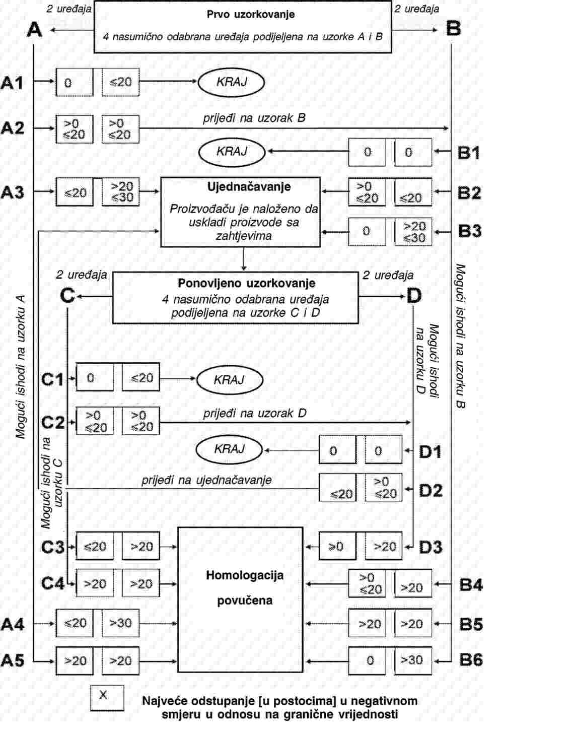
9.3.1.1.1.1.   Tri se vozila nasumce uzimaju iz serije i ispituju kako je opisano u stavku 1.4. Priloga 5.

9.3.1.1.1.2.   Ako je nadležno tijelo zadovoljno standardnim odstupanjem proizvodnje koje je naveo proizvođač, ispitivanja se provode u skladu sa stavkom 9.2.

Ako nadležno tijelo nije zadovoljno standardnim odstupanjem proizvodnje koje je naveo proizvođač, ispitivanja se provode u skladu sa stavkom 9.3.

9.3.1.1.1.3.   Proizvodnja serije smatra se zadovoljavajućom ili nezadovoljavajućom na temelju ispitivanja tri uzorkovana vozila, po donošenju odluke o prihvaćanju ili odbijanju za CO2, u skladu s kriterijima ispitivanja primijenjenih u odgovarajućoj tablici.

Ako nije donesena odluka o prihvaćanju ili odbijanju za CO2, ispitivanje se provodi na još jednom vozilu (vidjeti sliku 1.).

9.3.1.1.1.4.   U slučaju sustava periodičkog obnavljanja prema definiciji iz stavka 2.11., rezultati se množe faktorom Ki dobivenim putem postupka navedenog u Prilogu 8. u trenutku kada je homologacija tipa izdana.

Na zahtjev proizvođača ispitivanje se može provesti odmah po završetku obnavljanja.

9.3.1.1.2.   Bez obzira na zahtjeve iz stavka 1.1.1. Priloga 5., ispitivanja se provode na vozilima bez ijedne prijeđene udaljenosti.

9.3.1.1.2.1.   Međutim, na zahtjev proizvođača, ispitivanja se provode na vozilima s prijeđenih najviše 15 000 km.

U tom slučaju, postupak uhodavanja provodi proizvođač koji se obvezuje da neće izvršiti nikakva namještanja na tim vozilima.

Slika 1.

Image

9.3.1.1.2.2.   Ako proizvođač zatraži postupak uhodavanja („x” km, gdje je ≤ 15 000 km), to se može obaviti na sljedeći način:

emisije CO2 mjere se pri nula i „x” km na prvom ispitanom vozilu (koje može biti vozilo homologacije tipa);

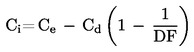
koeficijent razvoja (EC, Evolution Coefficient) emisija između nula i „x” km izračunava se kako slijedi:

Formula

On može biti manji od 1.

Sljedeća vozila ne podliježu postupku uhodavanja, ali se njihove emisije pri nula km zamjenjuju s koeficijentom razvoja, EC.

U tom slučaju, vrijednosti koje se uzimaju su:

vrijednost pri „x” km za prvo vozilo;

vrijednosti pri nula km pomnožene s koeficijentom razvoja za sljedeća vozila.

9.3.1.1.2.3.   Kao drugu mogućnost ovog postupka, proizvođač automobila može koristiti stalni koeficijent razvoja, EC, od 0,92 i pomnožiti tim faktorom sve vrijednosti CO2 izmjerene pri nula km.

9.3.1.1.2.4.   Za ovo ispitivanje koriste se referentna goriva opisana u Prilogu 9. Pravilniku br. 83.

9.3.2.   Sukladnost proizvodnje uz dostupnost statističkih podataka proizvođača.

9.3.2.1.   U sljedećim se odjeljcima opisuje postupak koji treba primijeniti s ciljem provjere sukladnosti zahtjeva proizvodnje za CO2 kada je standardno odstupanje proizvodnje proizvođača zadovoljavajuće.

9.3.2.2.   Uz najmanju veličinu uzorka od tri, postupak uzorkovanja utvrđuje se tako da vjerojatnost da serija prođe na ispitivanju s 40-postotnim dijelom proizvodnje s greškom iznosi 0,95 (rizik proizvođača = 5 posto), dok vjerojatnost da serija bude prihvaćena s 65-postotnim dijelom proizvodnje s greškom iznosi 0,1 (rizik potrošača = 10 posto).

9.3.2.3.   Primjenjuje se sljedeći postupak (vidjeti sliku 1.).

Neka je L prirodni logaritam vrijednosti homologacije tipa za CO2:

xi

=

prirodni logaritam mjerenja za i-to vozilo uzorak;

s

=

procjena standardnog odstupanja proizvodnje (nakon uzimanja prirodnog logaritma mjerenja);

n

=

sadašnji broj uzoraka.

9.3.2.4.   Za uzorak se izračuna statistika ispitivanja uz kvantitativno utvrđivanje zbroja standardiziranih odstupanja u odnosu na ograničenje i definira se kao:

Formula

9.3.2.5.   Tada:

9.3.2.5.1.   ako je statistika ispitivanja veća od broja iz odluke o prihvaćanju za uzorak naveden u tablici 1., donosi se odluka o prihvaćanju;

9.3.2.5.2.   ako je statistika ispitivanja manja od broja iz odluke o odbijanju za veličinu uzorka navedenog u tablici 1., donosi se odluka o odbijanju;

9.3.2.5.3.   u protivnom, ispituje se dodatno vozilo u skladu sa stavkom 1.4. Priloga 5. i postupak se primjenjuje na uzorak s jednom jedinicom više.

Tablica 1.

Veličina uzorka

(ukupni broj ispitanih vozila)

Odluka o prihvaćanju br.

Odluka o odbijanju br.

(a)

(b)

(c)

3

3,327

–4,724

4

3,261

–4,790

5

3,195

–4,856

6

3,129

–4,922

7

3,063

–4,988

8

2,997

–5,054

9

2,931

–5,120

10

2,865

–5,185

11

2,799

–5,251

12

2,733

–5,317

13

2,667

–5,383

14

2,601

–5,449

15

2,535

–5,515

16

2,469

–5,581

17

2,403

–5,647

18

2,337

–5,713

19

2,271

–5,779

20

2,205

–5,845

21

2,139

–5,911

22

2,073

–5,977

23

2,007

–6,043

24

1,941

–6,109

25

1,875

–6,175

26

1,809

–6,241

27

1,743

–6,307

28

1,677

–6,373

29

1,611

–6,439

30

1,545

–6,505

31

1,479

–6,571

32

–2,112

–2,112

9.3.3.   Sukladnost proizvodnje uz nezadovoljavajuće ili nedostupne statističke podatke proizvođača.

9.3.3.1.   U sljedećim se odjeljcima opisuje postupak koji treba koristiti s ciljem provjere sukladnosti zahtjeva proizvodnje za CO2 kada je dokaz proizvođača o standardnom odstupanju proizvodnje nezadovoljavajući ili nedostupan.

9.3.3.2.   Uz najmanju veličinu uzorka od tri, postupak uzorkovanja utvrđuje se tako da vjerojatnost da serija prođe na ispitivanju s 40-postotnim dijelom proizvodnje s greškom iznosi 0,95 (rizik proizvođača = 5 posto) dok vjerojatnost da serija bude prihvaćena s 65-postotnim dijelom proizvodnje s greškom iznosi 0,1 (rizik potrošača = 10 posto).

9.3.3.3.   Mjerenje CO2 smatra se uobičajeno raspodijeljenim logaritmom i treba se najprije preoblikovati uzimajući prirodne logaritme. Neka mo i m označavaju najmanju, odnosno najveću veličinu uzorka (mo = 3 i m = 32) i neka n označava sadašnji broj uzoraka.

9.3.3.4.   Ako su prirodni logaritmi mjerenja u seriji x1, x2, …, xj, a L je prirodni logaritam vrijednosti homologacije tipa za CO2, tada se odredi:

Formula

Formula

Formula

9.3.3.5.   Tablica 2. prikazuje vrijednosti brojeva odluka o prihvaćanju (An) i odbijanju (Bn) u odnosu na sadašnji broj uzoraka. Statistika ispitivanja predstavlja omjer i koristi se za utvrđivanje je li serija prihvaćena ili odbijena, i to na sljedeći način:

za mo ≤ n ≤ m:

9.3.3.5.1.   serija prihvaćena ako je Formula;

9.3.3.5.2.   serija odbijena ako je Formula;

9.3.3.5.3.   provesti još jedno mjerenje ako je Formula.

9.3.3.6.   Napomene

Sljedeće rekurzivne formule korisne su za izračunavanje sljedećih vrijednosti statistike ispitivanja:

Formula

Formula

Formula

9.4.   Vozila s elektropogonom

Općenito je pravilo da se mjere za osiguranje sukladnosti proizvodnje s obzirom na potrošnju električne energije provjeravaju na temelju opisa iz certifikata o homologaciji tipa navedenog u Prilogu 3. ovom Pravilniku.

9.4.1.   Nositelj homologacije naročito:

9.4.1.1.   osigurava postojanje postupaka učinkovite kontrole kvalitete proizvoda;

9.4.1.2.   ima pristup kontrolnoj opremi nužnoj za provjeru sukladnosti prema svakom homologiranom tipu;

9.4.1.3.   osigurava da su podaci o rezultatima ispitivanja zabilježeni i da priloženi dokumenti ostanu dostupni tijekom razdoblja koje će se odrediti zajedno s administrativnom službom;

9.4.1.4.   analizira rezultate svakog tipa ispitivanja, s ciljem provjere i osiguranja stabilnosti značajki proizvoda, uzimajući o obzir dopuštena odstupanja u industrijskoj proizvodnji;

9.4.1.5.   osigurava provedbu ispitivanja propisanih u Prilogu 6. ovom Pravilniku za svaki tip vozila; bez obzira na zahtjeve iz stavka 2.3.1.6. Priloga 6., na zahtjev proizvođača, ispitivanja se provode na vozilima bez ijedne prijeđene udaljenosti;

9.4.1.6.   osigurava da svi uzorci i ispitni dijelovi dokazuju nesukladnost s razmatranim tipom ispitivanja moraju imati za posljedicu daljnje uzorkovanje i novo ispitivanje. Poduzimaju se svi nužni koraci za ponovnu uspostavu sukladnosti odgovarajuće proizvodnje.

9.4.2.   Nadležna tijela koja su izdala homologaciju mogu u svakom trenutku provjeriti metode koje se primjenjuju u svakoj proizvodnoj jedinici.

9.4.2.1.   Dokumentacija o ispitivanjima i praćenju proizvodnje mora se pri svakom inspekcijskom pregledu dostaviti inspektoru na licu mjesta.

9.4.2.2.   Inspektor može uzeti nasumične uzorke se ispituju u laboratoriju proizvođača. Najmanji broj uzoraka može se utvrditi prema rezultatima vlastite provjere proizvođača.

9.4.2.3.   Ako se standard kvalitete čini nezadovoljavajućim ili kada se čini nužnim provjeriti valjanost ispitivanja provedenih primjenom stavka 9.4.2.2., inspektor odabire uzorke koji se šalju tehničkoj službi koja je provela homologacijska ispitivanja.

9.4.2.4.   Nadležna tijela mogu provesti sva ispitivanja propisana u ovom Pravilniku.

9.4.2.5.   Ako su tijekom inspekcija uočeni negativni rezultati, nadležno tijelo osigurava poduzimanje svih potrebnih koraka za ponovnu uspostavu sukladnosti proizvodnje što je moguće brže.

Tablica 2.

Veličina uzorka

(ukupni broj ispitanih vozila)

n

Odluka o prihvaćanju br.

An

Odluka o odbijanju br.

Bn

(a)

(b)

(c)

3

–0,80381

16,64743

4

–0,76339

7,68627

5

–0,72982

4,67136

6

–0,69962

3,25573

7

–0,67129

2,45431

8

–0,64406

1,94369

9

–0,61750

1,59105

10

–0,59135

1,33295

11

–0,56542

1,13566

12

–0,53960

0,97970

13

–0,51379

0,85307

14

–0,48791

0,74801

15

–0,46191

0,65928

16

–0,43573

0,58321

17

–0,40933

0,51718

18

–0,38266

0,45922

19

–0,35570

0,40788

20

–0,32840

0,36203

21

–0,30072

0,32078

22

–0,27263

0,28343

23

–0,24410

0,24943

24

–0,21509

0,21831

25

–0,18557

0,18970

26

–0,15550

0,16328

27

–0,12483

0,13880

28

–0,09354

0,11603

29

–0,06159

0,09480

30

–0,02892

0,07493

31

0,00449

0,05629

32

0,03876

0,03876

10.   KAZNE ZA NESUKLADNOST PROIZVODNJE

10.1.   Homologacija izdana s obzirom na tip vozila sukladno ovom Pravilniku može se povući ako se ne pridržava zahtjeva navedenih u stavku 9.1.

10.2.   Ako stranka Sporazuma iz 1958. koja primjenjuje ovaj Pravilnik povuče homologaciju koju je prethodno izdala, o tome odmah izvješćuje druge ugovorne stranke koje primjenjuju ovaj Pravilnik, putem obrasca s izjavom koji odgovara uzorku iz Priloga 3. ovom Pravilniku.

11.   KONAČNA OBUSTAVA PROIZVODNJE

Ako nositelj homologacije u potpunosti prekine proizvodnju tipa vozila homologiranog u skladu s ovim Pravilnikom, o tome obavješćuje tijelo koje je homologaciju izdalo. Po primitku odgovarajuće obavijesti to tijelo o tome izvješćuje druge stranke Sporazuma iz 1958. koje primjenjuju ovaj Pravilnik putem obrasca s izjavom koji odgovara uzorku iz Priloga 3. ovom Pravilniku.

12.   NAZIVI I ADRESE TEHNIČKIH SLUŽBI ODGOVORNIH ZA PROVEDBU HOMOLOGACIJSKIH ISPITIVANJA I ADMINISTRATIVNIH TIJELA

Stranke Sporazuma iz 1958. koje primjenjuju ovaj Pravilnik dostavljaju Tajništvu Ujedinjenih naroda nazive i adrese tehničkih službi odgovornih za homologacijska ispitivanja i administrativnih tijela koja izdaju homologaciju i kojima se šalju obrasci o potvrđivanju homologacije ili proširenju, odbijanju ili povlačenju homologacije, izdani u drugim zemljama.


(1)  Objava u skladu s člankom 4. stavkom 5. Odluke Vijeća 97/836/EZ od 27. studenoga 1997. (SL L 346 od 17.12.1997., str. 78.).

(2)  Kako je definirano u Zajedničkoj rezoluciji o konstrukciji vozila (R.E.3) (dokument TRANS/WP.29/78/Rev. 1/Amend. 2).

(3)  1 za Njemačku, 2 za Francusku, 3 za Italiju, 4 za Nizozemsku, 5 za Švedsku, 6 za Belgiju, 7 za Mađarsku, 8 za Češku, 9 za Španjolsku, 10 za Srbiju i Crnu Goru, 11 za Ujedinjenu Kraljevinu, 12 za Austriju, 13 za Luksemburg, 14 za Švicarsku, 15 (prazno), 16 za Norvešku, 17 za Finsku, 18 za Dansku, 19 za Rumunjsku, 20 za Poljsku, 21 za Portugal, 22 za Rusku Federaciju, 23 za Grčku, 24 za Irsku, 25 za Hrvatsku, 26 za Sloveniju, 27 za Slovačku, 28 za Bjelarus, 29 za Estoniju, 30 (prazno), 31 za Bosnu i Hercegovinu, 32 za Latviju, 33 (prazno), 34 za Bugarsku, 35 i 36 (prazno), 37 za Tursku, 38 (prazno), 39 za Azerbajdžan, 40 za bivšu jugoslavensku republiku Makedoniju, 41 (prazno), 42 za Europsku zajednicu (homologacije izdale njezine države članice primjenom svojih odnosnih ECE simbola), 43 za Japan, 44 (prazno), 45 za Australiju, 46 za Ukrajinu, 47 za Južnu Afriku i 48 za Novi Zeland. Brojevi koji slijede dodjeljuju se drugim zemljama kronološkim redoslijedom kojim te zemlje budu ratificirale ili pristupile Sporazumu o prihvaćanju jedinstvenih tehničkih propisa za vozila na kotačima, opremu i dijelove koji se mogu ugraditi i/ili koristiti na vozilima na kotačima i uvjetima o uzajamnom priznavanju homologacija izdanih na temelju tih propisa, a tako dodijeljene brojeve Glavni tajnik Ujedinjenih naroda dostavlja ugovornim strankama Sporazuma.

(4)  Srednja vrijednost G 20 i G 23 referentnih goriva na 15 °C.


PRILOG 1.

BITNE ZNAČAJKE MOTORA S UNUTARNJIM IZGARANJEM I PODACI O PROVEDBI ISPITIVANJA

Sljedeći se podaci, prema potrebi, dostavljaju u tri primjerka i uključuju sažetak.

Ako postoje crteži, oni se prikazuju u odgovarajućem mjerilu i s dovoljno detalja. Predočuju se na formatu A4 ili su presavijeni na taj format. U slučaju upravljanih funkcija mikroprocesora, dostavljaju se odgovarajući radni podaci.

1.   Opis motora

1.1.   Proizvođač: …

1.1.1.   Proizvođačeva oznaka motora (naznačena na motoru ili druga identifikacijska oznaka): …

1.2.   Motor s unutarnjim izgaranjem:

1.2.1.   Posebne informacije o motoru: …

1.2.1.1.   Način rada: vanjski izvor paljenja/kompresijsko paljenje, četverotaktni/dvotaktni (1)

1.2.1.2.   Broj, raspored i redoslijed paljenja cilindara:

1.2.1.2.1.   Promjer: (2) … mm

1.2.1.2.2.   Hod: (2) … mm

1.2.1.3.   Radni obujam motora: (3) … cm3

1.2.1.4.   Kompresijski omjer: (4)

1.2.1.5.   Crtež (crteži) komore za izgaranje i kruna klipa: …

1.2.1.6.   Brzina vrtnje motora na praznom hodu: (4)

1.2.1.7.   Udio ugljičnog monoksida po obujmu u ispušnom plinu pri praznom hodu motora: … posto (prema specifikacijama proizvođača) (4)

1.2.1.8.   Najveća neto snaga: … kW pri: …min-1

1.2.2.   Gorivo: olovni benzin/bezolovni benzin/dizelsko ulje/LPG (ukapljeni naftni plin)/NG (prirodni plin) (1)

1.2.3.   RON (istraživački oktanski broj) bezolovnog benzina: …

1.2.4.   Napajanje gorivom: …

1.2.4.1.   Rasplinjačem (rasplinjačima): da/ne (1)

1.2.4.1.1.   Marka (marke): …

1.2.4.1.2.   Tip (tipovi): …

1.2.4.1.3.   Ugrađeni broj: …

1.2.4.1.4.   Namještanja: (4)

1.2.4.1.4.1.   Sapnice: …

1.2.4.1.4.2.   Difuzor: …

1.2.4.1.4.3.   Razina komore s plovkom: …

1.2.4.1.4.4.   Masa plovka: …

1.2.4.1.4.5.   Igla plovka: …

1.2.4.1.5.   Sustav za pokretanje hladnog motora: ručni/automatski (1)

1.2.4.1.5.1.   Način rada: …

1.2.4.1.5.2.   Radna ograničenja/postavke (1), (4)

1.2.4.2.   Ubrizgavanjem goriva (samo kompresijskim paljenjem): da/ne (1)

1.2.4.2.1.   Opis sustava: …

1.2.4.2.2.   Način rada: izravno ubrizgavanje/pretkomora/vrtložna komora (1)

1.2.4.2.3.   Pumpa za ubrizgavanje

1.2.4.2.3.1.   Marka (marke): …

1.2.4.2.3.2.   Tip (tipovi): …

1.2.4.2.3.3.   Najveći dovod goriva: (1), (4) … mm3/hodu ili ciklusu pri brzini pumpe od … min-1: (1), (4) ili karakteristični dijagram: …

1.2.4.2.3.4.   Početak ubrizgavanja: (4)

1.2.4.2.3.5.   Krivulja predubrizgavanja: (4)

1.2.4.2.3.6.   Postupak kalibriranja: ispitivanje na pokusnom uređaju/motoru (1)

1.2.4.2.4.   Regulator:

1.2.4.2.4.1.   Tip: …

1.2.4.2.4.2.   Prekid dovoda goriva: …

1.2.4.2.4.3.   Prekid dovoda goriva pod opterećenjem: … min-1

1.2.4.2.4.4.   Prekid dovoda goriva bez opterećenja: … min-1

1.2.4.2.4.5.   Brzina vrtnje motora na praznom hodu: … min-1

1.2.4.2.5.   Ubrizgač (ubrizgači): …

1.2.4.2.5.1.   Marka (marke): …

1.2.4.2.5.2.   Tip (tipovi): …

1.2.4.2.5.3.   Početni tlak: (4) … kPa ili karakteristični dijagram: …

1.2.4.2.6.   Sustav za pokretanje hladnog motora:

1.2.4.2.6.1.   Marka (marke): …

1.2.4.2.6.2.   Tip (tipovi): …

1.2.4.2.6.3.   Opis: …

1.2.4.2.7.   Pomoćni sustav za pokretanje:

1.2.4.2.7.1.   Marka (marke): …

1.2.4.2.7.2.   Tip (tipovi): …

1.2.4.2.7.3.   Opis: …

1.2.4.3.   Ubrizgavanjem goriva (samo vanjskim izvorom paljenja): da/ne (1)

1.2.4.3.1.   Opis sustava: …

1.2.4.3.2.   Način rada (1): usisni sustav cijevi (s jednog/više mjesta/izravno ubrizgavanje/ostalo – navesti)

Upravljačka jedinica – tip ili br.

Podaci se daju u slučaju neprekidnog ubrizgavanja; u slučaju drugih sustava, navesti istovjetne detalje.

Regulator goriva – tip

Osjetnik strujanja zraka – tip

Uređaj za raspodjelu goriva – tip

Regulator tlaka – tip

Mikrosklopka – tip

Vijak za podešavanje brzine vrtnje – tip

Kućište zaklopke za zrak – tip

Osjetnik temperature vode – tip

Osjetnik temperature zraka – tip

Sklopka za temperaturu zraka – tip

Zaštita od elektromagnetskih smetnji

Opis i/ili nacrt: …

1.2.4.3.3.   Marka (marke): …

1.2.4.3.4.   Tip (tipovi): …

1.2.4.3.5.   Ubrizgač (ubrizgači): Početni tlak: (4) … kPa ili karakteristični dijagram: (4)

1.2.4.3.6.   Početak ubrizgavanja: …

1.2.4.3.7.   Sustav za pokretanje hladnog motora: …

1.2.4.3.7.1.   Način (načini) rada: …

1.2.4.3.7.2.   Radna ograničenja/postavke (1), (4)

1.2.4.4.   Pumpa za napajanje

1.2.4.4.1.   Tlak: (1) … kPa ili karakteristični dijagram: …

1.2.4.5.   Sustavom napajanja gorivom LPG (ukapljenim naftnim plinom): da/ne (1)

1.2.4.5.1.   Homologacijski broj u skladu s Pravilnikom br. 67 i dokumentacijom: …

1.2.4.5.2.   Elektronička jedinica za upravljanje radom motora za napajanje gorivom LPG:

1.2.4.5.2.1.   Marka (marke): …

1.2.4.5.2.2.   Tip: …

1.2.4.5.2.3.   Mogućnosti namještanja vezane uz emisiju: …

1.2.4.5.3.   Daljnja dokumentacija:

1.2.4.5.3.1.   Opis zaštite katalizatora pri prebacivanju s benzina na LPG ili obrnuto: …

1.2.4.5.3.2.   Razmještaj sustava (električni priključci, vakuumski priključci, crijeva za izjednačavanje tlaka itd.): …

1.2.4.5.3.3.   Crtež simbola: …

1.2.4.6.   Sustav napajanja gorivom NG (prirodnim plinom): da/ne (1)

1.2.4.6.1.   Homologacijski broj u skladu s Pravilnikom br. 67: …

1.2.4.6.2.   Elektronička jedinica za upravljanje radom motora za napajanje gorivom NG:

1.2.4.6.2.1.   Marka (marke): …

1.2.4.6.2.2.   Tip: …

1.2.4.6.2.3.   Mogućnosti podešavanja vezane uz emisiju: …

1.2.4.6.3.   Daljnja dokumentacija:

1.2.4.6.3.1.   Opis zaštite katalizatora pri prebacivanju s benzina na NG ili obrnuto: …

1.2.4.6.3.2.   Razmještaj sustava (električni priključci, vakuumski priključci, crijeva za izjednačavanje tlaka itd.): …

1.2.4.6.3.3.   Crtež simbola: …

1.2.5.   Paljenje

1.2.5.1.   Marka (marke): …

1.2.5.2.   Tip (tipovi): …

1.2.5.3.   Način rada: …

1.2.5.4.   Krivulja pretpaljenja: (4)

1.2.5.5.   Statički kut pretpaljenja: (4) … stupnjeva prije TDC

1.2.5.6.   Razmak kontakta prekidača: (4)

1.2.5.7.   Kut zatvorenosti: (4)

1.2.5.8.   Svjećice: …

1.2.5.8.1.   Marka: …

1.2.5.8.2.   Tip: …

1.2.5.8.3.   Namještanje razmaka svjećica: … mm

1.2.5.9.   Namotaj paljenja:

1.2.5.9.1.   Marka: …

1.2.5.9.2.   Tip: …

1.2.5.10.   Kondenzator paljenja:

1.2.5.10.1.   Marka: …

1.2.5.10.2.   Tip: …

1.2.6.   Sustav hlađenja: tekućinom/zrakom (1)

1.2.7.   Usisni sustav: …

1.2.7.1.   Kompresor: da/ne (1)

1.2.7.1.1.   Marka (marke): …

1.2.7.1.2.   Tip (tipovi): …

1.2.7.1.3.   Opis sustava (najveći tlak punjenja: … kPa, preljevni ventil)

1.2.7.2.   Hladnjak stlačenog zraka: da/ne (1)

1.2.7.3.   Opis i/ili crteži usisnih cijevi i njihova pribora (skupljač usisnog zraka, grijač, dodatne usisne cijevi za zrak itd.): …

1.2.7.3.1.   Opis usisnog sustava cijevi (uključuje crteže i/ili fotografije): …

1.2.7.3.2.   Filtar za zrak, nacrti, ili

1.2.7.3.2.1.   Marka (marke): …

1.2.7.3.2.2.   Tip (tipovi): …

1.2.7.3.3.   Prigušivač, crteži, ili

1.2.7.3.3.1.   Marka (marke): …

1.2.7.3.3.2.   Tip (tipovi): …

1.2.8.   Ispušni sustav:

1.2.8.1.   Opis i nacrti ispušnog sustava: …

1.2.9.   Vrijeme otvaranja/zatvaranja ventila ili istovjetni podaci

1.2.9.1.   Najveće podizanje ventila, kutovi rada i zatvaranja ili detalji o vremenu alternativnih distribucijskih sustava, s obzirom na mrtve točke klipa: …

1.2.9.2.   Referentni i/ili postavni rasponi: (1)

1.2.10.   Mazivo koje se koristi:

1.2.10.1.   Marka: …

1.2.10.2.   Tip: …

1.2.11.   Mjere poduzete protiv zagađenja zraka

1.2.11.1.   Uređaj za recikliranje plinova iz kućišta koljenčaste osovine (opis i/ili crteži): …

Dodatni uređaji za kontrolu onečišćenja (ako postoje, i ako nisu obuhvaćeni nekom drugom točkom):

1.2.11.2.1.   Katalitički pretvarač: da/ne (1)

1.2.11.2.1.1.   Broj katalitičkih pretvarača i elementi: …

1.2.11.2.1.2.   Dimenzije i oblik katalitičkog (katalitičkih) pretvarača (obujam, …): …

1.2.11.2.1.3.   Tip katalitičkog djelovanja: …

1.2.11.2.1.4.   Ukupno punjenje plemenitog metala: …

1.2.11.2.1.5.   Relativna koncentracija: …

1.2.11.2.1.6.   Podloga (struktura i materijal): …

1.2.11.2.1.7.   Gustoća ćelije: …

1.2.11.2.1.8.   Tip kućišta za katalitički pretvarač (pretvarače): …

1.2.11.2.1.9.   Položaj katalitičkog (katalitičkih) pretvarača (Mjesto i referentne udaljenosti u ispušnom sustavu): …

1.2.11.2.1.10.   Sustavi/metoda obnavljanja sustava naknadne obrade ispuha, opis: …

1.2.11.2.1.10.1.   Broj radnih ciklusa tipa I, ili istovjetni ciklusi ispitivanja motora na pokusnom uređaju, između dva ciklusa kada do faza obnavljanja dolazi u uvjetima jednakima ispitivanju tipa I (udaljenost „D” na slici 1. u Prilogu 8.): …

1.2.11.2.1.10.2.   Opis metode koja se koristi za utvrđivanje broja ciklusa između dva ciklusa gdje dolazi do faza obnavljanja: …

1.2.11.2.1.10.3.   Parametri za utvrđivanje razine opterećenja potrebnog prije nastupa obnavljanja (tj. temperatura, tlak itd.): …

1.2.11.2.1.10.4.   Opis metode koja se koristi za utvrđivanje sustava opterećenja u postupku ispitivanja opisanom u stavku 3.1. Priloga 8.: …

1.2.11.2.1.11.   Osjetnik kisika: tip: …

1.2.11.2.1.11.1.   Položaj osjetnika kisika: …

1.2.11.2.1.11.2.   Kontrolni raspon osjetnika kisika: …

1.2.11.2.2.   Ubrizgavanje zraka: da/ne (1)

1.2.11.2.2.1.   Tip (pulsiranje zraka, pumpa za zrak, …): …

1.2.11.2.3.   EGR: da/ne (1)

1.2.11.2.3.1.   Značajke (protok, …): …

1.2.11.2.4.   Sustav kontrole emisija isparavanjem:

 

Potpuni detaljni opis uređaja i njihovo stanje namještanje: …

 

Crtež sustava za smanjivanje emisije isparavanjem: …

 

Crtež posude za aktivni ugljen: …

 

Crtež spremnika za gorivo s naznakom obujma i materijala: …

1.2.11.2.5.   Uređaj za odvajanje čestica: da/ne (1)

1.2.11.2.5.1.   Dimenzije i oblik uređaja za odvajanje čestica (obujam): …

1.2.11.2.5.2.   Tip uređaja za odvajanje čestica i konstrukcija: …

1.2.11.2.5.3.   Položaj uređaja za odvajanje čestica (referentne udaljenosti u ispušnom sustavu): …

1.2.11.2.5.4.   Sustav/metoda obnavljanja. Opis i crtež: …

1.2.11.2.5.4.1.   Broj radnih ciklusa tipa I, ili istovjetni ciklusi ispitivanja motora na pokusnom uređaju, između dva ciklusa kada do faza obnavljanja dolazi u uvjetima jednakima ispitivanju tipa I (udaljenost „D” na slici 1. u Prilogu 8.): …

1.2.11.2.5.4.2.   Opis metode koja se koristi za utvrđivanje broja ciklusa između dva ciklusa gdje dolazi do faza obnavljanja: …

1.2.11.2.5.4.3.   Parametri za utvrđivanje razine opterećenja potrebnog prije nastupa obnavljanja (tj. temperatura, tlak itd.): …

1.2.11.2.5.4.4.   Opis metode koja se koristi za utvrđivanje sustava opterećenja u postupku ispitivanja opisanom u stavku 3.1. Priloga 8.: …

1.2.11.2.6.   Ostali sustavi (opis i načini rada): …


(1)  Prekrižiti nepotrebno.

(2)  Ova vrijednost se mora zaokružiti na najbližu desetinu milimetra.

(3)  Ova se vrijednost mora izračunati pomoću π = 3,1416 i zaokružiti na najbliži cm3.

(4)  Navesti dopušteno odstupanje.


PRILOG 2.

BITNE ZNAČAJKE ELEKTROPOGONA I PODACI O PROVEDBI ISPITIVANJA (1)

1.   Opis pogonskog akumulatora

1.1.   Trgovački naziv i oznaka akumulatora: …

1.2.   Vrsta elektrokemijske spojnice: …

1.3.   Nazivni napon: … V

1.4.   Najveća 30-minutna snaga akumulatora (pražnjenje stalne snage): … kW

1.5.   Značajke akumulatora u 2-satnom pražnjenju (stalna snaga ili stalna struja): (2)

1.5.1.   Snaga akumulatora: … kWh

1.5.2.   Kapacitet akumulatora: … Ah u 2 sata

1.5.3.   Vrijednost napona na završetku pražnjenja: … V

1.6.   Naznaka završetka pražnjenja koja dovodi do obvezatnog zaustavljanja vozila: (3)

1.7.   Masa akumulatora: … kg

2.   Opis elektromotornog dijela

2.1.   Općenito

2.1.1.   Marka: …

2.1.2.   Tip: …

2.1.3.   Primjena: (2) Jedan motor/više motora (broj): …

2.1.4.   Raspored prijenosa: paralelni/transaksijalni/ostali, precizirati: …

2.1.5.   Napon ispitivanja: … V

2.1.6.   Nazivna brzina motora: … min-1

2.1.7.   Najveća brzina motora: … min-1

ili po zadanoj vrijednosti:

 

osovina izlaznog reduktora/brzina mjenjača (navesti uključeni prijenos): … min-1

2.1.8.   Najveća pogonska snaga: (4)… min-1

2.1.9.   Najveća snaga: … kW

2.1.10.   Najveća 30-minutna snaga: … kW

2.1.11.   Fleksibilna autonomija kretanja (gdje je P ≥ 90 % od najveće snage):

 

brzina na početku autonomije kretanja: … min-1

 

brzina na kraju autonomije kretanja: … min-1

2.2.   Motor

2.2.1.   Način rada:

2.2.1.1.   istosmjerna struja/izmjenična struja 3/broj faza: …

2.2.1.2.   zasebna pobuda/serijski/složeni (2)

2.2.1.3.   sinkroni/asinkroni (2)

2.2.1.4.   rotor sa zavojnicom/sa stalnim magnetima/s kućištem (2)

2.2.1.5.   broj polova motora: …

2.2.2.   Inercijska masa: …

2.3.   Regulator snage

2.3.1.   Marka

2.3.2.   Tip

2.3.3.   Načelo kontrole: vektoralni/otvorena petlja/zatvoreni/ostalo (navesti): (2)

2.3.4.   Najveća efektivna struja koja se dobavlja motoru: (4)… A tijekom … sekundi

2.3.5.   Primjena raspona napona: … V do … V

2.4.   Sustav hlađenja

 

motor: tekućina/zrak (2)

 

regulator: tekućina/zrak (2)

2.4.1.   Značajke opreme za hlađenje tekućinom:

2.4.1.1.   Vrsta tekućine … koja cirkulira u pumpama: da/ne (2)

2.4.1.2.   Značajke ili marka (marke) i tip (tipovi) pumpe: …

2.4.1.3.   Termostat: postavke: …

2.4.1.4.   Hladnjak: crtež (crteži) ili marka (marke) i tip (tipovi): …

2.4.1.5.   Ispusni ventil: postavke tlaka: …

2.4.1.6.   Ventilator: značajke ili marka (marke) i tip (tipovi): …

2.4.1.7.   Cijev ventilatora: …

2.4.2.   Značajke opreme za hlađenje zrakom

2.4.2.1.   Ventilator: značajke ili marka (marke) i tip (tipovi): …

2.4.2.2.   Standardno provođenje zraka: …

2.4.2.3.   Sustav reguliranja temperature: da/ne (2)

2.4.2.4.   Kratak opis: …

2.4.2.5.   Filtar za zrak: … marka (marke): … tip (tipovi):

2.4.3.   Temperature koje je uveo proizvođač

 

najveća temperatura

2.4.3.1.

Izlaz iz motora:

…°C

2.4.3.2.

na ulazu regulatora:

…°C

2.4.3.3.

na referentnoj točki (točkama) motora:

…°C

2.4.3.4.

na referentnoj točki (točkama) regulatora:

…°C

2.5.   Kategorija izolacije: …

2.6.   Međunarodni zaštitni kôd (IP): …

Načelo sustava podmazivanja: (2)

Ležajevi:

tarni/kuglični

Mazivo:

mast/ulje

Brtva:

da/ne

Protok:

sa/bez

3.   Opis prijenosa

3.1.   Pogonski kotači: prednji/stražnji/4 × 4 (2)

3.2.   Vrsta prijenosa: ručni/automatski (2)

3.3.   Broj prijenosnih omjera: …

Stupanj prijenosa

Brzina kotača

Prijenosni omjer

Brzina motora

1

 

 

 

2

 

 

 

3

 

 

 

4

 

 

 

5

 

 

 

Vožnja unatrag

 

 

 

najmanji CVT (bezstupnjeviti tip mjenjača): …

najveći CVT: …

3.4.   Preporuke za mijenjanje stupnjeva prijenosa

1 → 2: …

2 → 1: …

2 → 3: …

3 → 2: …

3 → 4: …

4 → 3: …

4 → 5: …

5 → 4: …

u štednom hodu: …

bez štednog hoda: …

3.5.   Gume:

 

Dimenzije: …

 

Opseg kotrljanja pod opterećenjem: …

 

Preporučeni tlak: …

3.6.   Inercijska masa:

3.6.1.   Istovjetna inercijska masa cjelokupne prednje osovine: …

3.6.2.   Istovjetna inercijska masa cjelokupne stražnje osovine: …

4.   Punjenje

4.1.   Punjač: u vozilu/vanjski (2)

U slučaju vanjske jedinice, odrediti punjač (trgovački naziv, model): …

4.2.   Opis uobičajenog profila punjenja: …

4.3.   Specifikacija elektroenergetske mreže:

4.3.1.   Tip elektroenergetske mreže: jednofazni/trofazni (2)

4.3.2.   Napon: …

4.4.   Preporučeno razdoblje mirovanja između završetka pražnjenja i početka punjenja: …

4.5.   Teoretsko trajanje cjelokupnog punjenja: …


(1)  Za nekonvencionalne motore ili sustave proizvođač dostavlja podatke istovjetne onima koji se zahtijevaju dalje u tekstu.

(2)  Prekrižiti nepotrebno.

(3)  Ako se primjenjuje.

(4)  Navesti dopušteno odstupanje.

(5)  Prekrižiti nepotrebno.


PRILOG 3.

IZJAVA

(Najveći format: A4 (210 × 297 mm))

Image

Izdana od: Naziv tijela (1)

o (2) IZDAVANJU HOMOLOGACIJE

PROŠIRENJU HOMOLOGACIJE

ODBIJANJU HOMOLOGACIJE

POVLAČENJU HOMOLOGACIJE

KONAČNOJ OBUSTAVI PROIZVODNJE

za tip vozila u skladu s Pravilnikom br. 101

Homologacijski br.: … Proširenje br.: …

1.   Trgovački naziv ili marka vozila: …

2.   Tip vozila: …

3.   Kategorija vozila: …

4.   Naziv i adresa proizvođača: …

5.   Prema potrebi, naziv i adresa predstavnika proizvođača: …

6.   Opis vozila: …

6.1.   Masa vozila u voznom stanju: …

6.2.   Najveća dopuštena masa: …

6.3.   Vrsta nadogradnje: limuzina/karavan/kupe (2)

6.4.   Pogon: prednji kotači/stražnji kotači/sva četiri kotača (2)

6.5.   Motor s unutarnjim izgaranjem (2)

6.5.1.   Obujam cilindra: …

6.5.2.   Napajanje gorivom: rasplinjačem/ubrizgavanjem (2)

6.5.3.   Gorivo prema preporuci proizvođača: …

6.5.4.   U slučaju LPG/NG (1), referentno gorivo upotrijebljeno prilikom ispitivanja (npr. G20, G25): …

6.5.5.   Najveća snaga motora: … kW pri: … min-1

6.5.6.   Prednabijanje: da/ne (2)

6.5.7.   Paljenje: kompresijsko paljenje/vanjski izvor paljenja (mehanički ili elektronički) (2)

6.6.   Elektropogon (1)

6.6.1.   Elektromotorni dio

6.6.1.1.   Najveća neto snaga: … kW, pri … do … min-1

6.6.1.2.   Najveća 30-minutna snaga: … kW

6.6.1.3.   Način rada:

6.6.2.   Pogonski akumulator:

6.6.2.1.   Nazivni napon: … V

6.6.2.2.   Kapacitet (trajanje 2h): … Ah

6.6.2.3.   Najveća 30-minutna snaga akumulatora: … kW

6.6.2.4.   Punjač: na vozilu/vanjski (2)

6.7.   Prijenos

6.7.1.   Tip mjenjača: ručni/automatski/promjenjivi prijenos (2)

6.7.2.   Broj stupnjeva prijenosa: …

6.7.3.   Ukupni prijenosni omjeri (uključen opseg gaznog sloja pod opterećenjem): cestovne brzine (km/h) kod broja okretaja motora 1 000 (min-1):

 

Prvi stupanj prijenosa: …

 

Drugi stupanj prijenosa: …

 

Treći stupanj prijenosa: …

 

Četvrti stupanj prijenosa: …

 

Peti stupanj prijenosa: …

 

Štedni hod: …

6.7.4.   Konačni prijenosni omjer: …

6.7.5.   Gume

 

Tip: …

 

Dimenzije: …

 

Opseg kotrljanja pod opterećenjem: …

7.   Rezultati ispitivanja

7.1.   Motor s unutarnjim izgaranjem (2)

7.1.1.   Masene emisije CO2: … g/km

7.1.1.1.   Gradska vožnja: … g/km

7.1.1.2.   Izvangradska vožnja: … g/km

7.1.1.3.   Kombinirana: … g/km

7.1.2.   Potrošnja goriva (3), (4)

7.1.2.1.   Potrošnja goriva (gradska vožnja): … l/100 km

7.1.2.2.   Potrošnja goriva (izvangradska vožnja): … l/100 km

7.1.2.3.   Potrošnja goriva (kombinirana vožnja): … l/100 km

7.1.3.   Za vozila opremljena sustavima periodičkog obnavljanja prema definiciji iz stavka 2.11. ovog Pravilnika, rezultati ispitivanja moraju se pomnožiti faktorom Ki dobivenim prema Prilogu 8.

7.2.   Vozila s električnim pogonom (2)

7.2.1.   Mjerenje potrošnje električne energije

7.2.1.1.   Potrošnja električne energije: … Wh/km

7.2.1.2.   Ukupno vrijeme izvan dopuštenog odstupanja prilikom provedbe ciklusa: … sek

7.2.2.   Mjerenje autonomije kretanja:

7.2.2.1.   Autonomija kretanja: … km

7.2.2.2.   Ukupno vrijeme izvan dopuštenog odstupanja prilikom provedbe ciklusa: … sek

8.   Vozilo dostavljeno na homologaciju dana: …

9.   Tehnička služba odgovorna za provedbu homologacijskih ispitivanja: …

10.   Broj izvješća o ispitivanju koje izdaje ta služba: …

11.   Datum izvješća o ispitivanju koje izdaje ta služba: …

12.   Homologacija izdana/proširena/odbijena/povučena (2)

13.   Razlozi za proširenje (prema potrebi): …

14.   Napomene: …

15.   Položaj homologacijske oznake na vozilu: …

16.   Mjesto: …

17.   Datum: …

18.   Potpis: …


(1)  Razlikovni broj zemlje koja je izdala/proširila/odbila/povukla homologaciju (vidjeti odredbe o homologaciji u ovom Pravilniku).

(2)  Prekrižiti nepotrebno.

(3)  Ponoviti za benzin i plinsko gorivo u slučaju vozila koja koriste benzin ili plinsko gorivo.

(4)  Za vozila koja kao gorivo koriste NG (prirodni plin) jedinica 1/100 km zamjenjuje se jedinicom m3/km.


PRILOG 4.

POLOŽAJ HOMOLOGACIJSKIH OZNAKA

Uzorak A

(vidjeti stavak 4.4. ovog Pravilnika)

Image

Gornja homologacijska oznaka pričvršćena na vozilo pokazuje da je dotičan tip vozila homologiran u Nizozemskoj (E 4) s obzirom na mjerenje emisija CO2 i potrošnje goriva ili mjerenje potrošnje električne energije i autonomiju kretanja u skladu s Pravilnikom br. 101 i pod homologacijskim brojem 0024 92. Prve dvije znamenke homologacijskog broja označavaju da je homologacija izdana u skladu sa zahtjevima Pravilnika br. 101 u njegovom izvornom obliku.

Uzorak B

(vidjeti stavak 4.5. ovog Pravilnika)

Image

Gornja homologacijska oznaka pričvršćena na vozilo pokazuje da je dotičan tip vozila homologiran u Nizozemskoj (E 4) u skladu s Pravilnikom br. 101 i 83 (1). Prve dvije znamenke homologacijskih brojeva označavaju da, na datume izdavanja dotičnih homologacija, Pravilnik br. 101 nije bio mijenjan, a da je Pravilnik br. 83 već uključivao niz izmjena 02.


(1)  Ovaj drugi broj naveden je samo kao primjer.


PRILOG 5.

METODA MJERENJA EMISIJA UGLJIČNOG DIOKSIDA I POTROŠNJE GORIVA MOTORA S UNUTARNJIM IZGARANJEM

1.   UVJETI ISPITIVANJA

1.1.   Opće stanje vozila

1.1.1.   Vozilo se uhodava i vozi najmanje 3 000 km, ali manje od 15 000 km prije ispitivanja.

1.1.2.   Postavke motora i kontrolnih mehanizama vozila su one koje je propisao proizvođač. Ovaj se zahtjev također primjenjuje, naročito na postavke praznog hoda (brzina okretanja i sadržaj ugljičnog monoksida (CO) u ispušnim plinovima), na uređaj za pokretanje hladnog motora i na sustav kontrole emisije onečišćujućih tvari iz ispušnih plinova.

1.1.3.   U laboratoriju se može provjeriti nepropusnost usisnog sustava kako bi se osiguralo da slučajni usisni zrak ne utječe na karburaciju.

1.1.4.   U laboratoriju se može provjeriti jesu li značajke vozila prema specifikaciji proizvođača i je li moguća njegova primjena u uobičajenim uvjetima vožnje, posebno s pokretanjem hladnog i toplog motora.

1.1.5.   Prije ispitivanja vozilo se pohranjuje u prostoriji gdje je temperatura relativno stalna, između 20 i 30 °C. Ova se klimatizacija održava najmanje šest sati i nastavlja sve dok temperatura ulja motora i rashladno sredstvo, ako ga ima, dosegnu temperaturu prostorije do unutar 2 °C. Na zahtjev proizvođača ispitivanje se provodi najkasnije 30 sati nakon što vozilo radi pri svojoj uobičajenoj temperaturi.

Na zahtjev proizvođača vozila s motorima s vanjskim izvorom paljenja mogu se prekondicionirati u skladu s postupkom propisanim u stavku 5.2.1. Priloga 7. Pravilniku br. 83 koji je na snazi u trenutku homologacije vozila.

1.1.6.   Koristi se samo oprema nužna za rad vozila tijekom ispitivanja. Ako za temperaturu usisnog zraka motora postoji uređaj s ručnim upravljanjem, isti je u položaju koji je propisao proizvođač za okolnu temperaturu na kojoj se ispitivanje provodi. Općenito, koriste se pomoćni uređaji potrebni za uobičajeni rad vozila.

1.1.7.   Ako se ventilator hladnjaka temperaturno kontrolira, on se nalazi u stanju uobičajenog rada vozila. Sustav grijanja prostora za putnike se isključuje, kao i svaki klimatizacijski sustav, ali kompresor takvih sustava radi uobičajeno.

1.1.8.   Ako je ugrađen uređaj za prednabijanje, njegov se rad odvija uobičajeno tijekom uvjeta ispitivanja.

1.2.   Maziva

Sva maziva su prema preporuci proizvođača vozila i navode se u izvješću o ispitivanju.

1.3.   Gume

Tip guma je onaj koji je proizvođač vozila naveo kao originalnu opremu, a napumpane su na tlak preporučen za ispitno opterećenje i brzine. Tlakovi su navedeni u izvješću o ispitivanju.

1.4.   Mjerenje emisija CO2 i onih povezanih s ugljikom

1.4.1.   Ciklus ispitivanja opisan je u dodatku 1. Priloga 4. Pravilniku br. 83 koji je na snazi u trenutku homologacije vozila.

1.4.2.   Izračun emisija:

1.4.2.1.   Emisije plinovitih onečišćujućih tvari izračunavaju se pomoću sljedeće jednadžbe:

Formula

(1)

gdje je:

Mi

=

masena emisija onečišćujuće tvari i. u gramima po kilometru;

Vmix

=

obujam razrijeđenog ispušnog plina iskazan u litrama po ispitivanju i korigiran na standardne uvjete (273,2 K i 101,33 kPa);

Qi

=

gustoća onečišćujuće tvari i. u gramima po litri pri uobičajenoj temperaturi i tlaku (273,2 K i 101,33 kPa);

Ci

=

koncentracija onečišćujuće tvari i. u razrijeđenom ispušnom plinu iskazana u ppm i korigirana za količinu onečišćujuće tvari i. sadržanu u zraku za razrjeđivanje. Ako je Ci iskazan u postotku obujma, faktor 10-6 zamjenjuje se faktorom 10-2;

d

=

udaljenost prijeđena u vožnji tijekom radnog ciklusa u kilometrima.

1.4.2.2.   Određivanje obujma:

1.4.2.2.1.   Izračun obujma kada se upotrebljava uređaj za promjenjivo razrjeđivanje sa stalnom kontrolom protoka pomoću otvora ili venturijeve cijevi. Neprekidno se bilježe parametri koji pokazuju obujamski protok i izračunava ukupni obujam tijekom ispitivanja.

1.4.2.2.2.   Izračun obujma kada se upotrebljava stapna pumpa. Obujam razrijeđenog ispušnog plina u sustavima sa stapnom pumpom izračunava se pomoću sljedeće formule:

Formula

gdje je:

V

=

obujam razrijeđenog ispušnog plina iskazan u litrama po ispitivanju (prije korekcije);

Vo

=

obujam plina koji istiskuje stapna pumpa prema uvjetima ispitivanja u litrama po okretaju;

N

=

broj okretaja po ispitivanju.

1.4.2.2.3.   Korekcija obujma razrijeđenog ispušnog plina na standardne uvjete. Korekcija obujma razrijeđenog ispušnog plina vrši se pomoću sljedeće formule:

Formula

(2)

pri čemu je:

Formula

(2)

gdje je:

Pp

=

apsolutni tlak na ulazu stapne pumpe u kPa;

Tp

=

prosječna temperatura razrijeđenog ispušnog plina koji ulazi u stapnu pumpu tijekom ispitivanja (K).

1.4.2.3.   Izračun korigirane koncentracije onečišćujuće tvari u vreći za uzorkovanje:

Formula

(3)

gdje je:

Ci

=

koncentracija onečišćujuće tvari i. u razrijeđenom ispušnom plinu, iskazana u ppm ili postotku obujma i korigirana za količinu i. sadržanu u zraku za razrjeđivanje;

Ce

=

izmjerena koncentracija onečišćujuće tvari i. u razrijeđenom ispušnom plinu, iskazana u ppm ili postotku obujma;

Cd

=

izmjerena koncentracija onečišćujuće tvari i. u zraku koji se koristi za razrjeđivanje, iskazana u ppm ili postotku obujma;

DF

=

faktor razrjeđivanja.

gdje se:

faktor razrjeđivanja izračunava na sljedeći način:

Za benzin i dizel:

Formula

(5a)

Za LPG:

Formula

(5b)

Za prirodni plin:

Formula

(5c)

gdje je:

CCO2

=

koncentracija CO2 u razrijeđenom ispušnom plinu sadržanom u vreći za uzorkovanje, iskazana u postotku obujma;

CHC

=

koncentracija HC u razrijeđenom ispušnom plinu sadržanom u vreći za uzorkovanje, iskazana u ppm ekvivalenta ugljika;

CCO

=

koncentracija CO u razrijeđenom ispušnom plinu sadržanom u vreći za uzorkovanje, iskazana u ppm.

1.4.2.4.   Primjer:

1.4.2.4.1.   Podaci

1.4.2.4.1.1.   Okolni uvjeti:

Okolna temperatura: 23 °C = 296,2 K,

Barometrijski tlak: PB = 101,33 kPa.

1.4.2.4.1.2.   Obujam izmjeren i smanjen na standardne uvjete:

Formula

1.4.2.4.1.3.   Očitanja analizatora:

 

Razrijeđeni ispuh

Zrak za razrjeđivanje

HC (1)

92 ppm

3,0 ppm

CO

470 ppm

0 ppm

CO2

1,6 obujam

0,03 obujam

1.4.2.4.2.   Izračun

1.4.2.4.2.1.   Faktor razrjeđivanja (DF) (vidjeti formulu 5):

Formula

Formula

DF = 8,091

1.4.2.4.2.2.   Izračun korigirane koncentracije onečišćujuće tvari u vreći za uzorkovanje:

Masene emisije HC (vidjeti formule 4 i 1):

Formula

(4)

Formula

Formula

Formula

(1)

gdje je:

Formula

Formula

Formula

Masene emisije CO2 (vidjeti formulu 1):

Formula

(1)

gdje je:

Formula

Formula

Formula

Masene emisije CO2 (vidjeti formulu 1):

Formula

(4)

Formula

Formula

i:

Formula

Formula

(1)

Formula

Formula

1.4.2.5.   Posebne odredbe koje se odnose na vozila opremljena motorima s kompresijskim paljenjem.

Mjerenja HC za motore s kompresijskim paljenjem.

Prosječna koncentracija HC koja se koristi pri određivanju masenih emisija HC iz motora s kompresijskim paljenjem izračunava se pomoću sljedeće formule:

Formula

(7)

gdje je:

Formula

=

integral bilježenja ugrijanog FID na trajanje ispitivanja (t2 - t1)

Ce

=

koncentracija HC uzorka razrijeđenog ispušnog plina izračunatog iz integriranog traga HC, u ppm ekvivalenta ugljika.

1.5.   Izračun potrošnji goriva

1.5.1.   Potrošnje goriva izračunavaju se iz emisija ugljikovodika, ugljičnog monoksida i ugljičnog dioksida u skladu sa stavkom 1.4. ovog Priloga.

1.5.2.   Potrošnja goriva, iskazana u litrama na 100 km (u slučaju benzina, LPG ili dizela) ili u m3 na 100 km (u slučaju NG, prirodnog plina) izračunava se pomoću sljedećih formula:

(a)

za vozila s motorom s vanjskim izvorom paljenja koja kao gorivo koriste benzin:

Formula

(b)

za vozila s motorom s vanjskim izvorom paljenja koja kao gorivo koriste LPG (ukapljeni naftni plin):

Formula

Ako se sastav goriva koji se koristi za ispitivanje razlikuje od sastava koji se pretpostavlja za izračun uobičajene potrošnje, na zahtjev proizvođača može se primijeniti faktor korekcije, kako slijedi:

Formula

Faktor korekcije cf, koji se može primijeniti, utvrđuje se na sljedeći način:

Formula

gdje je:

nstvarni

=

stvarni omjer H/C goriva koje se koristi

(c)

za vozila s motorom s vanjskim izvorom paljenja koja kao gorivo koriste NG (prirodni plin):

Formula

(d)

ili vozila s motorom s kompresijskim paljenjem:

Formula

U ovim formulama:

FC

=

potrošnja goriva u litrama na 100 km (u slučaju benzina, LPG ili dizela) ili u m3 na 100 km (u slučaju prirodnog plina)

HC

=

izmjerena emisija ugljikovodika u g/km

CO

=

izmjerena emisija ugljičnog monoksida u g/km

CO2

=

izmjerena emisija ugljičnog dioksida u g/km

D

=

gustoća ispitnog goriva. U slučaju plinovitih goriva, to je gustoća pri 15 °C.


(1)  u ppm ekvivalenta ugljika.


PRILOG 6.

METODA MJERENJA POTROŠNJE ELEKTRIČNE ENERGIJE

1.   POSTUPAK ISPITIVANJA

1.1.   Sastav

Postupak ispitivanja sastavljen je od dva dijela (vidjeti sliku 1.):

(a)

ciklusa gradske vožnje sastavljenog od četiri osnovna ciklusa gradske vožnje;

(b)

ciklusa izvangradske vožnje.

U slučaju ručnog mjenjača s nekoliko stupnjeva prijenosa, operater mijenja prijenos u skladu sa specifikacijama proizvođača.

Ako vozilo ima nekoliko načina vožnje koje vozač može odabrati operater odabire onaj koji najbolje odgovara ciljanoj krivulji.

Slika 1.

Postupak ispitivanja – Kategorije vozila M1 i N1

Image

1.2.   Ciklus gradske vožnje

Ciklus gradske vožnje sastavljen je od četiri osnovna ciklusa od 195 sekundi svaki i ukupnog trajanja od 780 sekundi.

Opis osnovnog ciklusa gradske vožnje prikazan je na slici 2. i u tablici 1.

Slika 2.

Osnovni ciklus gradske vožnje (195 sekundi)

Image

Tablica 1.

Osnovni ciklus gradske vožnje

Radnja br.

Vrsta radnje

Način rada br.

Ubrzanje

(m/s2)

Brzina

(km/h)

Trajanje radnje

(s)

Trajanje načina rada

(s)

Ukupno vrijeme

(s)

1

Zaustavljanje

1

0,00

0

11

11

11

2

Ubrzanje

2

1,04

0-15

4

4

15

3

Stalna brzina

3

0,00

15

8

8

23

4

Usporavanje

4

–0,83

15-0

5

5

28

5

Zaustavljanje

5

0,00

0

21

21

49

6

Ubrzanje

6

0,69

0-15

6

12

55

7

Ubrzanje

 

0,79

15-32

6

 

61

8

Stalna brzina

7

0,00

32

24

24

85

9

Usporavanje

8

–0,81

32-0

11

11

96

10

Zaustavljanje

9

0,00

0

21

21

117

11

Ubrzanje

10

0,69

0-15

6

26

123

12

Ubrzanje

 

0,51

15-35

11

 

134

13

Ubrzanje

 

0,46

35-50

9

 

143

14

Stalna brzina

11

0,00

50

12

12

155

15

Usporavanje

12

–0,52

50-35

8

8

163

16

Stalna brzina

13

0,00

35

15

15

178

17

Usporavanje

14

–0,97

35-0

10

10

188

18

Zaustavljanje

15

0,00

0

7

7

195


Općenito

u trajanju

(s)

u postotku

Zaustavljanje

60

30,77

Ubrzanje

42

21,54

Stalna brzina

59

30,26

Usporavanje

34

17,44

Ukupno

195

100,00


Prosječna brzina (km/h)

18,77

Vrijeme rada (s)

195

Teoretska udaljenost po osnovnom ciklusu gradske vožnje (m)

1 017

Teoretska udaljenost za četiri osnovna ciklusa gradske vožnje (m)

4 067

1.3.   Ciklus izvangradske vožnje

Opis ciklusa izvangradske vožnje prikazan je na slici 3. i u tablici 2.

Slika 3.

Ciklus izvangradske vožnje (400 sekundi)

Image

Napomena: Postupak koji treba usvojiti ako vozilo ne ispunjava zahtjeve brzine iz ove krivulje detaljno je naveden pod točkom 1.4.

Tablica 2.

Ciklus izvangradske vožnje

Radnja br.

Vrsta radnje

Način rada br.

Ubrzanje

(m/s2)

Brzina

(km/h)

Trajanje radnje

(s)

Trajanje načina rada

(s)

Ukupno vrijeme

(s)

1

Zaustavljanje

1

0,00

0

20

20

20

2

Ubrzanje

2

0,69

0-15

6

41

26

3

Ubrzanje

 

0,51

15-35

11

 

37

4

Ubrzanje

 

0,42

35-50

10

 

47

5

Ubrzanje

 

0,40

50-70

14

 

61

6

Stalna brzina

3

0,00

70

50

50

111

7

Usporavanje

4

–0,69

70-50

8

8

119

8

Stalna brzina

5

0,00

50

69

69

188

9

Ubrzanje

6

0,43

50-70

13

13

201

10

Stalna brzina

7

0,00

70

50

50

251

11

Ubrzanje

8

0,24

70-100

35

35

286

12

Stalna brzina

9

0,00

100

30

30

316

13

Ubrzanje

10

0,28

100-120

20

20

336

14

Stalna brzina

11

0,00

120

10

10

346

15

Usporavanje

12

–0,69

120-80

16

34

362

16

Usporavanje

 

–1,04

80-50

8

 

370

17

Usporavanje

 

–1,39

50-0

10

 

380

18

Zaustavljanje

13

0,00

0

20

20

400


Općenito

u trajanju

(s)

u postotku

Zaustavljanje

40

10,00

Ubrzanje

109

27,25

Stalna brzina

209

52,25

Usporavanje

42

10,50

Ukupno

400

100,00


Prosječna brzina (km/h)

62,60

Vrijeme rada (s)

400

Teoretska udaljenost (m)

6 956

1.4.   Dopušteno odstupanje

Dopuštena odstupanja navedena su na slici 4.

Slika 4.

Dopušteno odstupanje brzine

Image

Dopuštena odstupanja s obzirom na brzinu (± 2 km/h) i na vrijeme (± 1 s) geometrijski su združena u svakoj točki kako je prikazano na slici 4.

Ispod 50 km/h odstupanja iznad ovog dopuštenog odstupanja dozvoljena su kako slijedi:

(a)

pri promjenama stupnjeva prijenosa za trajanje manje od 5 sekundi,

(b)

i do pet puta po satu pri drugim vremenima za trajanje manje od 5 sekundi svaki.

Ukupno vrijeme izvan dopuštenog odstupanja treba navesti u izvješću o ispitivanju.

Preko 50 km/h prihvaća se prelaženje iznad dopuštenih odstupanja pod uvjetom da je papučica gasa pritisnuta do kraja.

2.   METODA ISPITIVANJA

2.1.   Načelo

Metoda ispitivanja opisana dalje u tekstu dopušta mjerenje potrošnje električne energije iskazane u Wh/km:

2.2.   Parametri, jedinice i točnost mjerenja

Parametar

Jedinice

Točnost

Razlučivost

Vrijeme

s

± 0,1 s

0,1 s

Udaljenost

m

± 0,1 %

1 m

Temperatura

°C

± 1 °C

1 °C

Brzina

km/h

± 1 %

0,2 km/h

Masa

kg

± 0,5 %

1 kg

Energija

Wh

± 0,2 %

Klasa 0,2 s prema IEC 687

IEC = Međunarodno elektrotehničko povjerenstvo

2.3.   Vozilo

2.3.1.   Stanje vozila

2.3.1.1.   Gume vozila pumpaju se do tlaka koji je naveo proizvođač vozila kada su gume na okolnoj temperaturi.

2.3.1.2.   Viskozitet ulja za mehaničke pomične dijelove odgovara specifikaciji proizvođača vozila.

2.3.1.3.   Uređaji za osvjetljenje, svjetlosnu signalizaciju i pomoćni uređaji su isključeni, osim onih potrebnih za ispitivanje i uobičajeni za dnevni rad vozila.

2.3.1.4.   Svi sustavi pohrane energije raspoloživi u druge svrhe osim vuče (električni, hidraulički, pneumatski itd.) pune se do njihove najviše razine kako je naveo proizvođač.

2.3.1.5.   Ako se rad akumulatora odvija iznad okolne temperature, operater slijedi postupak prema preporuci proizvođača automobila kako bi se održala temperatura akumulatora u uobičajenom radnom rasponu.

Zastupnik proizvođača u mogućnosti je potvrditi da toplinski upravljački sustav akumulatora nije onemogućen niti oslabljen.

2.3.1.6.   Vozilo mora prijeći najmanje 300 km tijekom sedam dana prije ispitivanja s onim akumulatorima koji su ugrađeni u ispitno vozilo.

2.4.   Način rada

Sva se ispitivanja provode na temperaturi između 20 °C i 30 °C.

Metoda ispitivanja obuhvaća četiri sljedeća koraka:

(a)

početno punjenje akumulatora;

(b)

dvostruku primjenu ciklusa sastavljenog od četiri osnovna ciklusa gradske vožnje i ciklusa izvangradske vožnje;

(c)

punjenje akumulatora;

(d)

izračun potrošnje električne energije.

Između tih koraka, ako se vozilo pomakne, prebacuje se u sljedeće područje ispitivanja (bez regenerativnog ponovnog punjenja).

2.4.1.   Početno punjenje akumulatora

Punjenje akumulatora sastoji se od sljedećih postupaka:

2.4.1.1.   Pražnjenje akumulatora

Postupak počinje pražnjenjem akumulatora vozila tijekom vožnje (na ispitnoj stazi, na dinamometru podvozja itd.) pri ustaljenoj brzini od 70 % ± 5 % od najveće tridesetominutne brzine vozila.

Do zaustavljanja pražnjenja dolazi:

(a)

kada vozilo nije u mogućnosti voziti pri 65 % od najveće tridesetominutne brzine;

(b)

ili kada standardna ugrađena mjerna oprema upozorava vozača da zaustavi vozilo, ili

(c)

nakon prijeđene udaljenosti od 100 km.

Primjena uobičajenog prekonoćnog punjenja

Punjenje akumulatora odvija se prema sljedećem postupku.

2.4.1.2.1.   Uobičajeni postupak prekonoćnog punjenja

Punjenje se odvija:

(a)

pomoću punjača u vozilu ako je ugrađen,

(b)

pomoću vanjskog punjača prema preporuci proizvođača, pri čemu je priključak izveden s kućnim utikačem čiji je oblik preporučio proizvođač,

(c)

u okolnoj temperaturi između 20 °C i 30 °C.

Postupak isključuje sve tipove posebnih punjača koji bi se mogli automatski ili ručno pokrenuti, poput, na primjer, punjača za izjednačavanje ili servisnih punjača.

Proizvođač automobila mora moći potvrditi da tijekom ispitivanja nije došlo do posebnog postupka punjenja.

2.4.1.2.2.   Kriteriji završetka punjenja

Kriteriji završetka punjenja odgovaraju vremenu punjenja od 12 sati, osim ako standardna mjerna oprema jasno ne pokaže vozaču da akumulator nije još u potpunosti napunjen.

U tom slučaju,

Formula

2.4.1.2.3.   Potpuno napunjeni akumulator

Akumulator punjen prema postupku prekonoćnog punjenja do kriterija završetka punjenja.

2.4.2.   Primjena ciklusa i mjerenje udaljenosti

Bilježi se vrijeme završetka punjenja t0 (isključivanja).

Dinamometar podvozja namješta se pomoću metode opisane u dodatku 1. ovom Prilogu.

Počevši unutar 4 sati od t0 ciklus sačinjen od četiri osnovna ciklusa gradske vožnje i ciklusa izvangradske vožnje provodi se dvaput na dinamometru podvozja (udaljenost ispitivanja: 22 km, trajanje ispitivanja: 40 minuta).

Na kraju se bilježi mjera D prijeđene udaljenosti u km.

2.4.3.   Punjenje akumulatora

Vozilo je priključeno na elektroenergetsku mrežu 30 minuta nakon okončanja ciklusa sačinjenog od četiri osnovna ciklusa gradske vožnje i ciklusa izvangradske vožnje, provedenog dvaput.

Vozilo se puni prema uobičajenom postupku prekonoćnog punjenja (vidjeti gornji stavak 2.4.1.2.).

Oprema za mjerenje energije postavljena između utičnice elektroenergetske mreže i punjača vozila mjeri energiju punjenja E iz elektroenergetske mreže, kao i njezino trajanje.

Punjenje se zaustavlja nakon 24 sata od vremena prethodnog završetka punjenja (t0).

Napomena: u slučaju prekida dobave energije iz elektroenergetske mreže 24-satno razdoblje produljuje se sukladno trajanju prekida. O valjanosti punjenja raspravljat će tehničke službe laboratorija za homologaciju i proizvođača vozila.

2.4.4.   Izračun potrošnje električne energije

Mjerenja energije E u Wh i vrijeme punjenja bilježe se u izvješću o ispitivanju.

Potrošnja električne energije (c) određuje se formulom:

Formula (iskazano u Wh/km i zaokruženo na najbliži cijeli broj)

gdje je D = autonomija kretanja (km).

Dodatak 1.

Utvrđivanje ukupne snage cestovnog opterećenja vozila i kalibriranje dinamometra

1.   UVOD

Svrha je ovog dodatka odrediti metodu mjerenja ukupne snage cestovnog opterećenja vozila uz statističku točnost od ± 4 % pri stalnoj brzini i reproducirati tu izmjerenu snagu cestovnog opterećenja na dinamometru uz točnost od ± 5 %.

2.   ZNAČAJKE STAZE

Cesta za ispitivanje je ravna, otvorena i bez prepreka ili vjetrobrana koji negativno utječu na varijabilnost mjerenja cestovnog opterećenja.

Uzdužni nagib ceste za ispitivanje ne prelazi ± 2 %. Ovaj se nagib određuje kao omjer razlike u visini između oba kraja ceste za ispitivanje i njezine cjelokupne duljine. Pored toga, lokalni nagib između bilo koje dvije točke međusobno udaljene 3 m ne smije odstupati za više od ± 0,5 % od ovog uzdužnog nagiba.

Najveća poprečna krivina ceste za ispitivanje iznosi 1,5 % ili manje.

3.   ATMOSFERSKI UVJETI

3.1.   Vjetar

Ispitivanje se provodi pri brzinama vjetra prosječne vrijednosti manje od 3 m/s uz najveće brzine manje od 5 m/s. Osim toga, vektor kao sastavni dio brzine vjetra preko ispitne staze mora biti manji od 2 m/s. Brzina vjetra mjeri se na 0,7 m iznad površine staze.

3.2.   Vlažnost

Staza je suha.

3.3.   Referentni uvjeti

Barometrijski tlak:

H0 = 100 kPa

Temperatura:

T0 = 293 K (20 °C)

Gustoća zraka:

d0 = 1,189 kg/m3

3.3.1.   Gustoća zraka

3.3.1.1.   Gustoća zraka tijekom ispitivanja izračunata kako je opisano u donjem stavku 3.3.1.2. ne razlikuje se za više od 7,5 % od gustoće zraka u referentnim uvjetima.

3.3.1.2.   Gustoća zraka izračunava se formulom:

Formula

gdje je:

dT

=

gustoća zraka tijekom ispitivanja (kg/m3)

d0

=

gustoća zraka u referentnim uvjetima (kg/m3)

HT

=

ukupni barometrijski tlak tijekom ispitivanja (kPa)

TT

=

apsolutna temperatura tijekom ispitivanja (K).

3.3.2.   Okolni uvjeti

3.3.2.1.   Okolna temperatura je između 5 °C (278 K) i 35 °C (308 K), a barometrijski tlak između 91 kPa i 104 kPa. Relativna vlažnost je manja od 95 %.

3.3.2.2.   Međutim, uz suglasnost proizvođača, ispitivanja se mogu provesti pri nižim okolnim temperaturama do 1 °C. U tom slučaju treba koristiti faktor korekcije izračunan za 5 °C.

4.   PRIPREMA VOZILA

4.1.   Uhodavanje

Vozilo je u uobičajenom voznom stanju i prilagođeno nakon uhodavanja od najmanje 300 km. Gume se razrađuju istodobno kada i vozilo ili imaju profil gaznog sloja između 90 i 50 % od početnog profila gaznog sloja.

4.2.   Provjere

Sljedeće se provjere provode u skladu sa specifikacijama proizvođača za razmatranu primjenu: kotača, naplatka kotača, guma (marka, tip, tlak), geometrije prednje osovine, namještanja kočnica (uklanjanje parazitskog otpora), podmazivanja prednje i stražnje osovine, prilagodbe ovjesa i udaljenost vozila od tla itd. Provjeriti da tijekom okretanja kotača sa slobodnim automatskim tokom nema električnog kočenja.

4.3.   Priprema za ispitivanje

4.3.1.   Vozilo je opterećeno na svoju ispitnu masu, uključujući vozača i opremu za ispitivanje, podjednako raspodijeljenu u područjima opterećenja.

4.3.2.   Prozori vozila su zatvoreni. Svi pokrovi za klimatizacijske sustave, glavna svjetla itd. su zatvoreni.

4.3.3.   Vozilo je čisto.

4.3.4.   Neposredno prije ispitivanja vozilo se dovodi do uobičajene temperature vožnje na odgovarajući način.

5.   ODREĐENA BRZINA V

Određena se brzina zahtijeva radi utvrđivanja otpora vožnje pri referentnoj brzini iz krivulje otpora vožnje. Radi utvrđivanja otpora vožnje kao funkcije brzine vozila u blizini referentne brzine Vo otpori vožnje mjere se pri određenoj brzini V. Želi se izmjeriti najmanje četiri do pet točaka u kojima se navode određene brzine, zajedno s referentnim brzinama.

Tablica 1. prikazuje određene brzine u skladu s kategorijom vozila. Zvjezdica (*) označava referentnu brzinu u tablici.

Tablica 1.

Kategorija

Vmax

Određene brzine

(km/h)

> 130

120 (1)

100

80 (*)

60

40

20

130-100

90

80 (*)

60

40

20

100-70

60

50 (*)

40

30

20

< 70

50 (1)

40 (*)

30

20

6.   PROMJENJIVOST ENERGIJE TIJEKOM USPORAVANJA

6.1.   Utvrđivanje ukupne snage cestovnog opterećenja

6.1.1.   Mjerna oprema i točnost

Dopuštena greška mjerenja je manja od 0,1 sekunde s obzirom na vrijeme i manja od ± 0,5 km/h s obzirom na brzinu.

6.1.2.   Postupak ispitivanja

6.1.2.1.   Brzina vozila poveća se na 5 km/h iznad brzine pri kojoj započinje mjerenje ispitivanja.

6.1.2.2.   Mjenjač se postavi u neutralan položaj, ili se prekine dovod energije.

6.1.2.3.   Mjeri se vrijeme t1 potrebno vozilu da uspori s: V2 = V + Δ Vkm/h na V1 = V - Δ Vkm/h

gdje je:

 

Δ V ≤ 5 km/h za nazivnu brzinu ≤ 50 km/h

 

Δ V ≤ 10 km/h za nazivnu brzinu > 50 km/h

6.1.2.4.   Provede se isto ispitivanje u suprotnom smjeru mjereći vrijeme t2.

6.1.2.5.   Uzima se prosječna vrijednost T1 oba vremena t1 i t2.

6.1.2.6.   Ponove se ova ispitivanja dok statička točnost (p) prosječne vrijednosti

Formula

ne bude jednaka ili manja od 4 % (p ≤ 4 %).

Statička točnost (p) određuje se pomoću:

Formula

gdje je:

T

=

koeficijent naveden u donjoj tablici;

s

=

standardno odstupanje

Formula

n

=

broj ispitivanja

n

4

5

6

7

8

9

10

t

3,2

2,8

2,6

2,5

2,4

2,3

2,3

Formula

1,6

1,25

1,06

0,94

0,85

0,77

0,73

6.1.2.7.   Izračun sile otpora vožnje

Sila otpora vožnje F pri određenoj brzini V izračunava se na sljedeći način:

Formula

gdje je:

MHP

=

ispitna masa

Mr

=

istovjetna inercijska masa svih kotača i dijelova vozila koji se okreću s kotačima tijekom usporavanja na cesti. Mr treba izmjeriti ili izračunati na odgovarajući način.

6.1.2.8.   Otpor vožnje utvrđen na stazi korigira se na referentne okolne uvjete kako slijedi:

Formula

Formula

gdje je:

RR

=

otpor kotrljanja pri brzini V

RAERO

=

aerodinamički otpor pri brzini V

RT

=

ukupno cestovno opterećenje = RR + RAERO

KR

=

faktor korekcije temperature otpora kotrljanja, uzet kao jednak: 3,6 × 10-3/°C

t

=

okolna temperatura cestovnog ispitivanja u °C

t0

=

referentna okolna temperatura = 20 °C

dt

=

gustoća zraka pri uvjetima ispitivanja

d0

=

gustoća zraka pri referentnim uvjetima (20 °C, 100 kPa) = 1,189 kg/m3.

Omjere RR/RT i RAERO/RT određuje proizvođač vozila na osnovi podataka koji su u pravilu tvrtki na raspolaganju.

Ako te vrijednosti nisu dostupne, ovisno o dogovoru proizvođača i dotične tehničke službe, mogu se koristiti brojčane vrijednosti za omjer otpora kotrljanja i ukupnog otpora dobivenog sljedećom formulom:

Formula

gdje je:

MHP

=

ispitna masa u kg

a za svaku brzinu, koeficijenti a i b prikazani su u sljedećoj tablici:

V (km/h)

a

b

20

7,24 · 10-5

0,82

30

1,25 · 10-4

0,67

40

1,59 · 10-4

0,54

50

1,86 · 10-4

0,42

90

1,71 · 10-4

0,21

120

1,57 · 10-4

0,14

6.2.   Namještanje dinamometra

Svrha je ovog postupka simuliranje na dinamometru ukupne snage cestovnog opterećenja pri određenoj brzini.

6.2.1.   Mjerna oprema i točnost

Mjerna oprema slična je onoj koja se koristi na stazi.

6.2.2.   Postupak ispitivanja

6.2.2.1.   Vozilo se postavi na dinamometar.

6.2.2.2.   Prilagodi se tlak guma (hladna) pogonskih kotača kako se zahtijeva za dinamometar podvozja.

6.2.2.3.   Prilagodi se istovjetna inercijska masa dinamometra podvozja prema tablici 2.

Tablica 2.

Ispitna masa

MHP

(kg)

Istovjetna inercija

I

(kg)

MHP ≤ 480

455

480 < MHP ≤ 540

510

540 < MHP ≤ 595

570

595 < MHP ≤ 650

625

650 < MHP ≤ 710

680

710 < MHP ≤ 765

740

765 < MHP ≤ 850

800

850 < MHP ≤ 965

910

965 < MHP ≤ 1 080

1 020

1 080 < MHP P ≤ 1 190

1 130

1 190 < MHP ≤ 1 305

1 250

1 305 < MHP ≤ 1 420

1 360

1 420 < MHP ≤ 1 530

1 470

1 530 < MHP ≤ 1 640

1 590

1 640 < MHP ≤ 1 760

1 700

1 760 < MHP ≤ 1 870

1 810

1 870 < MHP Ł 1 980

1 930

1 980 < MHP ≤ 2 100

2 040

2 100 < MHP ≤ 2 210

2 150

2 210 < MHP ≤ 2 380

2 270

2 380 < MHP ≤ 2 610

2 270

2 610 < MHP

2 270

6.2.2.4.   Vozilo i dinamometar podvozja dovedu se do stabilizirane radne temperature kako bi se uskladili cestovni uvjeti.

6.2.2.5.   Provedu se radnje navedene u stavku 6.1.2. uz izuzetak stavaka 6.1.2.4. i 6.1.2.5. zamjenjujući MHP s I i Mr s Mrm u formuli navedenoj u stavku 6.1.2.7.

6.2.2.6.   Kočnica se namjesti kako bi se reproducirala polovina korisnog tereta korigiranog otpora vožnje (stavak 6.1.2.8.) i uzela u obzir razlika između mase vozila na stazi i istovjetne inercijske ispitne mase (I) koja će se koristiti. To se može učiniti izračunavanjem srednjeg korigiranog vremena cestovnog usporavanja s V2 na V1 i reproduciranjem istog vremena na dinamometru pomoću sljedećeg odnosa:

Formula

gdje je:

I

=

istovjetna inercijska masa zamašnjaka dinamometra podvozja

Mrm

=

istovjetna inercijska masa pogonskih kotača i dijelova vozila koji se okreću s kotačima tijekom usporavanja. Mrm se mjeri ili izračunava na odgovarajući način.

6.2.2.7.   Snagu Pa koju će apsorbirati pokusni uređaj treba odrediti kako bi se omogućilo reproduciranje iste ukupne snage cestovnog opterećenja za isto vozilo u različite dane ili na različitim dinamometrima podvozja istog tipa.


(1)  Ako je vozilo može postići.


PRILOG 7.

METODA MJERENJA AUTONOMIJE KRETANJA VOZILA S ELEKTROPOGONOM

1.   MJERENJE AUTONOMIJE KRETANJA

Metoda ispitivanja opisana dalje u tekstu dopušta mjerenje autonomije kretanja vozila s elektropogonom, iskazane u km.

2.   PARAMETRI, JEDINICE I TOČNOST MJERENJA

Parametri, jedinice i točnost mjerenja su sljedeći:

Parametar

Jedinica

Točnost

Razlučivost

Vrijeme

s

± 0,1 s

0,1 s

Udaljenost

m

± 1 %

1 m

Temperatura

°C

± 1 °C

1 °C

Brzina

km/h

± 1 %

0,2 km/h

Masa

kg

± 0,5 %

1 kg

3.   UVJETI ISPITIVANJA

3.1.   Stanje vozila

3.1.1.   Gume vozila pumpaju se do tlaka koji je naveo proizvođač vozila kada su gume na okolnoj temperaturi.

3.1.2.   Viskozitet ulja za mehaničke pomične dijelove odgovara specifikacijama proizvođača vozila.

3.1.3.   Uređaji za osvjetljenje, svjetlosnu signalizaciju i pomoćni uređaji su isključeni, osim onih potrebnih za ispitivanje i uobičajeni svakodnevni rad vozila.

3.1.4.   Svi sustavi pohrane energije raspoloživi u druge svrhe osim vuče (električni, hidraulički, pneumatski itd.) pune se do njihove najviše razine kako je naveo proizvođač.

3.1.5.   Ako se rad akumulatora odvija iznad okolne temperature operater slijedi postupak prema preporuci proizvođača automobila kako bi se održala temperatura akumulatora u uobičajenom radnom rasponu.

Zastupnik proizvođača u mogućnosti je potvrditi da toplinski upravljački sustav akumulatora nije onemogućen niti oslabljen.

3.1.6.   Vozilo mora prijeći najmanje 300 km tijekom sedam dana prije ispitivanja s onim akumulatorima koji su ugrađeni u ispitno vozilo.

3.2.   Klimatski uvjeti

Prilikom ispitivanja koja se provode na otvorenom,okolna temperatura kreće se između 5 °C i 32 °C.

Ispitivanja u zatvorenom prostoru provode se na temperaturi između 20 °C i 30 °C.

4.   NAČINI RADA

Metoda ispitivanja obuhvaća sljedeće korake:

(a)

početno punjenje akumulatora

(b)

primjenu ciklusa i mjerenje autonomije kretanja.

Između tih koraka, ako se vozilo pomakne, prebacuje se u sljedeće područje ispitivanja (bez regenerativnog ponovnog punjenja).

4.1.   Početno punjenje akumulatora

Punjenje akumulatora sastoji se od sljedećih postupaka:

Napomena: „Početno punjenje akumulatora” odnosi se na prvo punjenje akumulatora, prilikom preuzimanja vozila. U slučaju nekoliko kombiniranih ispitivanja ili mjerenja, koja se provode uzastopno, prvo provedeno punjenje predstavlja „početno punjenje akumulatora”, a sljedeće se može obaviti u skladu s postupkom „uobičajenog prekonoćnog punjenja”.

4.1.1.   Pražnjenje akumulatora

Postupak počinje pražnjenjem akumulatora vozila tijekom vožnje (na ispitnoj stazi, na dinamometru podvozja itd.) pri ustaljenoj brzini od 70 % ± 5 % od najveće tridesetominutne brzine vozila.

Do zaustavljanja pražnjenja dolazi:

(a)

kada vozilo nije u mogućnosti voziti pri 65 % od najveće tridesetominutne brzine;

(b)

ili kada standardna ugrađena mjerna oprema upozorava vozača da zaustavi vozilo, ili

(c)

nakon prijeđene udaljenosti od 100 km.

4.1.2.   Primjena uobičajenog prekonoćnog punjenja

Punjenje akumulatora odvija se u skladu s postupkom uobičajenog prekonoćnog punjenja tijekom razdoblja ne duljeg od 12 sati (vidjeti stavak 2.4.1.2.1. Priloga 6.).

4.2.   Primjena ciklusa i mjerenje autonomije kretanja

Slijed ispitivanja prema definiciji iz stavka 1.1. Priloga 6. primjenjuje se na dinamometru podvozja namještenog kako je opisano u dodatku 1. Prilogu 6., dok se ne postignu kriteriji završetka ispitivanja.

Kriteriji završetka ispitivanja označavaju trenutak kada vozilo ne može postići ciljanu krivulju do 50 km/h, ili kada standardna ugrađena mjerna oprema upozorava vozača da zaustavi vozilo.

Tada se vozilo usporava na brzinu od 5 km/h otpuštanjem papučice gasa, bez dodirivanja papučice kočnice i zatim se zaustavlja kočenjem.

Pri brzini preko 50 km/h kada vozilo nije postiglo potrebno ubrzanje ili brzinu ispitnog ciklusa papučica gasa ostaje pritisnuta do kraja dok se ponovno se dosegne referentna krivulja.

S ciljem poštivanja ljudskih potreba, između sljedova ispitivanja dopuštena su do tri prekida najduljeg ukupnog trajanja od 15 minuta.

Na kraju, mjera D prijeđene udaljenosti u km predstavlja autonomiju kretanja električnog vozila. Ona se izražava najbližim cijelim brojem.


PRILOG 8.

POSTUPAK ISPITIVANJA EMISIJA ZA VOZILO OPREMLJENO SUSTAVOM PERIODIČKOG OBNAVLJANJA

1.   UVOD

1.1.   U ovom se Prilogu definiraju posebne odredbe s obzirom na homologaciju tipa vozila opremljenog sustavom periodičkog obnavljanja prema definiciji iz stavka 2.11. ovog Pravilnika.

2.   PODRUČJE PRIMJENE I PROŠIRENJE HOMOLOGACIJE TIPA

2.1.   Skupina obitelji vozila opremljenih sustavom periodičkog obnavljanja

Postupak se odnosi na vozila opremljena sustavom periodičkog obnavljanja prema definiciji iz stavka 2.11. ovog Pravilnika. Za potrebe ovog Priloga mogu se odrediti skupine obitelji vozila. Shodno tomu, oni tipovi vozila sa sustavima obnavljanja s istovjetnim parametrima niže opisanima, ili čiji su parametri unutar navedenih dopuštenih odstupanja, smatraju se pripadnicima iste obitelji s obzirom na mjerenja specifična za određene sustave periodičkog obnavljanja.

2.1.1.   Istovjetni parametri su:

 

Motor:

(a)

broj cilindara,

(b)

obujam motora (± 15 posto),

(c)

broj ventila,

(d)

sustav goriva,

(e)

postupak izgaranja (dvotaktni, četverotaktni, rotirajući).

 

Sustav periodičkog obnavljanja (tj. katalizator, odvajač čestica):

(a)

konstrukcija (tj. tip kućišta, tip plemenitog metala, tip podloge, gustoća ćelije),

(b)

vrsta i način rada,

(c)

sustav doziranja i dodavanja,

(d)

obujam (± 10 posto),

(e)

položaj (temperatura ± 50 °C pri 120 km/h ili razlika od 5 posto od najveće temperature/pritiska).

2.2.   Tipovi vozila različitih referentnih masa

Ki faktor dobiven postupcima iz ovog Priloga za homologaciju tipa vozila sa sustavom periodičkog obnavljanja prema definiciji iz stavka 2.11. ovog Pravilnika može se proširiti na druga vozila iz skupine obitelji s referentnom masom u okviru sljedeće dvije više klase istovjetne inercije ili bilo koje niže istovjetne inercije.

2.3.   Umjesto provedbe postupaka ispitivanja definiranih u sljedećem odjeljku može se koristiti stalna Ki vrijednost od 1,05 ako tehnička služba ne vidjeti razlog da bi se ta vrijednost mogla nadmašiti.

3.   POSTUPAK ISPITIVANJA

Vozilo može biti opremljeno sklopkom koja može spriječiti ili dopustiti postupak obnavljanja pod uvjetom da ta radnja ne utječe na kalibriranje prvotnog motora. Sklopka se dopušta samo u svrhu sprječavanja obnavljanja tijekom punjenja sustava obnavljanja i tijekom ciklusa prekondicioniranja. Međutim, ne smije se koristiti prilikom mjerenja emisija tijekom faze obnavljanja; ispitivanje emisije radije se provodi neizmijenjenom kontrolnom jedinicom izvorne opreme proizvođača (OEM).

3.1.   Mjerenje emisije ugljičnog dioksida i potrošnje goriva između dva ciklusa kada dolazi do faza obnavljanja

3.1.1.   Prosječna vrijednost emisije ugljičnog dioksida i potrošnje goriva između faza obnavljanja i tijekom punjenja uređaja za obnavljanje određuje se iz aritmetičke srednje vrijednosti nekoliko približno podjednako udaljenih (ako ih je više od dva) radnih ciklusa tipa I ili istovjetnih ciklusa ispitivanja motora na pokusnom uređaju. Kao alternativu proizvođač može dostaviti podatke koji pokazuju da su emisija ugljičnog dioksida i potrošnja goriva ostale stalne ± 4 posto između faza obnavljanja. U tom se slučaju može koristiti emisija ugljičnog dioksida i potrošnja goriva izmjerene tijekom redovitog ispitivanja tipa I. U svim drugim slučajevima moraju se provesti mjerenja emisija za najmanje dva radna ciklusa tipa I ili istovjetna ciklusa ispitivanja motora na pokusnom uređaju: jedno neposredno nakon obnavljanja (prije novog punjenja) i drugo što je moguće bliže prije nastupa faza obnavljanja. Sva mjerenja i izračuni emisija provode se u skladu s Prilogom 5., stavcima 1.4.3. i 1.5.

3.1.2.   Postupak punjenja i utvrđivanje Ki provode se tijekom radnog ciklusa tipa I na dinamometru podvozja ili na pokusnom uređaju za ispitivanje motora koristeći istovjetni ciklus ispitivanja. Ovi se ciklusi mogu provoditi neprekidno (tj. bez potrebe za isključivanjem motora između ciklusa). Nakon nekog broja završenih ciklusa vozilo se može ukloniti s dinamometra podvozja, a ispitivanje nastaviti kasnije.

3.1.3.   Broj ciklusa (D) između dva ciklusa gdje dolazi do faza obnavljanja broj ciklusa tijekom kojih se provode mjerenja emisija (n), i svako mjerenje emisija (M’sij) navodi se u Prilogu 1., točkama od 1.2.11.2.1.10.1. ili 1.2.11.2.1.10.4. do 1.2.11.2.5.4.1. do 1.2.11.2.5.4.4. prema potrebi.

3.2.   Mjerenje emisije ugljičnog dioksida i potrošnje goriva tijekom obnavljanja

3.2.1.   Priprema vozila, ako je potrebna, za ispitivanje emisija tijekom faze obnavljanja, može se obaviti primjenom pripremnih ciklusa iz stavka 5.3. Priloga 4. Pravilniku br. 83 ili istovjetnih ciklusa ispitivanja motora na pokusnom uređaju, ovisno o postupku punjenja odabranom u gornjem stavku 3.1.2.

3.2.2.   Uvjeti ispitivanja i vozila za ispitivanje opisano u Prilogu 5. primjenjuju se prije provedbe prvog valjanog ispitivanja emisije.

3.2.3.   Do obnavljanja ne smije doći tijekom pripreme vozila. To se može osigurati jednom od sljedećih metoda:

3.2.3.1.   Probni sustav obnavljanja ili djelomični sustav mogu se ugraditi za cikluse prekondicioniranja.

3.2.3.2.   Svaka druga metoda dogovorena između proizvođača i homologacijskog tijela.

3.2.4.   Ispitivanje emisije ispuha pri pokretanju hladnog motora, uključujući postupak obnavljanja, provodi se u skladu s radnim ciklusom tipa I ili istovjetnim ciklusom ispitivanja motora na pokusnom uređaju. Ako se ispitivanja emisija između dva ciklusa gdje dolazi do faza obnavljanja provode na pokusnom uređaju za ispitivanje motora, ispitivanje emisija, uključujući fazu obnavljanja, također se provodi na pokusnom uređaju za ispitivanje motora.

3.2.5.   Ako postupak obnavljanja zahtijeva više od jednog radnog ciklusa, kasniji ciklus (ciklusi) ispitivanja odmah se provodi (provode), bez isključivanja motora, sve do postizanja potpunog obnavljanja (svaki ciklus je završen). Vrijeme potrebno za uspostavljanje novog ispitivanja treba biti što kraće (npr. promjena posebnog filtra za čestice). Motor treba biti isključen tijekom ovog razdoblja.

3.2.6.   Vrijednosti emisije ugljičnog dioksida i potrošnje goriva tijekom obnavljanja (Mri) izračunavaju se u skladu s Prilogom 5., stavkom 1.4.3. i 1.5. Bilježi se broj radnih ciklusa (d) izmjerenih za cjelokupno obnavljanje.

3.3.   Izračun kombinirane emisije ugljičnog dioksida i potrošnje goriva

Formula

Formula

gdje je za svaku razmatranu emisiju ugljičnog dioksida i potrošnju goriva:

M’sij

=

masene emisije CO2 u g/km i potrošnja goriva u l/100 km tijekom jednog dijela i. radnog ciklusa (ili istovjetnog ispitivanja motora na pokusnom uređaju) bez obnavljanja

M’rij

=

masene emisije CO2 u g/km i potrošnja goriva u l/100 km tijekom jednog dijela i. radnog ciklusa (ili istovjetnog ispitivanja motora na pokusnom uređaju) tijekom obnavljanja (kada je n > 1, prvo ispitivanje ciklusa tipa I se provodi hladno, a kasniji ciklusi su topli)

Msi

=

srednja vrijednost masenih emisija CO2 u g/km i potrošnje goriva u l/100 km tijekom jednog dijela i. radnog ciklusa bez obnavljanja

Mri

=

srednja vrijednost masenih emisija CO2 u g/km i potrošnje goriva u l/100 km tijekom jednog dijela i. radnog ciklusa tijekom obnavljanja

Mpi

=

srednja vrijednost masene emisije CO2 u g/km i potrošnje goriva u l/100 km

N

=

broj točaka ispitivanja na kojima se provode mjerenja emisija (radnih ciklusa tipa I ili istovjetnih ciklusa ispitivanja motora na pokusnom uređaju) između dva ciklusa kada dolazi do faza obnavljanja, ≥ 2

d

=

broj radnih ciklusa potrebnih za obnavljanje

D

=

broj radnih ciklusa između dva ciklusa kada dolazi do faza obnavljanja

Za primjere prikaza parametara mjerenja vidjeti sliku 1.

Slika 1.

Parametri izmjereni prilikom ispitivanja emisije ugljičnog dioksida i potrošnje goriva tijekom i između ciklusa kada dolazi do obnavljanja (shematski primjer, emisije tijekom „D” mogu se povećati ili smanjiti)

Image

3.4.   Izračun faktora obnavljanja K za svaku razmatranu emisiju ugljičnog dioksida i potrošnju goriva i.

Formula

Rezultati Msi, Mpi i Ki bilježe se u izvješću o ispitivanju koji dostavlja tehnička služba.

Ki se može odrediti nakon završetka jednog postupka.


11/Sv. 059

HR

Službeni list Europske unije

80


42010X0710(02)


L 177/40

SLUŽBENI LIST EUROPSKE UNIJE

10.07.2010.


Samo izvorni tekstovi UN/ECE-a imaju pravni učinak prema međunarodnom javnom pravu. Status i dan stupanja na snagu ovog Pravilnika treba provjeriti u zadnjem izdanju UN/ECE dokumenta TRANS/WP.29/343, koji je dostupan na: http://www.unece.org/trans/main/wp29/wp29wgs/wp29gen/wp29fdocstts.html

Pravilnik br. 6. Gospodarske komisije Ujedinjenih naroda za Europu (UN/ECE) — Jedinstvene odredbe o homologaciji pokazivača smjera za motorna vozila i njihove prikolice

Uključuje sav važeći tekst do:

dopune 18. niza izmjena 01 – dan stupanja na snagu: 24. listopada 2009.

ispravka 1. dopune 18. – dan stupanja na snagu: 11. studenoga 2009.

dopune 19. niza izmjena 01 – dan stupanja na snagu: 19. kolovoza 2010.

SADRŽAJ

PRAVILNIK

0.

Područje primjene

1.

Definicije

2.

Zahtjev za homologaciju

3.

Označivanje

4.

Homologacija

5.

Opći zahtjevi

6.

Jakost emitiranog svjetla

7.

Postupak ispitivanja

8.

Boja emitiranog svjetla

9.

Preinake tipa pokazivača smjera za motorna vozila i njihove prikolice i proširenje homologacije

10.

Sukladnost proizvodnje

11.

Kazne za nesukladnost proizvodnje

12.

Konačna obustava proizvodnje

13.

Nazivi i adrese tehničkih službi koje provode homologacijska ispitivanja te administrativnih tijela

14.

Prijelazne odredbe

PRILOZI

Prilog 1. —

Kategorije pokazivača smjera: Najmanji kutovi potrebni za raspodjelu svjetlosti u prostoru ovih kategorija pokazivača smjera

Prilog 2. —

Izjava o homologaciji ili proširenju ili odbijanju ili povlačenju zahtjeva za homologaciju ili konačnoj obustavi proizvodnje tipa pokazivača smjera u skladu s Pravilnikom br. 6

Prilog 3. —

Postavljanje homologacijske oznake

Prilog 4. —

Fotometrijska mjerenja

Prilog 5. —

Boja jantarnih svjetala – trikromatske koordinate

Prilog 6. —

Najmanji zahtjevi za postupke provjere sukladnosti proizvodnje

Prilog 7. —

Najmanji zahtjevi za uzorkovanje od strane osobe koja obavlja nadzor

0.   PODRUČJE PRIMJENE

Ovaj se Pravilnik odnosi na pokazivače smjera za vozila kategorija L, M, N, O i T (1).

1.   DEFINICIJE

Za potrebe ovog Pravilnika:

1.1.   „Pokazivač smjera” znači uređaj ugrađen na motorno vozilo ili prikolicu koji, kada njime upravlja vozač, pokazuje njegovu namjeru o promijeni smjera u kojem se vozilo nastavlja kretati. Ovaj se Pravilnik odnosi isključivo na čvrsto ugrađene uređaje s bljeskajućim svjetlom, čije se bljeskanje dobiva isprekidanim napajanjem žarulje električnom strujom.

1.2.   Definicije navedene u Pravilniku br. 48. i njegovom nizovima izmjena na snazi u trenutku podnošenja zahtjeva za homologaciju tipa primjenjuju se na ovaj Pravilnik.

1.3.   „Pokazivači smjera različitog tipa” znači svjetla koja se razlikuju u sljedećim bitnim značajkama:

(a)

trgovačkom nazivu ili oznaci;

(b)

karakteristikama optičkog sustava (razine osvjetljavanja, kutovi raspodjele svjetlosti, kategorija žarulje sa žarnom niti, modul izvora svjetlosti itd.);

(c)

kategorijom svjetala pokazivača smjera;

(d)

proizvoljnom regulacijom jakosti svjetlosti, ako postoji.

Promjena boje žarulje sa žarnom niti ili boje bilo kojeg filtra ne predstavlja promjenu tipa.

1.4.   Upućivanja u ovom Pravilniku na standardnu (étalon) žarulju (standardne (étalon) žarulje) sa žarnom niti i na Pravilnik broj 37. odnose se na Pravilnik broj 37. kako je izmijenjen nizom izmjena na snazi u trenutku podnošenja zahtjeva za homologaciju tipa.

2.   ZAHTJEV ZA HOMOLOGACIJU

2.1.   Zahtjev za homologaciju tipa pokazivača smjera podnosi nositelj trgovačkog naziva ili oznake ili njegov propisno ovlašten predstavnik. Zahtjev određuje kojoj kategoriji ili kojim kategorijama 1, 1a, 1b, 2a, 2b, 5 ili 6 sukladno Prilogu 1. pokazivač smjera pripada i, ako pripada kategoriji 2, ima li jednu razinu osvjetljavanja (kategorija 2a) ili dvije razine osvjetljavanja (kategorija 2b) te može li se pokazivač smjera također koristiti u sklopu dva svjetla iste kategorije. Po izboru podnositelja, zahtjev također određuje da se uređaj može ugraditi u vozilo pod različitim kutovima referentne osi u odnosu na referentne ravnine vozila i zemlju ili rotirati oko svoje referentne osi; ove različite uvjete ugradbe treba naznačiti u obrascu s izjavom.

2.2.   Za svaki tip pokazivača smjera uz zahtjev treba priložiti sljedeće:

2.2.1.   crteže, u tri primjerka s dovoljno pojedinosti koje omogućuju identifikaciju tipa i kategorije, geometrijski prikazujući položaj (položaje) u kojem se pokazivač smjera može ugraditi u vozilo; os promatranja koju se uzima kao referentnu os u ispitivanjima (vodoravni kut H = O°, uspravni kut V = 0°); i točku koju se uzima kao referentno središte u navedenim ispitivanjima. Crteži pokazuju položaj namijenjen za broj sukladnosti i dodatne simbole u odnosu na krug homologacijske oznake;

2.2.2.   kratak tehnički opis, s iznimkom svjetala s nezamjenjivim izvorima svjetlosti, koji navodi posebno:

(a)

kategoriju ili kategorije propisane žarulje (propisanih žarulja) sa žarnom niti; ova kategorija žarulja sa žarnom niti jedna je od onih sadržanih u Pravilniku br. 37. i njegovim nizovima izmjena na snazi u trenutku podnošenja zahtjeva za homologaciju; i/ili

(b)

posebni identifikacijski kod modula izvora svjetlosti.

2.2.3.   Za pokazivač smjera kategorije 2b sažet opis proizvoljne regulacije jakosti svjetlosti, shemu rasporeda i specifikaciju značajki sustava koji osigurava dvije razine osvjetljavanja;

2.2.4.   za pokazivač smjera sa svjetlom kategorije 1, 1a, 1b, 2a i 2b podatke koji se odnose na signal u skladu s niže navedenim stavkom 6.2.2.

2.2.5.   Dva uzorka; ako se homologacija odnosi na uređaje koji nisu istovjetni, već su simetrični i prikladni za ugradbu jedan na lijevu stranu i drugi na desnu stranu vozila, dva podnesena uzorka mogu biti istovjetna i prikladna za ugradbu samo na desnu ili samo na lijevu stranu vozila.

Za pokazivač smjera kategorije 2b zahtjev također mora sadržavati uzorak proizvoljne regulacije jakosti svjetlosti ili generator koji osigurava isti signal (signale).

3.   OZNAČIVANJE

Uređaji koji se podnose na homologaciju trebaju:

3.1.   sadržavati trgovački naziv ili oznaku podnositelja zahtjeva; ova oznaka treba biti jasno čitljiva i neizbrisiva;

3.2.   s iznimkom svjetala s nezamjenjivim izvorima svjetlosti, sadržavati jasno čitljivu oznaku koja navodi:

(a)

kategoriju ili kategorije propisane žarulje (propisanih žarulja) sa žarnom niti; i/ili

(b)

poseban identifikacijski kod modula izvora svjetlosti;

3.3.   obuhvaćati prostor dostatne veličine za homologacijsku oznaku i dodatne simbole propisane u niže navedenom stavku 4.2.; ovaj prostor treba biti prikazan u crtežima u gore spomenutom stavku 2.2.1.;

3.4.   u slučaju svjetala s elektroničkom kontrolom izvora svjetlosti ili proizvoljne regulacije jakosti svjetlosti i/ili nezamjenjivim izvorima svjetlosti i/ili modulom (modulima) izvora svjetlosti, sadržavati oznaku nazivnog napona ili raspona napona i nazivne najveće potrošnje u vatima;

3.5.   u slučaju žarulja s modulom (modulima) izvora svjetlosti, modul (moduli) izvora svjetlosti sadržavaju:

3.5.1.   trgovački naziv ili oznaku podnositelja zahtjeva; ova oznaka mora biti jasno čitljiva i neizbrisiva;

3.5.2.   posebni identifikacijski kod modula; ta oznaka mora biti jasno čitljiva i neizbrisiva. Taj posebni identifikacijski kod obuhvaća početna slova „MD” od „MODUL” nakon kojih slijedi homologacijska oznaka bez kruga kako je propisano u niže navedenom stavku 4.2.1.1. i, u slučaju uporabe nekoliko neistovjetnih modula izvora svjetlosti, nakon kojeg dolaze dodatni simboli i znakovi; taj poseban identifikacijski kod prikazuje se u crtežima u gore spomenutom stavku 2.2.1.

Oznaka homologacije ne mora biti ista kao ona na svjetlu za koju se modul upotrebljava, ali obje oznake trebaju biti od istog podnositelja zahtjeva;

3.5.3.   oznaku nazivnog napona ili raspona napona i nazivne najveće potrošnje u vatima.

3.6.   Elektronička kontrola izvora svjetlosti ili proizvoljna regulacija jakosti svjetlosti koji su dio svjetla ali nisu dio tijela svjetla sadržavaju naziv proizvođača i njegov identifikacijski broj.

4.   HOMOLOGACIJA

4.1.   Općenito

4.1.1.   Ako oba uređaja podnesena za homologaciju u skladu s gore navedenim stavkom 2.2.4. ispunjavaju zahtjeve ovog Pravilnika, izdaje se homologacija.

4.1.2.   Ako su udružena, spojena ili uzajamno povezana svjetla u skladu sa zahtjevima nekoliko pravilnika priloženih Sporazumu iz 1958. može se primijeniti jedinstvena međunarodna homologacijska oznaka pod uvjetom da takva svjetla nisu udružena, spojena ili uzajamno povezana sa svjetlom ili svjetlima koja ne ispunjavaju bilo koji od ovih pravilnika.

4.1.3.   Homologacijski broj dodjeljuje se svakom homologiranom tipu. Prve dvije znamenke (trenutačno 01, koje odgovaraju nizu izmjena 01 koje su stupile na snagu 27. srpnja 1987.) označuju nizove izmjena koje uključuju najnovije velike tehničke izmjene Pravilnika u vrijeme izdavanja homologacije. Ista ugovorna stranka ne smije dodjeljivati isti broj drugom tipu uređaja obuhvaćenom ovim Pravilnikom. Pokazivači smjera različitih kategorija označavaju se jedinstvenim homologacijskim brojem kada čine jedan sklop.

4.1.4.   Obavijest o izdavanju ili proširenju ili odbijanju ili povlačenju zahtjeva za homologaciju ili konačnoj obustavi proizvodnje tipa uređaja u skladu s ovim Pravilnikom izdaje se strankama ovog Sporazuma iz 1958. koje primjenjuju ovaj Pravilnik, putem obrasca koji je u skladu s uzorkom u Prilogu 2. ovom Pravilniku.

4.1.5.   Svaki uređaj koji je homologiran u skladu s ovim Pravilnikom sadržava, u prostoru navedenom u gore navedenom stavku 3.3., uz oznake propisane u stavcima 3.1. i 3.2., odnosno 3.4., homologacijsku oznaku opisanu u niže navedenim stavcima 4.2. i 4.3.

4.2.   Sastav homologacijske oznake

Homologacijska oznaka sastoji se od:

4.2.1.   međunarodne homologacijske oznake koja obuhvaća:

4.2.1.1.   krug oko slova „E” nakon kojeg dolazi razlikovni broj države koja je dodijelila homologaciju (2);

4.2.1.2.   homologacijski broj propisan u gore navedenom stavku 4.1.3.;

4.2.2.   sljedeći dodatni simbol (ili dodatne simbole):

4.2.2.1.   jedan ili više brojeva: 1, 1a,1b, 2a, 2b, 5 ili 6 ovisno o tome pripada li uređaj jednoj ili više kategorija 1, 1a,1b, 2a, 2b, 5 ili 6 za koji se traži homologacija u skladu sa stavkom 2.1.;

4.2.2.2.   na uređajima koji se ne mogu proizvoljno postaviti na obje strane vozila vodoravna strelica koja pokazuje u kojem položaju se postavlja uređaj (strelica je usmjerena od vozila u slučaju uređaja kategorija 1, 1a, 1b, 2a i 2b i prema prednjem kraju vozila u slučaju uređaja kategorija 3, 4, 5 i 6). Uz to, za uređaje kategorije 6 oznaka „R” ili „L” je u ovom slučaju prikazana na uređaju označavajući desnu ili lijevu stranu vozila;

4.2.2.3.   na uređajima koji se mogu upotrijebiti kao dio sklopa od dva svjetla dodatno slovo „D” s desne strane simbola spomenutog u stavku 4.2.2.1.;

4.2.2.4.   na uređajima sa smanjenom raspodjelom svjetlosti u skladu sa stavkom 2.1.3. Priloga 4. ovom Pravilniku uspravna strelica koja počinje od vodoravnog segmenta i usmjerena je prema dolje;

4.2.2.5.   dvije znamenke homologacijskog broja koje označavaju niz izmjena koje su bile na snazi u vrijeme izdavanja homologacije i, ako je potrebno, potrebna strelica može se označiti u blizini gore navedenih dodatnih simbola;

4.2.2.6.   oznake i simboli navedeni u gore navedenim stavcima 4.2.1. i 4.2.2.moraju biti jasno čitljivi i neizbrisivi, čak i kada je uređaj ugrađen na vozilo.

4.3.   Postavljanje homologacijske oznake

4.3.1.   Neovisna svjetla

Prilog 3., slika 1. ovog Pravilnika daje primjer postavljanja homologacijskih oznaka s gore spomenutim simbolima.

Ako različiti tipovi svjetala koji su u skladu sa zahtjevima nekoliko Pravilnika upotrebljavaju istu vanjsku leću iste ili različite boje, može se pričvrstiti jedinstvena homologacijska oznaka koja se sastoji od kruga oko slova „E” nakon kojeg dolazi razlikovni broj države koja je dodijelila homologaciju i homologacijski broj. Ta homologacijska oznaka može se smjestiti bilo gdje na svjetlu, pod uvjetom da:

4.3.1.1.   ostane vidljiva nakon ugradbe svjetala.

4.3.1.2.   Identifikacijski simbol za svako svjetlo odgovara svakom pravilniku sukladno kojem je dodijeljena homologacija, zajedno s odgovarajućim nizom izmjena koje uključuju najnovije velike tehničke izmjene Pravilnika u vrijeme izdavanja homologacije i prema potrebi se naznačuje propisana strelica.

4.3.1.3.   Veličina sastavnih dijelova jedinstvene homologacijske oznake ne smije biti manja od najmanje veličine zahtijevane za najmanju pojedinu oznaku pod kojom je homologacija dodijeljena.

4.3.1.4.   Glavno tijelo svjetla uključuje prostor opisan u gore navedenom stavku 3.3. i sadrži homologacijsku oznaku koja ima stvarnu funkciju (funkcije).

4.3.1.5.   Slika 4. u Prilogu 3. ovom Pravilniku daje primjere homologacijske oznake s gore navedenim dodatnim simbolima.

4.3.2.   Udružena, spojena ili uzajamno povezana svjetla

4.3.2.1.   Ako su udružena, spojena ili uzajamno povezana svjetla u skladu sa zahtjevima nekoliko pravilnika, može se primijeniti jedinstvena međunarodna homologacijska oznaka, koja se sastoji od kruga oko slova „E” nakon kojeg dolazi razlikovni broj države koja je odobrila homologaciju i homologacijski broj. Ta homologacijska oznaka se može smjestiti bilo gdje na udruženim, spojenim ili uzajamno povezanim svjetlima pod uvjetom da:

4.3.2.1.1.   ostane vidljiva nakon ugradbe svjetala;

4.3.2.1.2.   se nijedan dio udruženih, spojenih ili uzajamno povezanih svjetala koji prenosi svjetlost ne može ukloniti bez istovremenog uklanjanja homologacijske oznake;

4.3.2.2.   identifikacijski simbol za svako svjetlo odgovara svakom Pravilniku po kojem je odobrena homologacija, zajedno s odgovarajućim nizom izmjena koje uključuju najnovije velike tehničke izmjene Pravilnika u vrijeme izdavanja homologacije i da se, ako je potrebno, istakne potrebna strelica:

4.3.2.2.1.   ili na odgovarajućoj površini koja emitira svjetlost;

4.3.2.2.2.   ili u skupini, na takav način da svako svjetlo udruženih, spojenih ili uzajamno povezanih svjetala može biti jasno identificirano.

4.3.2.3.   Veličina sastavnih dijelova jedinstvene homologacijske oznake ne smije biti manja od najmanje veličine za najmanju pojedinu oznaku zahtijevane od strane Pravilnika pod kojim homologacija dodijeljena.

4.3.2.4.   Homologacijski broj dodjeljuje se homologiranom dijelu. Ista ugovorna stranka ne smije dodjeljivati isti broj drugom tipu udruženih, spojenih ili uzajamno povezanih svjetala obuhvaćenih ovim Pravilnikom.

4.3.2.5.   Prilog 3., slika 2. ovog Pravilnika daje primjere postavljanja homologacijskih oznaka za udružena, spojena ili uzajamno povezana svjetla sa svim gore navedenim dodatnim simbolima.

4.3.3.   Svjetla uzajamno povezana s drugim svjetlima čija se leća također može upotrebljavati za druge tipove glavnih svjetala

Primjenjuju se odredbe propisane u gore navedenom stavku 4.3.2.

4.3.3.1.   Osim toga, kada se koristi ista leća, drugo svjetlo može sadržavati različite homologacijske oznake koje se odnose na različite tipove prednjih svjetala ili jedinica svjetala pod uvjetom da glavno tijelo glavnog svjetla, čak i ako se ne može odvojiti od leće, također obuhvaća prostor opisan u gore navedenom stavku 3.3. i ima homologacijske oznake stvarnih funkcija.

Ako različiti tipovi glavnih svjetala sadržavaju isto glavno tijelo, ono može sadržavati različite homologacijske oznake.

4.3.3.2.   Prilog 3., slika 3. ovog Pravilnika daje primjer homologacijskih oznaka za svjetla koja su uzajamno povezana s glavnim svjetlom.

4.4.   Homologacijske oznake su jasno čitljive i neizbrisive. Oznaka se može staviti na unutarnji ili vanjski dio (koji je proziran ili nije) uređaja koji nije odvojiv od prozirnog dijela uređaja koji emitira svjetlost. U svakom slučaju, oznaka treba biti vidljiva kada se uređaj ugradi u vozilo ili kada se otvori pomični dio kao što su pokrov motora ili prtljažnika, ili vrata.

5.   OPĆI ZAHTJEVI

5.1.   Svaki dostavljeni uređaj mora ispunjavati zahtjeve u niže navedenim stavcima 6. i 8.

5.2.   Uređaji moraju biti oblikovani i izrađeni tako da je u uobičajenim uvjetima uporabe i neovisno o vibracijama kojima bi mogli biti izloženi tijekom takve uporabe osiguran njihov zadovoljavajući rad te da zadržavaju obilježja predviđena ovim Pravilnikom.

5.3.   U slučaju modula izvora svjetlosti provjerava se:

5.3.1.   da je oblikovanje jednog modula izvora svjetlosti ili više njih takav da:

(a)

se svaki modul izvora svjetlosti ne može ugraditi ni u jedan drugi položaj osim onog za koji je određen i koji je ispravan i da se može ukloniti samo alatom;

(b)

ako se upotrebljava više od jednog modula izvora svjetlosti u kućištu uređaja, moduli izvora svjetlosti koji imaju različite značajke ne mogu se zamjenjivati unutar istog kućišta svjetla.

5.3.2.   Modul(i) izvora svjetlosti mora(ju) biti zaštićen(i) od neovlaštenog otvaranja.

5.4.   U slučaju kvara proizvoljne regulacije jakosti svjetlosti pokazivača smjera kategorije 2b koji emitira više od najveće vrijednosti za kategoriju 2a, zahtjevi stalne jakosti svjetlosti kategorije 2a moraju se ispuniti automatski.

5.5.   U slučaju zamjenjive žarulje sa žarnom niti:

5.5.1.   Nijedna kategorija ili kategorije žarulje(-a) sa žarnom niti odobrenih u skladu s Pravilnikom br. 37. ne može se upotrebljavati ako ta uporaba nije zabranjena Pravilnikom br. 37. i njegovim nizovima izmjena na snazi u vrijeme prijave za homologaciju tipa.

5.5.2.   Dizajn uređaja mora biti takav da se žarulja sa žarnom niti ne može ugraditi u nijedan drugi položaj osim onog ispravnog.

5.5.3.   Vlasnik žarulje sa žarnom niti mora se uskladiti sa značajkama koje su navedene u objavi 60061 Međunarodne elektrotehničke komisije (IEC). Primjenjuje se vlasnički list važan za kategoriju žarulje sa žarnom niti koja se upotrebljava.

6.   JAKOST EMITIRANOG SVJETLA

6.1.   Svjetlost koju emitira svaki od dostavljenih uređaja mora biti u referentnoj osi u slučaju pokazivača smjera kategorija 1, 1a, 1b, 2a ili 2b, a u slučaju pokazivača smjera, kategorija 5 ili 6 u smjeru A u skladu s Prilogom 1., ne manja od najmanje jakosti i ne veća od najveće jakosti navedene ispod:

Kategorija pokazivača smjera

Najmanja svjetlosna jakost u cd

Najveća svjetlosna jakost u cd kada se upotrebljava kao

pojedinačno svjetlo

svjetlo (pojedinačno) označeno „D” (vidjeti stavak 4.2.2.3.)

1

175

1 000

500

1a

250

1 200

600

1b

400

1 200

600

2a (jedna razina osvjetljavanja)

50

500

250

2b (dvije razine osvjetljavanja)

50

1 000

500

5

0,6

280

140

6

50

280

140

6.1.1.   Za sklop od dva ili više svjetla pokazivača smjera ukupna jakost ne smije prelaziti najveću vrijednost.

6.1.2.   Kada se za sklop od dvaju ili više svjetala s istom funkcijom smatra jednim svjetlom, ono mora biti u skladu sa uvjetima u pogledu:

(a)

najveće jakosti svih zajedno upaljenih svjetala (zadnji stupac tablice);

(b)

najmanje jakosti ako je jedno svjetlo u kvaru.

6.2.   U slučaju kvara pojedinačnih svjetala kategorija 1, 1a, 1b, 2a i 2b, koja sadržavaju jedan ili više izvora svjetlosti primjenjuju se sljedeće odredbe:

6.2.1.   Skupina izvora svjetlosti ožičenih, da kvar bilo kojeg od njih uzrokuje prestanak emitiranja svjetlosti svih svjetala, smatra se jednim izvorom svjetlosti.

6.2.2.   Signal za aktiviranje pokazne svjetiljke propisane u stavku 6.5.8. Pravilnika br. 48. proizvodi se ako:

(a)

je samo jedan izvor svjetlosti u kvaru; ili

(b)

u slučaju svjetla koje je osmišljeno za samo dva izvora sa žaruljom sa žarnom niti, jakost je u referentnoj osi manja od 50 posto najmanje jakosti; ili

(c)

je kao posljedica kvara jednog ili više izvora svjetlosti, jakost u jednom od sljedećih smjerova, kako je navedeno u Prilogu 4. ovom Pravilniku, manja od najmanje zahtijevane jakosti:

i.

H = 0°, V = 0

ii.

H = 20° s vanjske strane vozila, V = + 5°

iii.

H = 10° s unutarnje strane vozila, V = 0°.

6.3.   Kada su svi izvori svjetlosti osvijetljeni, najveća navedena jakost za pojedinačno svjetlo može se premašiti ako to pojedinačno svjetlo nije označeno „D” i najveća navedena jakost za sklop od dvaju ili više svjetala nije premašena.

6.4.   Izvan referentne osi, unutar kutnih polja navedenih u shemi rasporeda u Prilogu 1. ovom Pravilniku, jakost svjetlosti koju emitira svaki od dva dostavljena uređaja mora:

6.4.1.   u svakom smjeru koji odgovara točkama u mjerodavnoj tablici raspodjele svjetlosne jakosti otisnutoj u Prilogu 4. ovom Pravilniku biti veća od najmanje vrijednosti određene u gore navedenom stavku 6.1. pomnožene s postotkom navedenim u spomenutoj tablici za dotični smjer;

6.4.1.1.   odstupajući od stavaka 6.4. i 6.4.1., za pokazivače smjera kategorije 5, za stražnju stranu, zahtjeva se najmanja vrijednost od 0,6 cd u svim poljima navedenima u Prilogu 1.;

6.4.2.   ni u kojem smjeru unutar područja u kojem je svjetlo pokazivača vidljivo, premašiti najveću vrijednost navedenu u gornjem stavku 6.1.;

6.4.3.   nadalje,

6.4.3.1.   u svim poljima određenima u dijagramima u Prilogu 1., jakost emitiranog svjetla ne smije biti manja od 0,7 cd za uređaje kategorije 1b, ne manja od 0,3 cd za uređaje kategorija 1, 1a, 2a, 2b i za uređaje kategorije 2b danju; ne smije biti manja od 0,07 cd za uređaje kategorije 2b noću;

6.4.3.2.   odredbe iz stavka 2.2. Priloga 4. ovom Pravilniku o lokalnim razlikama jakosti moraju se poštovati.

6.5.   Općenito se jakosti moraju mjeriti s izvorom (izvorima) svjetlosti neprekidno uključenima.

Ipak, ovisno o konstrukciji uređaja, na primjer, uporaba svjetlećih dioda (LED), ili potrebi poduzimanja mjera opreza da se izbjegne pregrijavanje, dopušteno je mjeriti svjetla u bljeskajućem načinu rada.

To se mora postignuti uklapanjem i isklapanjem uz frekvenciju od f = 1,5 ± 0,5 Hz s impulsom duljim od 0,3 s, izmjereno na 95 posto najveće vrijednosti jakosti svjetlosti.

U slučaju zamjenjivih žarulja sa žarnom niti, žarulje sa žarnom niti rade u referentnom svjetlosnom tijeku dok su uključene. U svim drugim slučajevima napon utvrđen u stavku 7.1.1. se mijenja s vremenom porasta i vremenom pada kraćim od 0,01 s; prekoračenje napona nije dopušteno.

U slučaju mjerenja u bljeskajućem načinu rada zabilježena svjetlosna jakost predstavlja najveću vrijednost jakosti.

6.6.   U slučaju uređaja kategorije 2b vrijeme koje prođe od uključivanja napajanja izvora svjetlosti i izlazne količine svjetlosti izmjerene na referentnoj osi kako bi se postignulo 90 posto vrijednosti izmjerene u skladu s gore navedenim stavkom 6.3., treba mjeriti za ekstremne razine svjetlosne jakosti koje stvaraju pokazivači smjera. Vrijeme koje je izmjereno za postizanje najniže svjetlosne jakosti ne smije premašiti vrijeme izmjereno za postizanje najviše svjetlosne jakosti.

6.7.   Proizvoljna regulacija jakosti svjetlosti ne smije proizvoditi signale koji uzrokuju svjetlosne jakosti:

6.7.1.   izvan raspona određenog u gore navedenom stavku 6.1.; i

6.7.2.   koje premašuju najveću vrijednost kategorije 2a određenu u stavku 6.1.:

(a)

za sustave ovise samo o dnevnim i noćnim uvjetima: pod noćnim uvjetima;

(b)

za ostale sustave: pod preporučenim uvjetima kako je pokazao proizvođač (3).

6.8.   Prilog 4., naveden u gore spomenutom stavku 6.2.1., daje pojedinosti o načinima mjerenja koji se koriste.

7.   POSTUPAK ISPITIVANJA

7.1.   Sva mjerenja, fotometrijska i kolorimetrijska provode se:

7.1.1.   u slučaju svjetla sa zamjenjivim izvorom svjetlosti, ako nisu ona koja pružaju elektroničku kontrolu izvora svjetlosti ili proizvoljnu regulaciju jakosti svjetlosti, s bezbojnom ili obojenom standardnom žaruljom sa žarnom niti kategorije propisane za uređaj, dostavljenu s naponom potrebnim za stvaranje referentnog svjetlosnog tijeka koji se zahtijeva za tu kategoriju žarulje sa žarnom niti.

7.1.2.   U slučaju svjetla koje je opremljeno nezamjenjivim izvorima svjetlosti (žarulje sa žarnom niti ili ostalo), na 6,75 V, 13,5 V odnosno 28,0 V.

7.1.3.   U slučaju sustava koji upotrebljava elektroničku kontrolu izvora svjetlosti ili proizvoljnu regulaciju jakosti svjetlosti, a dio je svjetla (4) primjenom napona prijavljenog od strane proizvođača na ulazne terminale svjetla, ili ako napon nije naveden 6,75 V, 13,5 V, odnosno 28,0 V.

7.1.4.   U slučaju sustava koji upotrebljava elektroničku kontrolu izvora svjetlosti ili sustav dvostruke jakosti osvjetljavanja, a nije dio svjetla, naponom prijavljenim od strane proizvođača primjenom napona na ulazne terminale svjetla.

7.2.   Ipak u slučaju pokazivača smjera kategorije 2b kojima upravlja proizvoljna regulacija jakosti svjetlosti za postizanje dvije razine jakosti osvjetljavanja fotometrijska mjerenja provode se u skladu s opisom podnositelja zahtjeva.

7.3.   Laboratorij za ispitivanja zahtijeva od proizvođača sustav kontrole izvora svjetlosti ili proizvoljnu regulaciju jakosti svjetlosti za opskrbu izvora svjetlosti i primjenjive funkcije.

7.4.   Napon koji se primjenjuje za svjetlo je zabilježen u obrascu s izjavom u Prilogu 2. ovom Pravilniku.

7.5.   Granične vrijednosti vidljive površine u smjeru referentne osi pokazivača smjera, moraju se utvrditi. Ipak, u slučaju pokazivača smjera kategorije 5 i 6, utvrđuju se granične vrijednosti površine koja emitira svjetlost.

8.   BOJA EMITIRANOG SVJETLA

Boja emitiranog svjetla unutar polja svjetlosne distribucijske mreže određena u stavku 2. Priloga 4. treba biti jantarna. Za ispitivanje vidjeti Prilog 5. ovom Pravilniku. Izvan tog polja ne smiju se primijetiti nikakve oštre promjene boje. Ti uvjeti također se primjenjuju u području dviju razina osvjetljavanja koje stvaraju pokazivači smjera kategorije 2b.

9.   PREINAKE TIPA POKAZIVAČA SMJERA ZA MOTORNA VOZILA I NJIHOVE PRIKOLICE TE PROŠIRENJE HOMOLOGACIJE

9.1.   O svakoj preinaci tipa pokazivača smjera treba obavijestiti administrativno tijelo koje je homologirao taj tip. Tijelo tada može ili:

9.1.1.   ocijeniti da nije vjerojatno da učinjene izmjene imaju znatan štetan učinak i da u svakom slučaju uređaj i dalje ispunjava uvjete; ili

9.1.2.   zatražiti ponovno izvješće o ispitivanju od tehničke službe odgovorne za provedbu ispitivanja.

9.2.   Potvrda ili odbijanje homologacije, uz navedene izmjene, dostavlja se strankama Sporazuma koje primjenjuju ovaj Pravilnik na način naveden u gore spomenutom stavku 4.1.4.

9.3.   Nadležno tijelo koje izdaje proširenje homologacije dodjeljuje serijski broj za takvo proširenje i obavješćuje ostale stranke Sporazuma iz 1958. koje primjenjuju ovaj Pravilnik, putem obrasca s izjavom koji je u skladu s uzorkom u Prilogu 2. ovom Pravilniku.

10.   SUKLADNOST PROIZVODNJE

Postupci provjere sukladnosti moraju biti u skladu s onima navedenima u Sporazumu, Dodatak 2. (E/ECE/324-E/ECE/TRANS/505/Rev.2), uz sljedeće zahtjeve:

10.1.   Pokazivači smjera homologirani sukladno ovom Pravilniku proizvode se tako da su sukladni homologiranom tipu, ispunjavajući zahtjeve navedene u gore navedenim stavcima 6. i 8.

10.2.   Najmanji zahtjevi za nadzor postupaka sukladnosti proizvodnje navedeni u Prilogu 6. ovom Pravilniku moraju biti ispunjeni.

10.3.   Najmanji zahtjevi za uzorkovanje od strane inspektora utvrđeni u Prilogu 7. ovom Pravilniku moraju biti ispunjeni.

10.4.   Tijelo koje je odobrilo homologaciju tipa može u bilo koje vrijeme provjeriti načine nadzora sukladnosti koji se primjenjuju u svakom proizvodnom postrojenju. Uobičajena učestalost ovih provjera je jedanput svake dvije godine.

11.   KAZNE ZA NESUKLADNOST PROIZVODNJE

11.1.   Izdana homologacija koji se odnosi na uređaj koji je u skladu s ovim Pravilnikom može biti povučena ako prije spomenuti zahtjevi nisu ispunjeni.

11.2.   Ako ugovorna stranka Sporazuma koja primjenjuje ovaj Pravilnik povuče homologaciju koju je prethodno dodijelila o tome odmah obavješćuje druge ugovorne stranke koje primjenjuju ovaj Pravilnik putem obrasca s izjavom u skladu s uzorkom u Prilogu 2. ovom Pravilniku.

12.   KONAČNA OBUSTAVA PROIZVODNJE

Ako nositelj homologacije u potpunosti prestane proizvoditi uređaj homologiran u skladu s ovim Pravilnikom o tome treba obavijestiti tijelo koje je izdalo homologaciju. Nakon primitka odgovarajuće izjave, to tijelo treba obavijestiti ostale stranke Sporazuma iz 1958. koje primjenjuju ovaj Pravilnik putem obrasca s izjavom koji je u skladu s uzorkom u Prilogu 2. ovom Pravilniku.

13.   NAZIVI I ADRESE TEHNIČKIH SLUŽBI ODGOVORNIH ZA PROVEDBU HOMOLOGACIJSKIH ISPITIVANJA I ADMINISTRATIVNIH TIJELA

Ugovorne stranke Sporazuma iz 1958. koje primjenjuju ovaj Pravilnik obavješćuju Tajništvo Ujedinjenih naroda o nazivima i adresama tehničkih službi odgovornih za provedbu homologacijskih ispitivanja i administrativnih tijela koja izdaju homologaciju i kojima se šalju obrasci koji potvrđuju izdavanje ili proširenje ili odbijanje ili povlačenje homologacija koje su izdane u drugim državama.

14.   PRIJELAZNE ODREDBE

14.1.   Od službenog dana stupanja na snagu dopune 8. nizu izmjena 01, nijedna ugovorna stranka koja primjenjuje ovaj Pravilnik neće odbiti izdavanje ECE homologacije na temelju ovog Pravilnika kako je izmijenjen dopunom 8. nizu izmjena 01.

14.2.   Nakon 24 mjeseca od dana stupanja na snagu ugovorne stranke koje primjenjuju ovaj Pravilnik trebaju izdati ECE homologacije samo ako tip pokazivača smjera koji treba homologirati ispunjava zahtjeve ovog Pravilnika kako je izmijenjen dopunom 8. nizu izmjena 01.

14.3.   Ugovorne stranke koje primjenjuju ovaj Pravilnik neće odbiti izdavanje proširenja homologacije koja je u skladu s prethodnim nizom izmjena ovog Pravilnika.

14.4.   Ugovorne stranke koje primjenjuju ovaj Pravilnik nastavljaju izdavati homologaciju za one tipove pokazivača smjera koji su u skladu sa zahtjevima ovog Pravilnika kako je izmijenjeno prethodnim nizom izmjena tijekom razdoblja od 12 mjeseci koje nastupa nakon dana stupanja na snagu dopune 8. nizu izmjena 01.

14.5.   ECE homologacije izdane na temelju ovog Pravilnika prije od 12 mjeseci nakon dana stupanja na snagu i sva proširenja homologacija, uključujući ona u prethodnom nizu izmjena ovog Pravilnika koja su naknadno dodijeljena, ostaju valjana na neodređeno vrijeme. Kada tip pokazivača smjera koji je homologiran u skladu s prethodnim nizom izmjena ispunjava zahtjeve ovog Pravilnika kako je izmijenjen dopunom 8. nizu izmjena 01, ugovorna stranka koja je izdala homologaciju treba obavijestiti ostale ugovorne stranke koje primjenjuju ovaj Pravilnik.

14.6.   Nijedna ugovorna stranka koja primjenjuje ovaj Pravilnik neće odbiti tip pokazivača smjera homologiran u skladu s dopunom 8. nizu izmjena 01 ovog Pravilnika.

14.7.   Do 36 mjeseci nakon dana stupanja na snagu dopune 8. nizu izmjena 01 ovog Pravilnika, nijedna ugovorna stranka koja primjenjuje ovaj Pravilnik neće odbiti tip pokazivača smjera homologiran u skladu s prethodnim nizom izmjena ovog Pravilnika.

14.8.   Počevši od 36 mjeseci nakon dana stupanja na snagu dopune 8. nizu izmjena 01 ovog Pravilnika, ugovorna stranka koja primjenjuje ovaj Pravilnik može odbiti prodaju tipa pokazivača smjera koji ne ispunjava uvjete dopune 8. nizu izmjena 01 ovog Pravilnika osim ako pokazivač smjera nije namijenjen kao zamjena za ugradbu u vozila u uporabi.

14.9.   Ugovorne stranke koje primjenjuju ovaj Pravilnik nastavljaju izdavati homologacije za pokazivače smjera na temelju bilo kojih prethodnih nizova izmjena ako su ti pokazivači smjera namijenjeni kao zamjene za ugradbu u vozila u uporabi.

14.10.   Od službenog dana stupanja na snagu dopune 8. nizu izmjena 01 nijedna ugovorna stranka koja primjenjuje ovaj Pravilnik neće zabraniti ugradbu pokazivača smjera u vozilo koje je homologirano u skladu s ovim Pravilnikom kako je izmijenjen dopunom 8. nizu izmjena 01.

14.11.   Ugovorne stranke koje primjenjuju ovaj Pravilnik nastavljaju dopuštati ugradbu pokazivača smjera u vozilo koje je homologirano u skladu s ovim Pravilnikom kako je izmijenjen u prethodnom nizu izmjena tijekom razdoblja od 48 mjeseci koje nastupa nakon dana stupanja na snagu dopune 8. nizu izmjena 01.

14.12.   Nakon isteka roka od 48 mjeseci nakon dana stupanja na snagu dopune 8. nizu izmjena 01 ovog Pravilnika, ugovorne stranke koje primjenjuju ovaj Pravilnik mogu zabraniti ugradbu pokazivača smjera koji ne ispunjava zahtjeve ovog Pravilnika kako je izmijenjeno dopunom 8. nizu izmjena 01 u novo vozilo za kojeg je nacionalna homologacija ili pojedinačna homologacija izdana više od 24 mjeseca nakon dana stupanja na snagu dopune 8. nizu izmjena 01 ovog Pravilnika.

14.13.   Nakon isteka roka od 60 mjeseci nakon dana stupanja na snagu, ugovorne stranke koje primjenjuju ovaj Pravilnik mogu zabraniti ugradbu pokazivača smjera koji ne ispunjava zahtjeve ovog Pravilnika kako je izmijenjen dopunom 8. nizu izmjena 01 u novo vozilo koje je prvi put registrirano više od 60 mjeseci nakon dana stupanja na snagu dopune 8. nizu izmjena 01 ovog Pravilnika.

14.14.   Postojeće homologacije za svjetla pokazivača smjera kategorija 3 i 4, homologiranih u skladu s ovim Pravilnikom prije uvođenja dopune 16. nizu izmjena 01 ostaju valjane na neodređeno vrijeme.


(1)  Kako je definirano u Prilogu 7. Konsolidiranoj rezoluciji o konstrukciju vozila (R.E.3) (dokument TRANS/WP.29/78/Rev.1/Amend.2 kako je zadnje izmijenjen Amend 4.).

(2)  1 za Njemačku, 2 za Francusku, 3 za Italiju, 4 za Nizozemsku, 5 za Švedsku, 6 za Belgiju, 7 za Mađarsku, 8 za Češku, 9 za Španjolsku, 10 za Srbiju, 11 za Ujedinjenu Kraljevinu, 12 za Austriju, 13 za Luksemburg, 14 za Švicarsku, 15 (prazno), 16 za Norvešku, 17 za Finsku, 18 za Dansku, 19 za Rumunjsku, 20 za Poljsku, 21 za Portugal, 22 za Rusku Federaciju, 23 za Grčku, 24 za Irsku, 25 za Hrvatsku, 26 za Sloveniju, 27 za Slovačku, 28 za Bjelarus, 29 za Estoniju, 30 (prazno), 31 za Bosnu i Hercegovinu, 32 za Latviju, 33 (prazno), 34 za Bugarsku, 35 (prazno), 36 za Litvu, 37 za Tursku, 38 (prazno), 39 za Azerbajdžan, 40 za bivšu jugoslavensku republiku Makedoniju, 41 (prazno), 42 za Europsku zajednicu (homologacije izdaju države članice korištenjem svojih pripadajućih ECE simbola), 43 za Japan, 44 (prazno), 45 za Australiju, 46 za Ukrajinu, 47 za Južnu Afriku, 48 za Novi Zeland, 49 za Cipar, 50 za Maltu, 51 za Republiku Koreju, 52 za Maleziju, 53 za Tajland, 54 i 55 (prazno) i 56 za Crnu Goru. Daljnji brojevi dodjeljuju se drugim državama kronološkim redom po kojem ratificiraju ili pristupaju Sporazumu o prihvaćanju jednakih tehničkih propisa za vozila na kotačima, opremu i dijelove koji mogu biti ugrađeni i/ili upotrijebljeni u vozilima na kotačima i uvjetima za uzajamno priznavanje homologacija dodijeljenih na temelju tih propisa, i o tako dodijeljenim brojevima glavni tajnik obavješćuje ugovorne stranke Sporazuma.

(3)  Dobra vidljivost (meteorološki optički raspon MOR > 2 000 m određen u skladu sa Svjetskom meteorološkom organizacijom (WMO), Vodič kroz meteorološke instrumente i metode motrenja, šesto izdanje, ISBN: 92-63-16008-2, pp. 1.9.1/1.9.11, Ženeva 1996.) i čista leća.

(4)  Za potrebe ovog Pravilnika „biti dio svjetla” znači da je fizički uključeno u tijelo svjetla ili je vanjski dio, koji je odvojen ili nije, ali je dostavljen od strane proizvođača svjetla kao dio sklopa svjetla.


PRILOG 1.

Kategorije pokazivača smjera: najmanji kutovi potrebni za raspodjelu svjetlosti u prostoru ovih kategorija pokazivača smjera (1)

U svim slučajevima najmanji su uspravni kutovi raspodjele svjetla u prostoru pokazivača smjera 15° iznad i 15° ispod horizontale, osim:

(a)

u slučaju svjetala pokazivača smjera visine ugradbe jednake ili manje od 750 mm iznad tla, za koje su ti kutovi 15° iznad i 5° ispod horizontale;

(b)

u slučaju pokazivača smjera kategorije 6, za koju su ti kutovi 30° iznad i 5° ispod horizontale.

Najmanji vodoravni kutovi vidljivosti

Pokazivači smjera za prednju stranu vozila

Kategorija 1.

:

za uporabu na udaljenosti ne manjoj od 40 mm od glavnog svjetla;

Kategorija 1a

:

za uporabu na udaljenosti većoj od 20 mm, ali manjoj od 40 mm od glavnog svjetla;

Kategorija 1b

:

za uporabu na udaljenosti manjoj od 20 mm od glavnog svjetla.

Na ili iznad ravnine H za sva svjetla. Ispod ravnine H za svjetla namijenjena za M2, M3, N2 ili N3 kategorije vozila.

Image

Ispod ravnine H za M1 i N1 kategorije vozila

Image

Ravnina H: „horizontalna ravnina koja prolazi kroz referentni centar svjetla”

Kategorije 2a i 2b

:

pokazivači smjera za stražnju stranu vozila

Kategorija 2a

:

pokazivači smjera s jednom razinom jakosti svjetlosti za stražnju stranu vozila

Kategorija 2b

:

pokazivači smjera s dvije razine jakosti svjetlosti za stražnju stranu vozila

Image

Kategorije 5 i 6

:

Dodatni bočni pokazivači smjera za uporabu na vozilu koje je također opremljeno pokazivačima smjera kategorija 1, 1a ili 1b te 2a ili 2b

Image


(1)  Kutovi prikazani na ovim crtežima vrijede za uređaje koji se ugrađuju na desnu stranu vozila. Strelice na ovim dijagramima usmjerene su prema prednjoj strani vozila.


PRILOG 2.

IZJAVA

(Najveći format: A4 (210 × 297 mm))

Image

 (1)

izdalo:

Naziv tijela:

o (2):

IZDAVANJU HOMOLOGACIJE,

PROŠIRENJU HOMOLOGACIJE,

ODBIJANJU HOMOLOGACIJE,

POVLAČENJU HOMOLOGACIJE,

KONAČNOJ OBUSTAVI PROIZVODNJE

za tip prednjeg svjetla u skladu s Pravilnikom br. 6.

Homologacija br. … Proširenje br. …

1.

Trgovački naziv ili oznaka uređaja: …

2.

Naziv proizvođača za tip uređaja: …

3.

Naziv i adresa proizvođača: …

4.

Naziv i adresa zastupnika proizvođača, ako je potrebno: …

5.

Podneseno za homologaciju na: …

6.

Tehnička služba odgovorna za provođenje homologacijskog ispitivanja: …

7.

Datum izvješća ispitivanja izdanog od strane te službe: …

8.

Broj izvješća ispitivanja izdanog od strane te službe: …

9.

Kratak opis:

Kategorija: 1, 1a, 1b, 2a, 2b, 5, 6 (2), (3)

Broj, kategorija i vrsta izvora svjetlosti: …

Napon i nazivna snaga: …

Jedinstveni identifikacijski kod modula izvora svjetlosti: …

Samo za ugradbu u vozila kategorije M1 i/ili N1: da/ne (2)

Samo za ograničenu visinu ugradbe koja je jednaka ili manja od 750 mm iznad tla: da/ne (2)

Geometrijski uvjeti ugradbe i razlike vezane uz ugradbu, ako postoje: …

Primjena elektroničke kontrole izvora svjetlosti/proizvoljne regulacije jakosti svjetlosti:

(a)

koja je dio svjetla: da/ne (2)

(b)

koja nije dio svjetla: da/ne (2)

Ulazni napon (naponi) kojeg (koje) proizvodi elektronička kontrola izvora svjetlosti/proizvoljna regulacija jakosti svjetlosti:

Proizvođač i identifikacijski broj elektroničke kontrole izvora svjetlosti/proizvoljne regulacije jakosti svjetlosti (kada je sustav kontrole izvora svjetlosti dio svjetla, ali nije dio tijela svjetla): …

Promjenjiva jakost svjetlosti: da/ne (2)

10.

Položaj homologacijske oznake: …

11.

Razlog (razlozi) proširenja (prema potrebi): …

12.

Homologacija izdana/proširena/odbijena/povučena (2):

13.

Mjesto: …

14.

Datum: …

15.

Potpis: …

16.

Ovoj se izjavi prilaže popis dokumenata pohranjenih pri tijelu koje je izdalo homologaciju te se isti može dobiti na zahtjev.


(1)  Razlikovni broj države koja je izdala/proširila/odbila/povukla homologaciju (vidjeti odredbe o homologaciji u Pravilniku).

(2)  Prekrižiti nepotrebno.

(3)  Za kategorije pokazivača smjera 1, 1a, 1b, 2a i 2b podatke vezane uz signal sukladno stavku 6.2.2.


PRILOG 3.

POSTAVLJANJE HOMOLOGACIJSKE OZNAKE

Image

Uređaj koji ima gore navedenu homologacijsku oznaku je uređaj kategorije 4 (pokazivač smjera za prednju stranu vozila) homologiran u Italiji (E3) pod brojem 216, koji se također može upotrijebiti i u sklopu od dva svjetla. Vodoravna strelica pokazuje u kojem se položaju mora ugraditi ovaj uređaj koji se ne može proizvoljno ugraditi s bilo koje strane vozila. Strelica je usmjerena prema prednjoj strani vozila. Uspravna strelica koja počinje od vodoravnog segmenta i usmjerena je prema dolje pokazuje dopuštenu visinu ugradbe koja je jednaka ili manja od 750 mm od tla za ovaj uređaj.

Broj naveden u blizini simbola „4D” pokazuje da je homologacija dodijeljena u skladu sa zahtjevima Pravilnika broj 6. kako je izmijenjen nizom izmjena 01.

Smjer koji pokazuje strelica na homologacijskoj oznaci u skladu s kategorijom uređaja naveden je ispod:

Image

Napomena: Gore prikazan homologacijski broj i dodatni simboli moraju biti smješteni blizu kruga te ispod ili iznad slova „E”, ili desno ili lijevo od slova. Znamenke od kojih se sastoji homologacijski broj moraju biti na istoj strani slova „E” i okrenute u istom smjeru. Korištenje rimskih brojeva kao homologacijskih brojeva treba izbjegavati kako bi se izbjegla njihova zamjena s drugim simbolima.

Slika 2.

Pojednostavljeno označivanje udruženih, spojenih ili uzajamno povezanih svjetala u slučaju kada su dva ili više svjetala dio istog sklopa

Uspravne i vodoravne crte shematski prikazuju oblik uređaja za svjetlosnu signalizaciju. One nisu dio homologacijske oznake.

PRIMJER A

Image

PRIMJER B

Image

PRIMJER C

Image

Napomena: Tri primjera homologacijskih oznaka prikazanih iznad (primjeri A, B i C) predstavljaju tri moguće verzije označivanja uređaja za osvjetljavanje kada su dva ili više svjetala dio istog sklopa udruženih, spojenih ili uzajamno povezanih svjetala.

Te homologacijske oznake pokazuju da je uređaj homologiran u Nizozemskoj (E4) pod homologacijskim brojem 3333 i da obuhvaća:

Stražnji pokazivač smjera s promjenjivom jakosti svjetlosti (kategorija 2b) homologiran u skladu s Pravilnikom broj 6. kako je izmijenjen nizom izmjena 01,

Crveno stražnje pozicijsko (bočno) svjetlo s promjenjivom jakosti svjetlosti (F2) homologirano u skladu s Pravilnikom broj 7. kako je izmijenjen nizom izmjena 01,

Stražnje svjetlo za maglu s promjenjivom jakosti svjetlosti (F2) homologirano u skladu s Pravilnikom 38 u prvobitnoj verziji,

Svjetlo za vožnju unatrag (AR) homologirano u skladu s Pravilnikom 23. u prvobitnoj verziji

Kočno svjetlo s promjenjivom jakosti svjetlosti (S2) homologirano u skladu s Pravilnikom broj 7. kako je izmijenjen nizom izmjena 01.

Image

Napomena: Tri primjera prikazana iznad odgovaraju uređaju za osvjetljavanje koji nosi homologacijsku oznaku koja se odnosi na:

prednje pozicijsko svjetlo homologirano u skladu s Pravilnikom broj 7. kako je izmijenjen nizom izmjena 01;

glavno svjetlo s kratkim glavnim svjetlom oblikovanim i izvedenim za promet desnom i lijevom stranom te s dugim glavnim svjetlom najveće jakosti između uključivo 86 250 i 101 250 kandela, homologirano u skladu s Pravilnikom broj 20. kako je izmijenjen nizom izmjena 02;

prednje svjetlo za maglu homologirano u skladu s Pravilnikom 19. kako je izmijenjen nizom izmjena 02;

prednji pokazivač smjera kategorije 1a homologiran u skladu s Pravilnikom broj 6. kako je izmijenjen nizom izmjena 01.

Slika 3.

Svjetlo uzajamno povezano s glavnim svjetlom

Image

Gornji primjer odgovara označivanju leća namijenjenih za uporabu u različitim tipovima glavnih svjetala, i to za:

ili

:

glavno svjetlo s kratkim glavnim svjetlom oblikovanim i izvedenim za promet desnom i lijevom stranom te s dugim glavnim svjetlom najveće svjetlosne jakosti između uključivo 86 250 i 101 250 kandela, homologirano u Njemačkoj (E1) u skladu sa zahtjevima Pravilnika broj 8. kako je izmijenjen nizom izmjena 04; koje je uzajamno povezano s prednjim pokazivačem smjera homologiranim u skladu s Pravilnikom broj 6. kako je izmijenjen nizom izmjena 01;

ili

:

glavno svjetlo s kratkim glavnim svjetlom oblikovanim i izvedenim za promet desnom i lijevom stranom homologirano u Njemačkoj (E1) u skladu sa zahtjevima Pravilnika broj 1 kako je izmijenjen nizom izmjena 01; koje je uzajamno povezano s istim prednjim pokazivačem smjera kao iznad;

ili čak

:

bilo koje od gore navedenih glavnih svjetala homologiranih kao jedno svjetlo.

Tijelo glavnog svjetla ima jedini važeći homologacijski broj, na primjer:

Image

Slika 4.

Označivanje neovisnih svjetala

Image

Gornji primjer odgovara označivanju leća namijenjenih za uporabu u različitim tipovima svjetala. Homologacijske oznake pokazuju da je uređaj homologiran u Španjolskoj (E9) pod homologacijskim brojem 1432 i obuhvaća:

Stražnje svjetlo za maglu (F) homologirano u skladu s Pravilnikom 38. u prvobitnoj verziji,

Stražnji pokazivač smjera kategorije 2a homologiran u skladu s Pravilnikom broj 6. kako je izmijenjen nizom izmjena 01,

Svjetlo za vožnju unatrag (AR) homologirano u skladu s Pravilnikom 23. u prvobitnoj verziji,

Crveno stražnje pozicijsko (bočno) svjetlo (R) homologirano u skladu s Pravilnikom broj 7. kako je izmijenjen nizom izmjena 02,

Kočno svjetlo s jednom razinom svjetlosti (S1) homologirano u skladu s Pravilnikom broj 7. kako je izmijenjen nizom izmjena 02.

Moduli izvora svjetlosti

Image

Modul izvora svjetlosti koji ima identifikacijski kod pokazan gore homologiran je skupa sa svjetlom homologiranim u Italiji (E3) pod homologacijskim brojem 17325.


PRILOG 4

FOTOMETRIJSKA MJERENJA

1.   Metode mjerenja

1.1.   Tijekom fotometrijskih mjerenja ometajuće refleksije izbjegavaju se prikladnom zaštitom.

1.2.   Ako su rezultati mjerenja dvojbeni, mjerenja se obavljaju tako da budu ispunjeni sljedeći zahtjevi:

1.2.1.   udaljenost mjerenja je takva da vrijedi zakon obrnutih kvadrata udaljenosti;

1.2.2.   mjerna oprema je takva da kut otvora prijamnika gledan iz referentnog središta svjetla ima vrijednost između 10’ i 1 stupnja;

1.2.3.   zahtjev za jakost za određeni smjer promatranja smatra se ispunjenim ako je taj zahtjev ispunjen u smjeru koji ne odstupa više od jedne četvrtine stupnja od smjera promatranja.

1.3.   U slučaju kada se uređaj može ugraditi u vozilo u više položaja ili u polje različitih položaja fotometrijska mjerenja ponavljaju se za svaki položaj ili za krajnje položaje polja referentne osi koje je odredio proizvođač.

2.   Tablica standardne raspodjele svjetla u prostoru za pokazivače smjera kategorije 1, 1a, 1b, 2a i 2b

Image

Za pokazivače smjera kategorije 6

Image

2.1.   Smjer H = 0° i V = 0° odgovara referentnoj osi. (Na vozilu on je vodoravan, usporedan sa srednjom uzdužnom ravninom vozila i usmjeren u zahtijevanom smjeru vidljivosti.) On prolazi kroz referentno središte. Vrijednosti prikazane u tablicama daju, za različite smjerove mjerenja, najmanje jakosti kao postotak zahtijevanih najmanjih jakosti u tablici u stavku 6.1:

2.1.1.   u smjeru H = 0° i V = 0° za kategorije 1, 1a, 1b, 2a, 2b i u slučaju kategorije 5 samo u kutnom području u smjeru A kako je propisano u Prilogu 1.;

2.1.2.   u smjeru H = 5° i V = 0° za kategoriju 6.

2.1.3.   Ipak, u slučaju kada je uređaj namijenjen za ugradbu na visini ugradbe jednakoj ili manjoj od 750 mm iznad tla, fotometrijska jakost se provjerava samo do kuta od 5° prema dolje.

2.2.   Unutar područja raspodjele svjetla u točki 2. shematski prikazanog kao mreža raspodjela svjetla treba biti stvarno jednolika, to jest u onoj mjeri u kojoj jakost svjetla u svakom smjeru dijela područja koji određuju crte mreže zadovoljava barem najnižu najmanju vrijednost prikazanu na crtama mreže, koje okružuju dotični smjer, kao postotak.

3.   Fotometrijsko mjerenje svjetala

Provjerava se fotometrijska izvedba:

3.1.   za neizmjenjive izvore svjetlosti (žarulje sa žarnom niti i druge):

s izvorima svjetlosti koji se nalaze u svjetlu, u skladu s odgovarajućim podstavkom stavka 7.1. ovog Pravilnika.

3.2.   Za izmjenjive žarulje sa žarnom niti:

ako su opremljene serijski proizvedenim žaruljama sa žarnom niti za 6,75 V, 13,5 V ili 28,0 V vrijednosti proizvedene svjetlosne jakosti trebaju se nalaziti između najveće granice dane u ovom Pravilniku i najmanje granice ovog Pravilnika povećane u skladu s dopuštenim odstupanjem svjetlosnog tijeka dopuštenog za odabrani tip žarulje sa žarnom niti kako je navedeno u Pravilniku br. 37. za proizvodnju žarulja sa žarnom niti; također se može upotrijebiti normirana žarulja sa žarnom niti postavljanjem redom na svakom od pojedinačnih položaja, pri čemu ona radi sa svojim referentnim tokom. Izmjerene pojedinačne vrijednosti u svakom se položaju zbrajaju.

3.3.   Za bilo koji drugi pokazivač smjera osim onog koji je opremljen žaruljom (žaruljama) sa žarnom niti svjetlosne jakosti izmjerene nakon jedne minute i nakon 30 minuta rada u bljeskajućem načinu rada (f = 1,5 Hz, faktor opterećenja 50 %) trebaju ispunjavati najniže i najviše zahtjeve. Raspodjela svjetlosne jakosti nakon jedne minute rada može se izračunati primjenjujući na svaku točku ispitivanja omjer svjetlosne jakosti izmjerene u HV nakon jedne minute rada i nakon 30 minuta rada kako je opisano iznad.


PRILOG 5.

BOJA JANTARNIH SVJETALA: KROMATSKE KOORDINATE

Za provjeru kolorimetrijskih svojstava treba primijeniti postupak ispitivanja opisan u stavku 7 ovog Pravilnika.

Ipak, za svjetla opremljena neizmjenjivim izvorima svjetlosti (žarulje sa žarnom niti i druge), kolorimetrijske značajke treba provjeriti s izvorima svjetlosti koji se nalaze u svjetlu, u skladu s odgovarajućim podstavkom stavka 7.1. ovog Pravilnika.


PRILOG 6.

Najmanji zahtjevi za postupke provjere sukladnosti proizvodnje

1.   OPĆENITO

1.1.   S mehaničkog i geometrijskog stajališta zahtjevi sukladnosti smatraju se ispunjenima ako razlike ne prelaze neizbježna proizvodna odstupanja unutar zahtjeva ovog Pravilnika.

1.2.   U pogledu fotometrijskih izvedbi sukladnost masovno proizvedenih svjetala se ne osporava ako prilikom ispitivanja fotometrijskih izvedbi bilo kojeg nasumično odabranog svjetla u skladu sa stavkom 7. ovog Pravilnika:

1.2.1.   nijedna izmjerena vrijednost nepovoljno ne odstupa za više od 20 % vrijednosti propisanih ovim Pravilnikom.

1.2.2.   Ako u slučaju pokazivača smjera opremljenog izmjenjivim izvorom svjetlosti rezultati ispitivanja opisanog iznad ne ispunjavaju zahtjeve, ispitivanja pokazivača smjera treba ponoviti uporabom druge normirane žarulje sa žarnom niti.

1.3.   Kromatske koordinate moraju biti usklađene prilikom ispitivanja u skladu s uvjetima stavka 7. ovog Pravilnika.

2.   NAJMANJI ZAHTJEVI ZA PROVJERU SUKLADNOSTI OD STRANE PROIZVOĐAČA

Za svaki tip pokazivača smjera vlasnik homologacijske oznake mora provesti najmanje sljedeća ispitivanja u primjerenim vremenskim razmacima. Ispitivanja se provode u skladu s odredbama ovog Pravilnika.

Ako bilo koje uzorkovanje pokaže nesukladnost vezano uz dotični tip ispitivanja, dodatni uzorci se uzimaju i ispituju. Proizvođač treba poduzeti korake da osigura sukladnost dotične proizvodnje.

2.1.   Priroda ispitivanja

Ispitivanja sukladnosti u ovom Pravilniku pokrivaju fotometrijska i kolorimetrijska svojstva.

2.2.   Metode korištene u ispitivanju

2.2.1.   Ispitivanje treba općenito provoditi u skladu s metodama navedenim u ovom Pravilniku.

2.2.2.   U bilo kojem ispitivanju sukladnosti provedenom od strane proizvođača mogu se koristiti istovjetne metode uz odobrenje nadležnog tijela odgovornog za homologacijsko ispitivanje. Proizvođač je odgovoran za dokazivanje da su primijenjene metode istovjetne onima navedenim u ovom Pravilniku.

2.2.3.   Primjena stavaka 2.2.1. i 2.2.2. zahtijeva redovito umjeravanje uređaja za ispitivanje i njihovu korelaciju s mjerenjima izvršenim od strane nadležnog tijela.

2.2.4.   U svim slučajevima referentne metode su one određene ovim Pravilnikom posebno u svrhu administrativne provjere i uzorkovanja.

2.3.   Priroda uzorkovanja

Uzorci pokazivača smjera nasumično se odabiru iz proizvodnje istovrsne serije. Istovrsna serija označuje niz pokazivača smjera istog tipa utvrđenog u skladu s proizvodnim metodama proizvođača.

Procjena općenito pokriva proizvodne serije iz pojedinačnih tvornica. Međutim, proizvođač može objediniti podatke u vezi s istim tipom iz nekoliko tvornica pod uvjetom da one primjenjuju isti sustav kakvoće i upravljanja kakvoćom.

2.4.   Mjerene i zabilježene fotometrijske značajke

Uzorkovano svjetlo podvrgava se fotometrijskim mjerenjima za određivanje najmanjih vrijednosti navedenim u točkama Priloga 4. i zahtijevanim kromatskim koordinatama.

2.5.   Kriteriji koji određuju prihvatljivost

Proizvođač je odgovoran za provedbu statističke analize rezultata ispitivanja te za određivanje, u dogovoru s nadležnom ustanovom, kriterija koji određuju prihvatljivost njegovih proizvoda radi ispunjavanja zahtjeva utvrđenih za provjeru sukladnosti proizvodnje u stavku 10.1. ovog Pravilnika.

Kriteriji koji određuju prihvatljivost trebaju biti takvi da, s pouzdanošću od 95 %, najmanja vjerojatnost prolaza provjere na licu mjesta u skladu s Prilogom 7. (prvo uzorkovanje) bude 0,95.


PRILOG 7.

NAJMANJI ZAHTJEVI ZA UZORKOVANJE OD STRANE OSOBE KOJA OBAVLJA NADZOR

1.   OPĆENITO

1.1.   Uvjeti sukladnosti smatraju se ispunjenima s mehaničkog i geometrijskog stajališta, u skladu s uvjetima ovog Pravilnika, ako postoje i ako razlike ne prelaze neizbježna proizvodna odstupanja.

1.2.   S obzirom na fotometrijske značajke, sukladnost serijski proizvedenih svjetala ne osporava se u slučaju ispitivanja fotometrijskih značajki nasumično odabranih svjetala u skladu sa stavkom 7. ovog Pravilnika:

1.2.1.   ijedna izmjerena vrijednost ne odstupa za više od 20 % od vrijednosti propisane u ovom Pravilniku.

1.2.2.   Ako, u slučaju pokazivača smjera opremljenog zamjenjivim izvorom svjetla i ako rezultati ispitivanja opisanog iznad ne ispunjavaju zahtjeve, ispitivanja za pokazivače smjera treba ponoviti koristeći drugu žarulju sa žarnom niti.

1.2.3.   Pokazivači smjera s očitim nedostacima ne uzimaju se u obzir.

1.3.   Kromatske koordinate trebaju se uskladiti kada se ispituju u uvjetima iz stavka 7. ovog Pravilnika.

2.   PRVO UZORKOVANJE

U prvom uzorkovanju nasumično se odabiru četiri pokazivača smjera. Prvi od dva uzorka označava se slovom A, a drugi od dva uzorka označava se slovom B.

2.1.   Sukladnost nije sporna

2.1.1.   Nakon postupka uzorkovanja prikazanog na slici 1. ovog Priloga sukladnost serijski proizvedenih pokazivača smjera ne osporava se ako odstupanja dobivenih vrijednosti pokazivača smjera iznose:

2.1.1.1.   za uzorak A

A1:

jedan pokazivač smjera

0 %

 

jedan pokazivač smjera ne više od

20 %

A2:

oba pokazivača smjera više od

0 %

 

ali ne više od

20 %

 

idi na uzorak B

 

2.1.1.2.   za uzorak B

B1:

oba pokazivača smjera

0 %

2.1.2.   ili ako su zahtjevi iz stavka 1.2.2. za uzorak A ispunjeni.

2.2.   Sukladnost jest sporna

2.2.1.   Nakon postupka uzorkovanja prikazanog na slici 1. ovog Priloga sukladnost serijski proizvedenih pokazivača smjera se osporava i od proizvođača se traži da uskladi proizvodnju sa zahtjevima ako odstupanja dobivenih vrijednosti pokazivača smjera iznose:

2.2.1.1.   za uzorak A

A3:

jedan pokazivač smjera ne više od

20 %

 

jedan pokazivač smjera više od

20 %

 

ali ne više od

30 %

2.2.1.2.   za uzorak B

B2:

u slučaju A2

 

 

jedan pokazivač smjera više od

0 %

 

ali ne više od

20 %

 

jedan pokazivač smjera ne više od

20 %

B3:

u slučaju A2

 

 

jedan pokazivač smjera

0 %

 

jedan pokazivač smjera više od

20 %

 

ali ne više od

30 %

2.2.2.   ili zahtjevi stavka 1.2.2. za uzorak A nisu ispunjeni.

2.3.   Povlačenje homologacije

Sukladnost se osporava i primjenjuje se stavak 11. ako slijedeći postupak uzorkovanja sa slike 1. ovog Priloga odstupanja izmjerenih vrijednosti pokazivača smjera iznose:

2.3.1.   za uzorak A

A4:

jedan pokazivač smjera ne više od

20 %

 

jedan pokazivač smjera više od

30 %

A5:

oba pokazivača smjera više od

20 %

2.3.2.   za uzorak B

B4:

u slučaju A2

 

 

jedan pokazivač smjera više od

0 %

 

ali ne više od

20 %

 

jedan pokazivač smjera više od

20 %

B5:

u slučaju A2

 

 

oba pokazivača smjera više od

20 %

B6:

u slučaju A2

 

 

jedan pokazivač smjera

0 %

 

jedan pokazivač smjera više od

30 %

2.3.3.   ili ako zahtjevi iz stavka 1.2.2. za uzorke A i B nisu ispunjeni.

3.   PONOVLJENO UZORKOVANJE

U slučajevima A3, B2, B3 potrebno je ponovljeno uzorkovanje unutar dva mjeseca nakon obavijesti, za koje je potreban treći uzorak C od dva pokazivača smjera i četvrti uzorak D od dva pokazivača smjera,odabrani iz zalihe proizvedene nakon uspostave sukladnosti.

3.1.   Sukladnost nije sporna

3.1.1.   Nakon postupka uzorkovanja prikazanog na slici 1. ovog Priloga sukladnost serijski proizvedenih pokazivača smjera ne osporava se ako odstupanja dobivenih vrijednosti pokazivača smjera iznose:

3.1.1.1.   uzorak C

C1:

jedan pokazivač smjera

0 %

 

jedan pokazivač smjera ne više od

20 %

C2:

oba pokazivača smjera više od

0 %

 

ali ne više od

20 %

 

idi na uzorak D

 

3.1.1.2.   za uzorak D

D1:

u slučaju C2

 

 

oba pokazivača smjera

0 %

3.1.2.   ili ako su zahtjevi iz stavka 1.2.2. za uzorak C ispunjeni.

3.2.   Sukladnost jest sporna

3.2.1.   Nakon postupka uzorkovanja prikazanog na slici 1. ovog Priloga sukladnost serijski proizvedenih pokazivača smjera se osporava i od proizvođača se traži da uskladi proizvodnju sa zahtjevima ako odstupanja dobivenih vrijednosti pokazivača smjera iznose:

3.2.1.1.   za uzorak D

D2:

u slučaju C2

 

 

jedan pokazivač smjera više od

0 %

 

ali ne više od

20 %

 

jedan pokazivač smjera ne više od

20 %

3.2.1.2.   ili ako uvjeti iz stavka 1.2.2. za uzorak C nisu ispunjeni.

3.3.   Povlačenje homologacije

Sukladnost se osporava i primjenjuje se stavak 11., ako su, nakon postupka uzorkovanja sa slike 1. ovog Priloga odstupanja izmjerenih vrijednosti pokazivača smjera:

3.3.1.   za uzorak C

C3:

jedan pokazivač smjera ne više od

20 %

 

jedan pokazivač smjera više od

20 %

C4:

oba pokazivača smjera više od

20 %

3.3.2.   za uzorak D

D3:

u slučaju C2

 

 

jedan pokazivač smjera 0 ili više od

0 %

 

jedan pokazivač smjera više od

20 %

3.3.3.   ili ako uvjeti iz stavka 1.2.2. za uzorke C i D nisu ispunjeni.

Slika 1.

Image


11/Sv. 059

HR

Službeni list Europske unije

111


42011X0909(02)


L 233/95

SLUŽBENI LIST EUROPSKE UNIJE

09.09.2011.


Samo izvorni tekstovi UN/ECE-a imaju pravni učinak prema međunarodnom javnom pravu. Status i dan stupanja na snagu ovog Pravilnika treba provjeriti u zadnjem izdanju UN/ECE dokumenta TRANS/WP.29/343, koji je dostupan na: http://www.unece.org/trans/main/wp29/wp29wgs/wp29gen/wp29fdocstts.html

Pravilnik br. 44 Gospodarske komisije Ujedinjenih naroda za Europu (UN/ECE) - Jedinstvene odredbe o homologaciji sustava za držanje djece kao putnika u motornim vozilima („sustavi za držanje djeteta”)

Uključuje sav važeći tekst do:

ispravka 4. revizije 2. Pravilnika – dan stupanja na snagu: 10. studenoga 2010.

SADRŽAJ

PRAVILNIK

1.

Područje primjene

2.

Definicije

3.

Zahtjev za homologaciju

4.

Oznake

5.

Homologacija

6.

Opći zahtjevi

7.

Posebni zahtjevi

8.

Opis ispitivanja

9.

Izvješće o homologacijskom ispitivanju i ispitivanju sukladnosti proizvodnje

10.

Preinaka i proširenje homologacije tipa sustava za držanje djeteta

11.

Utvrđivanje sukladnosti proizvodnje

12.

Sukladnost proizvodnje i rutinska ispitivanja

13.

Kazne za nesukladnost proizvodnje

14.

Konačna obustava proizvodnje

15.

Upute

16.

Imena i adrese tehničkih služba odgovornih za provedbu homologacijskih ispitivanja, kao i administrativnih tijela

17.

Prijelazne odredbe

PRILOZI

Prilog 1. —

Izjava o izdavanju ili proširenju ili odbijanju ili povlačenju homologacije ili o konačnoj obustavi proizvodnje sustava za držanje djece kao putnika motornih vozila, u skladu s Pravilnikom br. 44

Prilog 2. —

Postavljanje homologacijske oznake

Prilog 3. —

Shematski prikaz naprave za ispitivanje otpornosti na prašinu

Prilog 4. —

Ispitivanje na koroziju

Prilog 5. —

Ispitivanje abrazije i mikroklizanja

Prilog 6. —

Opis ispitnih kolica

Prilog 7. —

Dijagram usporenja ispitnih kolica u funkciji vremena

Dodatak 1. —

Krivulje usporenja ili ubrzanja kolica u funkciji vremena. Čelni sudar

Dodatak 2. —

Krivulje usporenja ili ubrzanja kolica u funkciji vremena. Stražnji sudar

Prilog 8. —

Opis ispitnih lutaka

Dodatak 1. —

Opis ispitnih lutaka za dob od 9 mjeseci te 3, 6 i 10 godina

Dodatak 2. —

Opis lutke novorođenčeta

Dodatak 3. —

Opis ispitne lutke za dob djeteta od 18 mjeseci

Prilog 9. —

Ispitivanje čelnog sudara sa zaprekom

Prilog 10. —

Postupak ispitivanja učinka stražnjeg sudara

Prilog 11. —

Dodatna sidrišta potrebna za pričvršćivanje sustava za držanje djeteta kategorije poluunivezalni u motorna vozila

Prilog 12. —

Sjedalo

Prilog 13. —

Normirani sigurnosni pojas

Prilog 14. —

Homologacijska shema (dijagram toka ISO 9002:2000)

Prilog 15. —

Pojašnjenja

Prilog 16. —

Provjera sukladnosti proizvodnje

Prilog 17. —

Ispitivanje materijala za apsorpciju energije

Prilog 18. —

Postupak određivanja područja udara glave kod sustava za držanje s leđnim naslonom i određivanja najmanje veličine bočnih dijelova kod sustava za držanje okrenutima prema natrag

Prilog 19. —

Opis kondicioniranja naprava za namještanje postavljenih izravno na sustav za držanje djeteta

Prilog 20. —

Uobičajena naprava za ispitivanje čvrstoće kopče

Prilog 21. —

Naprava za dinamičko ispitivanje sudarom

Prilog 22. —

Ispitivanje bloka donjeg dijela trupa

1.   PODRUČJE PRIMJENE

1.1.   Ovaj se Pravilnik primjenjuje na sustave za držanje djece koji su prikladni za postavljanje u motorna vozila s tri ili više kotača i nisu namijenjeni za uporabu na sklopivim sjedalima ili bočno okrenutim sjedalima.

2.   DEFINICIJE

Za potrebe ovog Pravilnika:

2.1.

Sustav za držanje djeteta znači skup elemenata koji mogu sadržavati kombinaciju remena ili savitljivih dijelova sa sigurnosnom kopčom, napravama za namještanje, spojnim elementima i u nekim slučajevima dodatnu napravu kao što je prijenosna dječja ležaljka, dječja nosiljka, dodatno sjedalo i/ili štitnik od udara, koji se mogu pričvrstiti u motornom vozilu. Sustav je konstruiran tako da smanjuje opasnost od povreda ograničavanjem pokretljivosti tijela korisnika u slučaju sudara ili naglog usporenja vozila.

„ISOFIX” je sustav za povezivanje sustava za držanje djeteta na vozila koji ima dva kruta sidrišta u vozilu, dva pripadajuća kruta pričvrsnika na sustavu za držanje djeteta i ograničava naginjanje sustava za držanje djeteta u smjeru naprijed-natrag.

2.1.1.

Sustavi za držanje djeteta razvrstani su u pet „masenih skupina”:

2.1.1.1.

skupina 0 za djecu mase manje od 10 kg;

2.1.1.2.

skupina 0 + za djecu mase manje od 13 kg;

2.1.1.3.

skupina I za djecu mase od 9 kg do 18 kg;

2.1.1.4.

skupina II za djecu mase od 15 kg do 25 kg;

2.1.1.5.

skupina III za djecu mase od 22 kg do 36 kg.

2.1.1.6.

ISOFIX sustavi za držanje djeteta dijele se u 7 ISOFIX razreda veličine opisana u Pravilniku br. 16., prilogu 17., dodatku 2.:

A — ISO/F3

:

Sustav za držanje djeteta, pune visine, okrenut prema naprijed

B — ISO/F2

:

Sustav za držanje djeteta, smanjene visine, okrenut prema naprijed

B1 — ISO/F2X

:

Sustav za držanje djeteta, smanjene visine, okrenut prema naprijed

C — ISO/R3

:

Sustav za držanje djeteta, pune visine, okrenut prema nazad

D — ISO/R2

:

Sustav za držanje djeteta, smanjene visine, okrenut prema nazad

E — ISO/R1

:

Sustav za držanje djeteta, okrenut prema nazad

F — ISO/L1

:

Sustav za držanje djeteta, okrenut u lijevo (prijenosna dječja ležaljka)

G — ISO/L2

:

Sustav za držanje djeteta, okrenut u desno (prijenosna dječja ležaljka)

Skupina prema težini

 

razred veličine ISOFIX

0 — do 10 kg

F

ISO/L1

G

ISO/L2

E

ISO/R1

0+ — do 13 kg

C

ISO/R3

D

ISO/R2

E

ISO/R1

I — 9 do 18 kg

A

ISO/F3

B

ISO/F2

B1

ISO/F2X

C

ISO/R3

D

ISO/R2

2.1.2.

Sustavi za držanje djece razvrstani su u četiri „kategorije”:

2.1.2.1.

kategorija „univerzalni” za uporabu na većini sjedala u vozilu, kako je određeno u stavcima 6.1.1. i 6.1.3.1. i 6.1.3.2. i posebno onima za koja je na temelju Pravilnika br. 16 utvrđeno da odgovaraju takvoj kategoriji sustava za držanje djeteta;

2.1.2.2.

kategorija „za ograničenu uporabu” za uporabu u određenim položajima sjedala za posebne tipove vozila prema uputama proizvođača sustava za držanje djeteta ili proizvođača vozila, kako je određeno u stavcima 6.1.1. i 6.1.3.1.;

2.1.2.3.

kategorija „poluuniverzalni” za uporabu kako je određeno u stavcima 6.1.1. i 6.1.3.2.;

2.1.2.4.

kategorija „za određeno vozilo” za uporabu:

2.1.2.4.1.

u određenim tipovima vozila, u skladu sa stavcima 6.1.2. i 6.1.3.3., ili

2.1.2.4.2.

kao „ugrađeni” sustav za držanje djeteta.

2.1.3.

Sustavi za držanje djeteta mogu se razvrstati u dva razreda:

 

integrirani razred ako je držanje djeteta unutar sustava za držanje neovisno o bilo kojim sredstvima priključenim na vozilo;

 

neintegrirani razred ako je držanje djeteta unutar sustava za držanje ovisno o bilo kojim sredstvima priključenim na vozilo;

2.1.3.1.

„djelomični sustav za držanje” znači naprava kao što je pomoćno dječje sjedište koji, kada se koristi zajedno sa sigurnosnim pojasom za odrasle i koji prolazi oko tijela djeteta ili zadržava napravu u kojoj se dijete nalazi, predstavlja potpuni sustav za držanje djeteta;

2.1.3.2.

„pomoćno dječje sjedište” znači čvrsto sjedište koje se može upotrijebiti zajedno sa sigurnosnim pojasom za odrasle;

2.2.

„Sigurnosno dječje sjedalo” znači sustav za držanje djeteta koji uključuje sjedalo u kojem je dijete smješteno.

2.3.

„Pojas” znači sustav za držanje djeteta, koji se sastoji od kombinacije remena sa sigurnosnom kopčom, naprava za namještanje i dijelova za pričvršćenje.

2.4.

„Sjedalo” znači konstrukcija koja je sastavni dio sustava za držanje djeteta i namijenjeno je za postavljanje djeteta u sjedeći položaj;

2.4.1.

„prijenosna dječja ležaljka” znači sustav za držanje djeteta koji je namijenjen za postavljanje i držanje djeteta polegnutog na leđa ili na trbuh tako da je kralježnica djeteta okomita na srednju uzdužnu ravninu vozila. Konstruirana je tako da se pri sudaru sile držanja rasporede na glavu i tijelo djeteta osim udova;

2.4.2.

„sustav za držanje prijenosne dječje ležaljke” znači naprava s kojom se prijenosna dječja ležaljka drži na konstrukciji vozila;

2.4.3.

„nosiljka za dijete” znači sustav za držanje namijenjen postavljanje djeteta okrenuta licem prema natrag u poluležećem položaju. Konstruirana je tako da se pri sudaru sile držanja rasporede na glavu i tijelo djeteta osim udova.

2.5.

„Oslonac sjedala” znači dio sustava za držanje djeteta pomoću kojega se sjedalo može podići.

2.6.

„Oslonac za dijete” znači dio sustava za držanje djeteta pomoću kojega je moguće podići dijete unutar sustava za držanje djeteta.

2.7.

„Štitnik od udara” znači naprava koja je pričvršćena ispred djeteta i konstruirana je tako da se pri čelnom sudaru sile držanja rasporede na veći dio visine dječjeg tijela.

2.8.

„Remen” znači savitljivi dio konstruiran za prijenos sila;

2.8.1.

„trbušni remen” je remen koji u obliku potpunog pojasa ili dijela takvog pojasa prolazi ispred zdjeličnog dijela djeteta i drži ga;

2.8.2.

„rameni remen” znači dio pojasa koji drži samo gornji dio torza djeteta;

2.8.3.

„međunožni remen” znači remen (ili razdvojene remene, ako se sastoje od dva ili više komada) pričvršćen na sustav za držanje djeteta i na trbušni pojas i namješten tako da prolazi između bedara djeteta; konstruiran je tako da pri uobičajenoj uporabi pojasa sprječava da dijete sklizne ispod trbušnog pojasa, a da se pri sudaru trbušni pojas ne pomakne sa zdjelice;

2.8.4.

„remen za držanje djeteta” znači remen koji je sastavni dio pojasa i drži samo tijelo djeteta;

2.8.5.

„remen za pričvršćenje sustava za držanje djeteta” znači remen s kojim je sustav za držanje djeteta pričvršćen na konstrukciju vozila i može biti dio naprave za držanje za sjedalo u vozila;

2.8.6.

„H-pojas” znači sklop pojasa koji se sastoji od trbušnog pojasa, ramenog pojasa i međunožnog remena ako je ugrađen;

2.8.7.

„Y-pojas” znači pojas kombinacija remena koji prolaze između nogu djeteta i s po jednog remena za svako rame.

2.8.8.

„vodeći remen” znači remen koji zadržava rameni remen sigurnosnog pojasa za odrasle u položaju prikladnom djetetu i s kojim se, s napravom koja se pomiče po remenu gore i dolje, smjer prolaza ramenog remena može namjestiti prema ramenu korisnika i blokirati u tom položaju. Taj vodeći remen nije predviđen za preuzimanje značajnijeg dijela dinamičkog opterećenja.

2.9.

„Kopča” znači napravu za brzo otkapčanje, koja omogućuje da sustav za držanje djeteta, odnosno da konstrukcija vozila drži sustav za držanje koji se može brzo otkopčati. Kopča može imati napravu za namještanje pojasa;

2.9.1.

„upušteni gumb za otvaranje kopče” znači gumb za otvaranje kopče koja se ne smije moći otvoriti kuglom promjera 40 mm;

2.9.2.

„neupušteni gumb za otpuštanje kopče” znači gumb za otvaranje kopče koja se ne smije moći otvoriti kuglom promjera 40 mm.

2.10.

„Naprava za namještanje” znači naprava koja omogućuje da se sustav za držanje ili njegovo pričvršćenje namjesti prema tjelesnoj građi korisnika i/ili obliku vozila. Naprava za namještanje može biti dio kopče, uvlačnika ili bilo kojeg drugog dijela sigurnosnog pojasa;

2.10.1.

„naprava za brzo namještanje” znači naprava za namještanje kojom se može upravljati jednom rukom i jednim pokretom.

2.10.2.

„Naprava za namještanje postavljena izravno na sustavu za držanje djeteta” znači naprava za namještanje cijelog sustava remena koja je izravno ugrađena na sustav za držanje djeteta, za razliku od naprave koju drži pojas koji treba namjestiti.

2.11.

„Pričvrsni elementi” znači dijelovi sustava za držanje djeteta, uključujući i sigurnosne sastavne dijelove koji omogućuju da se sustav za držanje djeteta može sigurno pričvrstiti na konstrukciju vozila bilo izravno ili preko sjedala u vozilu;

2.11.1.

„potporna noga” znači trajni pričvrsni element u sustavu za držanje djeteta koji stvara tlačni prijenos opterećenja između sustava za držanje djeteta i konstrukcije vozila kako bi se izbjegli učinci jastuka sjedala prilikom usporenja; potporna noga se može namještati.

2.12.

„Naprava za apsorpciju energije” znači naprava koja raspršuje energiju neovisno od ili zajedno s pojasom i dio je sustava za držanje djeteta.

2.13.

„Uvlačnik” znači naprava u koju se može djelomično ili potpuno smjestiti pojas sustava za držanje djeteta. Taj pojam obuhvaća sljedeće naprave:

2.13.1.

„uvlačnik s automatskim blokiranjem” znači uređaj koji omogućuje da se pojas izvuče do željene dužine i koji, kad se kopča pričvrsti, automatski podešava pojas prema fizičkim karakteristikama korisnika; daljnje izvlačenje pojasa nije moguće ako to korisnik pojasa ne učini namjerno;

2.13.2.

„uvlačnik s blokiranjem u slučaju opasnosti” znači uvlačnik koji pri uobičajenom načinu vožnje ne ograničava slobodno pomicanje korisnika pojasa. Ima napravu za namještanje dužine koja automatski podešava dužinu prema tijelu korisnika, te blokirni mehanizam koji se aktivira u slučaju opasnosti:

2.13.2.1.

zbog smanjenja brzine vozila, izvlačenja pojasa iz uvlačnika ili na neki drugi automatski način (jednostruka osjetljivost); ili

2.13.2.2.

zbog kombinacije bilo kojeg od ovih elemenata (višestruka osjetljivost).

2.14.

„Sidrišta sustava za držanje” znači oni dijelovi konstrukcije vozila ili sjedala na koja su pričvršćeni priključni dijelovi sustava za držanje djeteta;

2.14.1.

„dodatno sidrište” znači dio konstrukcije vozila ili konstrukcije sjedala ili svaki drugi dio vozila predviđen za pričvršćivanje sustava za držanje djeteta i koji dopunjuje sidrišta homologirana prema Pravilniku br. 14. To uključuje ploču poda ispitnog vozila, kako je opisano u Prilogu 6., ili druge konstrukcijske značajke specifičnog vozila (specifičnih vozila), kad su opterećeni potpornom nogom;

2.14.2.

„donje sidrište ISOFIX” znači okrugla kruta šipka, promjera 6 mm, koja se nastavlja na konstrukciju vozila ili sjedala sjedala za prihvat i držanje sustava za držanje djeteta ISOFIX pomoću pričvršćenja ISOFIX;

2.14.3.

„sustav sidrišta ISOFIX” znači sustav koji čine dva donja sidrišta ISOFIX i koji ispunjava zahtjeve Pravilnika br. 14, konstruiran za pričvršćenje sustava za držanje djeteta ISOFIX u sprezi s napravom za sprečavanje okretanja;

2.14.4.

„Naprava za sprečavanje okretanja”:

(a)

naprava za sprečavanje okretanja za univerzalni sustav za držanje djeteta ISOFIX sastoji se od gornje sigurnosne uzice ISOFIX;

(b)

naprava za sprečavanje okretanja za poluuniverzalni sustav za držanje djeteta ISOFIX sastoji se od gornje sigurnosne uzice, ploče s instrumentima vozila ili potpornog oslonca, namijenjenih za ograničavanje okretanja sustava za držanje djeteta prilikom čelnog sudara;

(c)

za sustave za držanje djeteta ISOFIX, univerzalne ili poluuniverzalne, sjedalo vozila samo po sebi ne predstavlja napravu koja sprečava okretanje;

2.14.5.

„sidrište za gornju sigurnosnu uzicu ISOFIX” znači naprava kao je npr. šipka koja ispunjava zahtjeve Pravilnika br. 14, postavljena u predviđenom području, namijenjena za prihvat priključka remena gornje sigurnosne uzice ISOFIX i za prijenos sile držanja na konstrukciju vozila.

2.15.

„Okrenut prema naprijed” znači usmjerenost (koji gleda) u smjeru vožnje vozila.

2.16.

„Okrenut prema natrag” znači usmjerenost (koji gleda) u smjeru obrnutom od uobičajenog smjera vožnje vozila.

2.17.

„Nagnuti položaj” znači poseban položaj sjedala koji djetetu omogućuje da se nasloni.

2.18.

„Polegnut na leđa/na trbuh” znači položaj u kojemu barem glava i tijelo djeteta, izuzev udova, leže na vodoravnoj površini sustava za držanje djeteta.

2.19.

„Tip sustava za držanje djeteta” znači sustavi za držanje koji se ne razlikuju u bitnim vidovima kao što su:

2.19.1.

kategorija i masene skupine za koje se sustav za držanje koristi te položaj te usmjerenost (kako je određeno u stavcima 2.15. i 2.16.) u kojima se sustav za držanje koristi;

2.19.2.

geometrija sustava za držanje djeteta;

2.19.3.

mjere, masa, materijal i boja:

 

sjedala,

 

obloge, i

 

štitnik od udara;

2.19.4.

materijal, tkanje, mjere i boja remena;

2.19.5.

kruti dijelovi (kopče, priključci itd.).

2.20.

„Sjedalo vozila” znači konstrukcija koja može i ne mora biti sastavni dio konstrukcije vozila, zajedno s priborom, i koja je namijenjena za sjedenje jedne odrasle osobe. S tim u vezi:

2.20.1.

„skupina sjedala u vozilu” znači sjedeća klupa ili više odvojenih sjedala koja su smještena jedno do drugoga (tj. pričvršćena tako da se prednja sidrišta jednog sjedala i prednja ili stražnja sidrišta drugoga sjedala nalaze na istoj crti ili na crti koja prolazi između tih sidrišta), pri čemu na svakom sjedalu sjedi jedna ili više odraslih osoba;

2.20.2.

„sjedeća klupa” znači konstrukcija za sjedenje zajedno s priborom, namijenjenu za sjedenje više odraslih osoba;

2.20.3.

„prednja sjedala vozila” znači skup sjedala smještenih u prvom redu prednjeg dijela prostora za putnike, tj. pred kojima se neposredno ne nalazi niti jedno drugo sjedalo;

2.20.4.

„stražnja sjedala vozila” znači učvršćena sjedala okrenuta prema naprijed, smještena iza druge skupine sjedala.

2.20.5.

„položaj ISOFIX” znači sustav koji omogućuje ugradbu:

(a)

univerzalnog sustava za držanje djeteta ISOFIX, okrenutog prema naprijed, kako je definiran u ovom Pravilniku;

(b)

poluuniverzalnog sustava za držanje djeteta ISOFIX, okrenutog prema naprijed, kako je definiran u ovom Pravilniku;

(c)

poluuniverzalnog sustava za držanje djeteta ISOFIX, okrenutog prema nazad, kako je definiran u ovom Pravilniku;

(d)

poluuniverzalnog sustava za držanje djeteta ISOFIX, okrenutog postranično, kako je definiran u ovom Pravilniku;

(e)

sustava za držanje djeteta ISOFIX za određeno vozilo, kako je definiran u ovom Pravilniku.

2.21.

„Sustav za namještanje” znači kompletan uređaj s kojim se sjedalo u vozilu ili njegovi dijelovi namještaju tako da se prilagode odraslom korisniku; taj uređaj posebno omogućava:

2.21.1.

uzdužno pomicanje, i/ili

2.21.2.

vertikalno pomicanje, i/ili

2.21.3.

kutno pomicanje.

2.22.

„Sidrište sjedala vozila” znači sustav zajedno s pripadajućim dijelovima konstrukcije, s kojim je cijelo sjedalo za odraslu osobu pričvršćeno na konstrukciju vozila.

2.23.

„Tip sjedala” znači kategorija sjedala za odrasle osobe koja se bitno ne razlikuju u sljedećem:

2.23.1.

obliku, mjerama i materijalima konstrukcije sjedala,

2.23.2.

tipovima i mjerama sustava za namještanje i blokiranje sjedala i

2.23.3.

tipu i mjerama sidrišta sigurnosnog pojasa za odraslu osobu na sjedalu, sidrišta sjedala i pripadajućih dijelova konstrukcije vozila.

2.24.

„Sustav za pomicanje” znači naprava koja omogućuje kutni ili uzdužni pomak sjedala za odrasle osobe ili njegovih dijelova bez čvrstog međupoložaja, za lakši ulaz i izlaz putnika i unošenje i iznošenje stvari.

2.25.

„Sustav za blokiranje” znači naprava koja osigurava da sjedalo za odraslu osobu i njegovi dijelovi ostanu u položaju korištenja.

2.26.

„Blokirna naprava” znači naprava koja blokira i sprečava pomicanje dijela remena sigurnosnog pojasa za odrasle osobe u odnosu na drugi dio remena istog pojasa. Taj pojam obuhvaća sljedeće razrede:

2.26.1.

„naprava razreda A” koja sprečava da dijete s dijelom trbušnog pojasa izvuče remen iz uvlačnika kad se sigurnosni pojas za odrasle izravno koristi za držanje djeteta;

2.26.2.

„naprava razreda B” koja omogućava zadržavanje zatezne sile u trbušnom dijelu sigurnosnog pojasa za odrasle, kad se sigurnosni pojas za odrasle upotrebljava za pričvršćenje sustava za držanje djeteta. Naprava je namijenjena za sprečavanje klizanje remena iz uvlačnika kroz napravu koje bi prouzročilo otpuštanje zatezne sile i dovelo u neugodni položaj sustav za držanje.

2.27.

„Sustav za držanje za posebne potrebe” znači sustav za držanje djeteta s posebnim potrebama zbog fizičkog ili psihičkog invaliditeta. Ta naprava može posebno omogućiti korištenje dodatnih naprava za držanje bilo kojeg dijela tijela djeteta, međutim mora u najmanju ruku obuhvaćati primarnu funkciju držanja koja je sukladna zahtjevima ovog Pravilnika.

2.28.

„Pričvršćenje ISOFIX” znači jedna od dvije veze koje ispunjavaju zahtjeve stavka 6.3.2. ovog Pravilnika i koja seže od konstrukcije sustava za držanje djeteta ISOFIX i odgovara donjem sidrištu ISOFIX.

2.29.

„Sustav za držanje djeteta ISOFIX” znači sustav za držanje djeteta pričvršćen na sustav sidrišta ISOFIX ispunjavajući zahtjev Pravilnika br. 14.

2.30.

„Usjek sjedala” znači područje u blizini presjeka površina sjedišta i naslona sjedala vozilu.

2.31.

„Učvršćenje sjedala vozila (VSF)” znači učvršćenje u skladu s razredima veličina ISOFIX definiranim u stavku 2.1.1.7. i čije su mjere dane u Pravilniku br. 16, Prilogu 17., dodatku 2., na slikama od 1. do 6., koje koristi proizvođač sustava za držanje djeteta kako bi odredio odgovarajuće mjere sustava za držanje ISOFIX i raspored pričvrsnika ISOFIX.

2.32.

„Priključna spojnica gornje sigurnosne uzice ISOFIX”znači naprava namijenjena za pričvršćivanje na sidrište gornje sigurnosne uzice ISOFIX.

2.33.

„Kuka gornje sigurnosne uzice ISOFIX” znači priključak gornje sigurnosne uzice ISOFIX koji se uobičajeno upotrebljava za pričvršćivanje remena gornje sigurnosne uzice ISOFIX na sidrište gornje sigurnosne uzice ISOFIX kako je određeno u Prilogu br. 14., na slici 3.

2.34.

„Remen gornje sigurnosne uzice ISOFIX” znači pleteni remen (ili neki drugi jednakovrijedan) koji se nastavlja od vrha sustava za držanje djeteta ISOFIX do sidrišta za gornju sigurnosnu uzicu ISOFIX i koji je opremljen napravom za namještanje, napravom za otpuštanje napetosti i priključkom gornje sigurnosne uzice ISOFIX.

2.35.

„Pričvrsni dio gornje sigurnosne uzice ISOFIX” znači naprava za učvršćenje remena gornje sigurnosne uzice ISOFIX na sustav za držanje djeteta;

2.36.

„Naprava za otpuštanje napetosti” znači sustav koji omogućava otpuštanje naprave koja namješta i održava napetost u remena gornje sigurnosne uzice ISOFIX.

2.37.

„Vodilica remena sigurnosnog pojasa za odrasle” znači naprava kroz koju prolazi pojas radi njegova pravilnog postavljanja i koji omogućava slobodno pomicanje remena.

2.38.

„Homologacijsko ispitivanje” znači ispitivanje kako bi se odredilo u kojoj mjeri sustav za držanje djeteta podnesen za homologaciju može ispuniti zahtjeve.

2.39.

„Ispitivanje sukladnosti proizvodnje” znači ispitivanje kako bi se odredilo je li proizvođač sposoban proizvesti sustav za držanje djeteta sukladan sustavima za držanje djeteta podnesenim za homologaciju.

2.40.

„Rutinsko ispitivanje” znači ispitivanje određenog broja sustava za držanje odabranih iz jedne serije kako bi se provjerilo u kojoj mjeri ispunjavaju zahtjeve.

3.   ZAHTJEV ZA HOMOLOGACIJU

3.1.   Zahtjev za izdavanje homologacije tipa sustava za držanje djeteta podnosi nositelj trgovačkog imena ili njegov propisno ovlašteni zastupnik i treba pratiti homologacijski dijagram opisan u Prilogu 14.

3.2.   Zahtjevu za homologaciju, vezano za svaki tip sustava za držanje djeteta, prilažu se:

3.2.1.

tehnički opis sustava za držanje djeteta u kojemu su navedeni remeni i drugi korišteni materijali, zajedno s crtežima dijelova koji čine sustav za držanje djeteta i u slučaju uvlačnika upute za ugradbu tih uređaja i njihovih osjetila, izjavu o toksičnosti (stavak 6.1.5.) i zapaljivosti (stavak 6.1.6.), na crtežima moraju biti označena mjesta namijenjena za broj homologacije i dodatni simbol (simbole) u odnosu na krug homologacijske oznake. U opisu se navodi boja modela dostavljenog za homologaciju;

3.2.2.

četiri uzorka sustava za držanje djeteta;

3.2.3.

10 metara od svake kategorije remena koji se koristi u sustavu za držanje djeteta; i

3.2.4.

dodatni se uzorci dostavljaju na zahtjev tehničke službe nadležne za provođenje ispitivanja;

3.2.5.

upute za uporabu i podaci o pakiranju u skladu sa stavkom 15. dolje;

3.2.6.

u slučaju prijenosnih ležaljka za djecu, ako se sustav za držanje prijenosne ležaljke može uporabiti s više tipova prijenosnih ležaljka za djecu, njihov proizvođač dostavlja popis tipova.

3.3.   Kad se za pričvršćivanje sustava za držanje djeteta koristi homologirani sigurnosni pojas za odrasle, u zahtjevu se mora odrediti koja se kategorija sigurnosnog pojasa za odrasle može koristiti, npr. statički trbušni pojasevi.

3.4.   Prije izdavanja homologacije nadležno tijelo provjerava postoje li zadovoljavajuće mjere za osiguranje učinkovitog nadzora nad sukladnošću proizvodnje.

4.   OZNAKE

4.1.   Na uzorcima sustava za držanje djeteta, dostavljenim za homologaciju u skladu s odredbama gornjih stavaka 3.2.2. i 3.2.3., trebaju jasno i neizbrisivo biti označeni ime proizvođača, inicijali, odnosno trgovački znak.

4.2.   Na jednom od plastičnih dijelova sustava za držanje djeteta (kao što su školjka, štitnik od udara, pomoćno dječje sjedište itd.), osim pojasa (pojaseva) ili H-pojasa, treba jasno (i neizbrisivo) biti označena godina proizvodnje.

4.3.   Ako se sustav za držanje djeteta koristi zajedno sa sigurnosnim pojasom za odrasle, crtežom se treba označiti točan smjer tkane trake koji je trajno pričvršćen na sustav za držanje. Ako je sustav za držanje pričvršćen na svoje mjesto sigurnosnim pojasom za odrasle, točan smjer remena treba se jasno označiti oznakama u boji. Crvenom se bojom označava smjer sigurnosnog pojasa koji se koristi kad je sustav okrenut prema naprijed, a plavom bojom kada je sustav okrenut prema natrag. Iste se boje koriste na naljepnicama na sustavu koje prikazuju način uporabe.

Predviđeni smjerovi trbušnog dijela i dijagonalnog dijela sigurnosnog pojasa moraju biti jasno određeni. Svaki dio sigurnosnog pojasa mora biti označen odgovarajućim oznakama u boji, riječima, oblicima itd.

Na svakoj slici smjera pojasa na proizvodu mora biti jasno označen smjer sustava za držanje djeteta u odnosu na vozilo. Dijagrami smjera pojasa koji ne prikazuju sjedalo vozila nisu prihvatljivi.

Oznake definirane u ovom stavku trebaju biti vidljive na sustavu za držanje djeteta u vozilu. Za sustave za držanje skupine 0, te oznake moraju biti vidljive i kad je dijete smješteno u sustavu za držanje djeteta.

4.4.   Osim toga, u sustavima za držanje djeteta okrenutima prema natrag, izravno u području gdje je djetetova glava i na vidljivoj površini sustava za držanje djeteta, mora trajno biti pričvršćena naljepnica (prikazan je najmanji mogući tekst obavijesti).

Ta naljepnica mora biti na jeziku države u kojoj se sustav prodaje

Najmanja veličina naljepnice: 60 × 120 mm

Naljepnica mora biti prišivena na presvlaku po cijelom obodu i/ili trajno pričvršćena za presvlaku po cijelom stražnjem dijelu. Prihvatljiv je i svaki drugi oblik pričvršćivanja koji je trajan i ne može se ukloniti sa proizvoda niti izblijediti. Naljepnice u obliku zastavica su izričito zabranjene.

Ako dijelovi sustava za držanje djeteta ili neki drugi dodaci koje je priložio proizvođač sustava za držanje djeteta zaklanjaju naljepnicu zahtjeva se dodatna naljepnica. Jedna upozoravajuća naljepnica mora biti trajno vidljiva u svim položajima kad je sustav za držanje djeteta spreman za uporabu u bilo kojoj konfiguraciji.

Image

4.5.   Sustavi za držanje djeteta koji se mogu upotrijebiti tako da su okrenuti prema naprijed ili prema natrag, naljepnice uključuju sljedeće riječi:

„VAŽNO- NE KORISTITI OBRNUTO OD SMJERA VOŽNJE PRIJE NEGO ŠTO TEŽINA DJETETA PRIJEĐE … (vidjeti upute)”

4.6.   Kod sustava za držanje djeteta s alternativnim položajima pojasa, alternativne dodirne točke preuzimanja opterećenja između sustava za držanje djeteta i sigurnosnog pojasa za odrasle moraju biti trajno označene. To označivanje naznačuje da je to alternativni položaj pojasa i da je u skladu s gore navedenim zahtjevima za označivanje sjedala koja su okrenuta prema naprijed, odnosno natrag.

4.7.   Ako sustav za držanje djeteta nudi alternativne dodirne točke preuzimanja opterećenja, oznaka iz stavka 4.3. treba sadržavati naznaku da je alternativni položaj pojasa opisan u uputama za uporabu.

4.8.   Oznake za ISOFIX

Ako proizvod sadrži priključke ISOFIX sljedeće informacije moraju biti trajno vidljive osobi koja postavlja sustav u vozilo:

Logotip ISO ISOFIX, kojem slijedi slovo(slova) koje odgovara razredu (razredima) veličina kojem ISOFIX odgovara. Najmanje simbol koji je sastavljen od kruga s promjerom najmanje 13 mm i sadrži piktogram. Piktogram se mora jasno razlučivati od pozadine kruga. Piktogram mora biti jasno vidljiv bilo uz pomoć kontrasta u bojama ili odgovarajućeg reljefa ako je izliven ili izbočen.

Image

Piktogrami i/ili tekst mogu sadržavati sljedeće informacije:

a)

ključne korake potrebne za pripremu sjedala za namještanje. Na primjer mora biti pojašnjen postupak kako se izvlači ISOFIX sustav zabravljivanja;

b)

mora biti pojašnjen položaj, funkcija i značenje svih kazala;

(c)

pomoću jednog od donjih simbola koji odgovara, moraju biti navedeni položaj i prema potrebi smjer gornjih sigurnosnih uzica ili drugi načini za ograničavanje okretanja sjedala koji zahtijevaju posredstvo korisnika;

Image

(d)

mora se navesti kako se prilagođava sustav zabravljivanja ISOFIX i gornja sigurnosna uzica, ili druga sredstva za ograničavanje okretanje sjedala, koja zahtijevaju posredstvo korisnika;

(e)

oznaka mora biti trajno pričvršćena i vidljiva korisniku koji postavlja sjedalicu;

(f)

kada je potrebno, pomoću donjeg simbola se treba pozvati na upute za uporabu sustava za držanje djeteta i na lokaciju tog dokumenta.

Image

5.   HOMOLOGACIJA

5.1.   Prije nego što se izda homologacija, svaki uzorak koji je dostavljen za homologaciju u skladu sa gornjim stavcima 3.2.2. i 3.2.3. mora u svakom pogledu ispunjavati zahtjeve iz stavaka 6. do 8. ovog Pravilnika.

5.2.   Broj homologacije se izdaje za svaki homologirani tip. Prve dvije znamenke (trenutačno 03, što odgovara nizu izmjena 03 koje su stupile na snagu 12. rujna 1995.) ukazuju na niz izmjena koji uključuje najnovije veće tehničke izmjene Pravilnika u trenutku izdavanja homologacije. Ista ugovorna strana ne smije dodijeliti isti broj drugomu tipu sustava za držanje djeteta koji je obuhvaćen ovim Pravilnikom.

5.3.   Izjava o izdavanju ili proširenju ili odbijanju homologacije sustava za držanje djeteta dostavlja se ugovornim stranama u skladu s ovim Pravilnikom na obrascu koji odgovara uzorku iz Priloga 1. ovom Pravilniku.

5.4.   Osim oznaka koje su propisane gornjim stavkom 4., na prikladnom mjestu moraju se postaviti sljedeće oznake na sustav za držanje djeteta koji odgovara tipu koji je homologiran prema ovom Pravilniku:

5.4.1.

međunarodna homologacijska oznaka koja se sastoji od:

5.4.1.1.

kruga koji okružuje slovo „E” iza kojega slijedi razlikovni broj države koja je izdala homologaciju (1);

5.4.1.2.

broja homologacije;

5.4.2.

sljedeće dodatne oznake:

5.4.2.1.

riječ(i) „univerzalni”, „za ograničenu uporabu”, „poluuniverzalni” ili „za određeno vozilo” ovisno o kategoriji sustava za držanje djeteta.

5.4.2.2.

raspon mase za koju je namijenjen sustav za držanje djeteta i to: 0-10 kg; 0-13 kg; 9-18 kg; 15-25 kg; 22-36 kg; 0-18 kg; 9-25 kg; 15-36 kg; 0-25 kg; 9-36 kg; 0-36 kg;

5.4.2.3.

znak „Y” u slučaju da sustav ima međunožni remen, u skladu s uvjetima iz dopune 3. niza izmjena 02 ovog Pravilnika;

5.4.2.4.

znak „S” u slučaju „da se radi o sustavu za držanje za posebne potrebe”.

5.5.   U Prilogu 2. ovom Pravilniku naveden je primjer izgleda homologacijske oznake.

5.6.   Detalji iz gornjeg stavka 5.4. trebaju biti jasno su vidljivi i neizbrisivi i moraju se postaviti na napravu naljepnicom ili izravno označiti na napravi. Naljepnica ili oznaka moraju biti otporne na habanje.

5.7.   Naljepnice navedene u gornjem stavku 5.6. može izdati tijelo koje je izdalo homologaciju, odnosno proizvođač na temelju odobrenja tog tijela.

6.   OPĆI ZAHTJEVI

6.1.   Postavljanje i način pričvršćenja u vozilu

6.1.1.   Uporaba sustava za držanje djeteta kategorije „univerzalni”, „poluuniverzalni” i „za ograničenu uporabu” dopušta se na prednjim i stražnjim sjedalima, ako su sustavi za držanje djeteta ugrađeni sukladno uputama proizvođača.

6.1.2.   Uporaba sustava za držanje djeteta kategorije „za određeno vozilo” dopušta se na svim sjedalima, a također i u prostoru za prtljagu, ako su sustavi za držanje ugrađeni prema uputama proizvođača. Kod sustava za držanje koji su okrenuti prema natrag, konstrukcija mora osiguravati naslon za glavu djeteta kad je sustav za držanje spreman za korištenje. To treba odrediti kao crtu koja je okomita na naslon sjedala i prolazi kroz crtu očiju, dok presjecište mora biti najmanje 40 mm ispod početka polumjera oslonca za glavu;

6.1.3.   Ovisno o kategoriji u koju pripada, sustav za držanje djeteta pričvršćuje se na konstrukciju vozila ili na konstrukciju sjedala

MOGUĆE KONFIGURACIJE ZA HOMOLOGACIJU

TABLICA SKUPINA/KATEGORIJA

SKUPINA KATEGORIJA

Univerzalan (2)

Poluuniverzalan (3)

Za ograničenu uporabu

Za određena vozila

SDD

ISOFIX SDD

SDD

ISOFIX SDD

SDD

ISOFIX SDD

SDD

ISOFIX SDD

0

prijenosna dječja ležaljka

A

NA

A

A

A

NA

A

A

okrenuta nazad

A

NA

A

A

A

NA

A

A

0+

okrenuta nazad

A

NA

A

A

A

NA

A

A

I

okrenuta nazad

A

NA

A

A

A

NA

A

A

okrenuta naprijed

(integralna)

A

A

A

A

A

NA

A

A

okrenuta naprijed

(neintegralna)

NA

NA

NA

NA

NA

NA

NA

NA

okrenuta naprijed

(neintegralna – vidjeti stavak 6.1.12

A

NA

A

NA

A

NA

A

A

II

okrenuta nazad

A

NA

A

NA

A

NA

A

A

okrenuta naprijed

(integralna)

A

NA

A

NA

A

NA

A

A

okrenuta naprijed

(neintegralna)

A

NA

A

NA

A

NA

A

A

III

okrenuta nazad

A

NA

A

NA

A

NA

A

A

okrenuta naprijed

(integralna)

A

NA

A

NA

A

NA

A

A

okrenuta naprijed

(neintegralna)

A

NA

A

NA

A

NA

A

A

Pri čemu je:

SDD: sustav za držanje djeteta

A: primjenjiv

NA: nije primjenjiv

6.1.3.1.   Za kategorije „univerzalni” i „za ograničenu uporabu” pomoću sigurnosnog pojasa za odraslu osobu (sa ili bez uvlačnika), koji ispunjava zahtjeve Pravilnika br. 16 (ili istovrijednog propisa), koji je pričvršćen na sidrišta koja ispunjavaju zahtjeve Pravilnika br. 14 (ili istovrijednog propisa).

6.1.3.2.   Za univerzalne sustave za držanje djeteta ISOFIX pomoću dijelova za pričvršćenje ISOFIX i gornje sigurnosne uzice ISOFIX koji ispunjavaju zahtjeve ovog Pravilnika ugrađene u sustav sidrišta ISOFIX i sidrište gornje sigurnosne uzice ISOFIX koji ispunjavaju zahtjeve Pravilnika br. 14.

6.1.3.3.   Za kategoriju „poluuniverzalni”: pomoću donjih sidrišta koja su propisana Pravilnikom br. 14 i dodatnim sidrištima koja zadovoljavaju preporuke Priloga 11. ovom Pravilniku.

6.1.3.4.   Za poluuniverzalne sustave za držanje djeteta ISOFIX pomoću dijelova za pričvršćenje ISOFIX i gornje sigurnosne uzice ili potporne noge ili ploče s instrumentima vozila koji ispunjavaju zahtjeve ovog Pravilnika učvršćene na sidrišta ISOFIX i/ili sidrište gornje sigurnosne uzice ISOFIX koji ispunjavaju zahtjeve Pravilnika br. 14.

6.1.3.5.   Za kategoriju „za određeno vozilo”: pomoću sidrišta koja je konstruirao proizvođač sustava za držanje djeteta, odnosno proizvođač vozila;

6.1.3.6.   Kod remena za držanje djeteta ili remena za pričvršćenje sustava za držanje djeteta, koji koriste sidrišta na koja je već pričvršćen sigurnosni pojas, odnosno pojasevi za odraslu osobu, tehnička služba provjerava:

 

je li stvarni položaj sidrišta pojasa za odraslu osobu homologiran sukladno Pravilniku br. 14, odnosno istovrijednoj normi;

 

da učinkovito djelovanje jedne naprave nije ometano drugom;

 

da se kopče sustava za držanje i kopče dodatnog sustava međusobno ne mogu zamijeniti.

Kod sustava za držanje djeteta koji koriste spojne šipke ili dodatne naprave pričvršćene na sidrišta koja su homologirana prema Pravilniku br. 14, koja pomiču stvarni položaj sidrenja izvan područja određena Pravilnikom br. 14, primjenjuju se sljedeće točke:

 

takve će se naprave homologirati samo kao poluuniverzalne ili za određena vozila;

 

tehnička služba mora primjenjivati zahtjeve Priloga 11. ovom Pravilniku za spojne šipke i dijelove za pričvršćivanje;

 

spojna šipka mora se uključiti u dinamičko ispitivanje s opterećenjem koje se primjenjuje na sredinu šipke u njezinom krajnje razvučenom položaju, ako je ona podesiva;

 

položaj i funkcionalnost bilo kojega sidrišta za odrasle osobe s kojim je pričvršćena spojna šipka ne smiju biti narušeni.

6.1.3.7.   Sustavi za držanje djeteta koji koriste potpornu nogu mogu biti homologirani samo pod kategorijom „poluuniverzalni” ili „za posebno vozilo” i primjenjuju se zahtjevi Priloga 11. ovom Pravilniku. Proizvođač sustava za držanje djeteta uzima u obzir potrebu za potpornom nogom radi njihovog ispravnog funkcioniranja u svakom vozilu i osigurava potrebne informacije u vezi s tim.

6.1.4.   Pomoćno dječje sjedište mora biti pričvršćen sigurnosnim pojasom za odrasle ako se koristi ispitivanje određeno stavkom 8.1.4. ili na druge načine.

6.1.5.   Proizvođač sustava za držanje djeteta mora dati pisanu izjavu da je toksičnost materijala korištenih u proizvodnji sustava za držanje, a dostupni su djeci koja upotrebljavaju te sustave, u skladu s odgovarajućim dijelovima norme CEN Sigurnost igračaka, dio 3. (lipanj 1982.) (4). Ispitivanja za potvrdu valjanosti te izjave mogu se obaviti prema nahođenju homologacijskog tijela. Ovaj se stavak na primjenjuje za sustave za držanje skupina II. i III.

6.1.6.   Proizvođač sustava za držanje djeteta mora u pisanu obliku izjaviti da je zapaljivost materijala, korištenog za proizvodnju sustava za držanje djeteta, u skladu s odgovarajućim stavcima Konsolidiranje rezolucije ECE o izradi vozila (R.E.3) (dokument TRANS/WP.29/78/Rev.1, stavak 1.20.). Ispitivanja za potvrdu valjanosti te izjave mogu se obaviti po nahođenju tijela za homologacijska ispitivanja.

6.1.7.   Kod sustava za držanje djeteta okrenutima prema natrag, oslonjenih na ploču s instrumentima, pri homologaciji se prema ovom Pravilniku pretpostavlja da je ploča s instrumentima dovoljno čvrsta.

6.1.8.   Kod sustava za držanje djeteta kategorije „univerzalni”, najviše opterećena dodirna točka sustava za držanje djeteta i sigurnosnog pojasa za odraslu osobu mora biti udaljena najmanje 150 mm od osi Cr, mjereno kad se sustav za držanje djeteta nalazi na napravi za dinamičko ispitivanje.

6.1.9.   Najveća dužina pojasa za odrasle koji se može koristiti za pričvršćenje sustava za držanje djeteta kategorije „univerzalni” na napravi za dinamičko ispitivanje određena je u Prilogu 13. ovom Pravilniku.

Za provjeru sukladnosti s ovim zahtjevom, sustav za držanje djeteta pričvršćuje se na napravu za ispitivanje upotrebom odgovarajućeg normiranog sigurnosnog pojasa opisanog u Prilogu 13. Ispitna se lutka ne postavlja ako sustav za držanje nije konstruiran tako da postavljanje lutke iziskuje veću duljinu pojasa. Kad je sustav za držanje djeteta u odgovarajućem položaju, u pojasu smije postojati samo vlačno naprezanje prouzročeno uobičajenim uvlačnikom, ako je ugrađen. Ako se koristi sigurnosni pojas s uvlačnikom, taj uvjet mora biti zadovoljen s najmanje 150 mm pojasa preostalog na namatalici uvlačnika.

6.1.10.   Sustavi za držanje djeteta skupine 0 i 0 + ne smiju se koristiti okrenuti prema naprijed.

6.1.11.   Sustavi za držanje djeteta skupine 0 i 0+, osim prijenosnih dječjih ležaljka, kako su određene u stavku 2.4.1., pripadaju integralnom razredu.

6.1.12.   Sustavi za držanje djeteta skupine I pripadaju integralnom razredu osim ako nisu opremljeni štitnikom od udara kako je definiran u stavku 2.7.

6.2.   Konstrukcija

6.2.1.   Konstrukcija za držanje je takva da:

6.2.1.1.

sustav za držanje osigurava propisanu zaštitu u svakom predviđenom položaju; kod „sustava za držanje za posebne potrebe” osnovna funkcija sustava za držanje mora pružiti zahtijevanu zaštitu u svakom položaju sustava za držanje bez uporabe dodatnih naprava za držanje koje mogu postojati;

6.2.1.2.

se dijete lako i brzo posjedne i izvadi iz sustava za držanje; kod sustava za držanje djeteta u kojem se dijete drži H-pojasom ili Y-pojasom bez uvlačnika, tijekom postupka propisanog u stavku 7.2.1.4. svi rameni i trbušni remeni moraju se moći pomicati jedni u odnosu na druge.

U tim se slučajevima sklop sustava za držanje djeteta može se konstruirati iz dva ili više spojnih dijelova. Za „sustave za držanje za posebne potrebe” razumljivo je da će dodatne naprave za držanje djeteta smanjiti brzinu kojom se dijete može postaviti u i podići iz sustava za držanje. Međutim, dodatne naprave moraju biti konstruirane tako da se mogu što brže otkopčati.

6.2.1.3.

Ako se može promijeniti nagib sustava za držanje, tu promjenu nagiba treba biti moguće izvesti bez ponovnog ručnog namještanja remena. Za promjenu nagiba sustava za držanje potreban je namjeran pokret s rukom.

6.2.1.4.

Sustavi za držanje djece skupine 0 i 0 + i I moraju držati dijete u takvom položaju da daju potrebnu zaštitu i onda kad dijete spava;

6.2.1.5.

Kako bi se spriječilo skliznuće ispod pojasa, bilo zbog udara ili nemira djeteta, potreban je međunožni pojas na svim naprijed okrenutim sustavima za držanje skupine I koji sadrže integrirani sustav H-pojasa. S pričvršćenim međunožnim pojasom u krajnje izvučenom položaju, ako je namjestiv, ne smije biti moguće namjestiti trbušni remen iznad zdjelice ispitne lutke od 9 kg odnosno 15 kg.

6.2.2.   Za skupine I, II i III, sve sustavi za držanje koji koriste „trbušni pojas” moraju prinudno voditi taj „trbušni pojas” tako da se opterećenja koja prenosi trbušni pojas prenose preko zdjelice.

6.2.3.   Svi remeni sustava za držanje moraju biti postavljeni tako da pri uobičajenoj uporabi ne uzrokuju neudobnost niti ne ugrožavaju korisnika. Razmak između remena ramenog pojasa u blizini vrata treba biti najmanje jednak širini vrata odgovarajuće ispitne lutke.

6.2.4.   Sklop ne smije vršiti prekomjerni pritisak na meke dijelove dječjeg tijela (trbuha, međunožja itd.). Konstrukcija treba biti takva da u slučaju sudara ne vrši pritisak na tjeme glave djeteta.

6.2.4.1.

Y-pojasevi se koriste samo kod sustava za držanje djece koji su okrenuti prema natrag.

6.2.5.   Sustav za držanje djeteta mora biti konstruiran i postavljen tako da:

6.2.5.1.

što više smanji opasnost od pozljeđivanja djeteta ili drugih putnika u vozilu zbog oštrih rubova ili izbočina (kako je primjerice određeno Pravilnikom br. 21);

6.2.5.2.

nema oštrih rubova odnosno izbočina koje bi mogle oštetiti navlake sjedala u vozilu ili odjeću putnika;

6.2.5.3.

ne izlaže meke dijelove tijela djeteta (trbuh, međunožje itd.) dodatnim silama inercije koje prouzroči;

6.2.5.4.

osigurava da u dodirnim točkama s remenjem kruti dijelovi nemaju oštrih rubova koji bi mogli strugati remenje.

6.2.6.   Svaki dio posebno izrađen da omogući postavljanje i skidanje sastavnih dijelova mora biti tako konstruiran da postoji što manja opasnost od pogrešnog sastavljanja ili uporabe. „Sustavi za držanje za posebne potrebe” mogu imati dodatne naprave za držanje; oni moraju biti tako konstruirani da ne postoji opasnost od pogrešnog sastavljanja i da su njihov mehanizam za otvaranje i način djelovanja u slučaju opasnosti odmah jasni spasitelju.

6.2.7.   Ako sustav za držanje djeteta skupine I i II te kombinacije skupina I i II obuhvaća naslon sjedala, njegova unutarnja visina, određena u skladu s dijagramom iz Priloga 12., mora iznositi najmanje 500 mm.

6.2.8.   Mogu se koristiti samo uvlačnik s automatskim blokiranjem ili uvlačnici s blokiranjem u slučaju opasnosti.

6.2.9.   Kod sustava za držanje koji su namijenjeni za uporabu u skupini I ne smije biti moguće da dijete, nakon stavljanja u sustav za držanje, lako otpusti onaj dio naprave koji drži zdjelični dio; svaka naprava koja je za to konstruirana mora stalno biti pričvršćena na sustav za držanje djeteta.

6.2.10.   Sustav za držanje djeteta može se konstruirati za uporabu za više masenih skupina i/ili za više djece, pod uvjetom da ispunjavaju zahtjeve određene za svaku od tih skupina. Sustav za držanje djeteta kategorije „univerzalni” mora ispunjavati uvjete te kategorije za sve masene skupine za koje je homologiran.

6.2.11.   Sustavi za držanje djeteta s uvlačnikom

Kod sustava za držanje djeteta koji obuhvaća uvlačnik, on mora ispunjavati uvjete iz niže navedenog stavka 7.2.3.

6.2.12.   U slučaju pomoćnog dječjeg sjedišta mora biti provjereno prolaze li remeni i jezičac sigurnosnog pojasa za odrasle lagano kroz pričvrsne točke. To posebno vrijedi za pomoćna dječja sjedišta konstruirana za prednja sjedala vozila, koja mogu imati duge polukrute stalke. Kopču za pričvršćivanje ne smije biti moguće provući kroz pričvrsne točke pomoćnog dječjeg sjedišta, odnosno dopustiti da pojas naliježe potpuno drukčije nego li na ispitnim kolicima.

6.2.13.   Ako je sustav za držanje djeteta namijenjen za nekoliko djece, svaki sustav za držanje mora biti u potpunosti nezavisan u pogledu prijenosa opterećenja i namještanja.

6.2.14.   Sustavi za držanje djeteta koji uključuju dijelove za napuhavanje, moraju biti konstruirani tako da uvjeti uporabe (tlak, temperatura, vlažnost) ne utječu na ispunjavanje zahtjeva iz ovog Pravilnika.

6.3.   Značajke sustava za držanje djeteta ISOFIX

6.3.1.   Opće značajke

6.3.1.1.   Mjere

Najveće postranične, donje i stražnje mjere sustava za držanje djeteta ISOFIX i položaji za sustav sidrišta ISOFIX s kojima se moraju povezati dijelovi za pričvršćenje sustava za držanje određuje proizvođač sustava za držanje djeteta ISOFIX pomoću učvršćenja sjedala vozila (VSF) određenog u stavku 2.31. ovog Pravilnika.

6.3.1.2.   Masa

Masa sustava za držanje djeteta ISOFIX razreda univerzalni i poluuniverzalni i masenih skupina 0, 0+, 1 ne prelazi 15 kg.

6.3.2.   Dijelovi za pričvršćenje ISOFIX

6.3.2.1.   Tip

Dijelovi za pričvršćenje ISOFIX mogu biti u skladu s primjerima prikazanim na slici 0 (a), ili drugih odgovarajućih konstrukcija koje su dio krutog mehanizma i omogućavaju namještanje, a čije načelo djelovanja određuje proizvođač sustava za držanje djeteta ISOFIX.

Slika 0 (a)

Image

6.3.2.2.   Mjere

Mjere onog odsječka dijela za pričvršćenje sustava za držanje djeteta ISOFIX koji se spaja sa sustavom sidrišta ISOFIX ne smije prelaziti najveće mjere navedene na slici 0 (b).

Slika 0 (b)

Image

6.3.2.3.   Prikaz nepotpune zakopčanosti

Sustav za držanje djeteta ISOFIX mora uključivati napravu koja daje jasan prikaz da su oba ISOFIX dijela za pričvršćenje potpuno zakopčana s odgovarajućim donjim sidrištima ISOFIX. Prikaz se može vršiti zvukom, opipom, vizualno ili kombinacijom dva ili više prethodno navedenih načina. Vizualni prikaz mora biti uočljiv pri svim uobičajenim uvjetima osvijetljenosti.

6.3.3.   Značajke gornje sigurnosne uzice sustava za držanje djeteta ISOFIX

6.3.3.1.   Priključak gornje sigurnosne uzice ISOFIX

Priključak gornje sigurnosne uzice ISOFIX treba biti kuka na gornjoj sigurnosnoj uzici ISOFIX kako je prikazano na slici 0 (c), ili slična naprava koja se može priključiti u uklopnik prikazan na slici 0 (c).

6.3.3.2.   Značajke remena gornje sigurnosne uzice ISOFIX

Gornji remen ISOFIX mora biti ojačan tkanim remenom (ili jednakovrijednim materijalom) koji se može prilagođavati i na kojem se može otpuštati napetost.

6.3.3.2.1.   Dužina remena gornje sigurnosne uzice ISOFIX

Dužina remena gornje sigurnosne uzice ISOFIX je najmanje 2 000 mm.

6.3.3.2.2.   Indikator zategnutosti

Remen gornje sigurnosne uzice ISOFIX ili dječja sjedalica ISOFIX opremljeni su napravom koja pokazuje da je remen zategnut. Naprava može biti dio naprave za namještanje i naprave za otpuštanje napetosti.

6.3.3.2.3.   Mjere

Spojne mjere kuka gornje sigurnosne uzice ISOFIX prikazane su na slici 0 (c).

Slika 0 (c)

Mjere priključka (tipa kuke) ISOFIX gornje sigurnosne uzice

Image

6.3.4.   Odredbe za namještanje

Dijelovi za pričvršćenje ISOFIX ili sam sustav za držanje djeteta ISOFIX mogu se namještati kako bi se prilagodili rasponu smještaja sidrišta ISOFIX kako je opisano u Pravilniku 14.

6.4.   Kontrola oznaka

6.4.1.   Tehnička služba koja provodi homologacijska ispitivanja provjerava da oznake ispunjavaju zahtjeve stavka 4.

6.5.   Kontrola uputa za ugradbu i uputa za uporabu

6.5.1.   Tehnička služba provodi homologacijska ispitivanja za provjeru uputa za ugradbu i uputa za uporabu i njihovu sukladnost sa stavkom 15.

7.   POSEBNI ZAHTJEVI

7.1.   Odredbe koje važe na ugrađeni sustav za držanje

7.1.1.   Otpornost na koroziju

7.1.1.1.   Na cijelom sustavu za držanje djeteta ili na njegovim dijelovima koji su osjetljivi na koroziju, ispitivanja otpornosti na koroziju obavljaju se sukladno niže navedenom stavku 8.1.1.

7.1.1.2.   Nakon ispitivanja otpornosti na koroziju sukladno stavcima 8.1.1.1. i 8.1.1.2. ne smije biti znakova oštećenja koji bi mogla štetno utjecati na pravilno djelovanje sustava za držanje djeteta, niti veće korozije koju bi stručnjak mogao opaziti prostim okom bez pomagala.

7.1.2.   Apsorpcija energije

7.1.2.1.   Kod svih sustava s naslonima za leđa moraju postojati unutarnje površine, koje su definirane u Prilogu 18. ovom Pravilniku, izrađene od materijala s vršnim ubrzanjem manjim 60 g kada se mjeri u skladu s Prilogom 17. ovom Pravilniku. Ovaj se zahtjev primjenjuje također na područja štitnika od udara koji se nalaze u području udara glave.

7.1.2.2.   Kod sustava za držanje djeteta s trajno mehanički pričvršćenim prilagodljivim napravama za potporu glave, kod kojih se visina sigurnosnog pojasa za odrasle ili pojasa H za djecu izravno nadzire prilagodljivim potpornjem za glavu, nije nužno zahtijevati materijal koji apsorbira energiju na mjestima određenim u Prilogu 18., koji ne mogu doći u dodir s glavom ispitne lutke, odnosno iza potpornja za glavu.

7.1.3.   Prevrtanje

7.1.3.1.   Sustav za držanje djeteta ispituje se sukladno zahtjevima stavka 8.1.2.; ispitna lutka ne smije ispasti iz naprave i, kad je ispitno sjedalo okrenuto naopako, glava ispitne lutke ne smije se pomaknuti za više od 300 mm iz svog početnog položaja u vertikalnom smjeru u odnosu na ispitno sjedalo.

7.1.4.   Dinamičko ispitivanje

7.1.4.1.   Općenito. Na sustavu za držanje djeteta obavlja se dinamičko ispitivanje u skladu sa stavkom 8.1.3. dolje.

7.1.4.1.1.   Sustavi za držanje djeteta kategorija „univerzalni”, „za ograničenu uporabu” i „poluuniverzalni” ispituju se na ispitnim kolicima pomoću ispitnog sjedala kako je propisano u stavku 6. i u skladu sa stavkom 8.1.3.1.

7.1.4.1.2.   Sustavi za držanje djeteta kategorije „za određeno vozilo” ispituju se na svakom modelu vozila za koje su namijenjeni. Tehnička služba, nadležna za izvođenje ispitivanja, može smanjiti broj ispitivanih modela vozila, ako se bitno ne razlikuju u značajkama koje su navedene u stavku 7.1.4.1.2.3. Sustav za držanje djeteta može se ispitati na jedan od sljedećih načina:

7.1.4.1.2.1.

na potpunom vozilu, kako je propisano stavkom 8.1.3.3;

7.1.4.1.2.2.

na u karoseriji vozila na ispitnim kolicima, kako je određeno stavkom 8.1.3.2.; ili

7.1.4.1.2.3.

na dijelova karoserije vozila koji su dovoljni da predstavljaju konstrukciju vozila i površine udara. Ako je sustav za držanje djeteta namijenjen za korištenje na stražnjem sjedalu, taj dio uključuje naslon prednjeg sjedala, stražnje sjedalo, podnu plohu, stupove B i C i krov. Ako je sustav za držanje djeteta namijenjen za korištenje na prednjem sjedalu, dijelovi moraju uključiti ploču s instrumentima, stupove A, vjetrobransko staklo, ručice ili tipke koje su ugrađene u pod ili na konzolu, prednje sjedalo, podnu ploču i krov. Nadalje, ako je sustav za držanje djeteta namijenjen za korištenje u kombinaciji sa sigurnosnim pojasom za odrasle, ti dijelovi uključuju odgovarajuće sigurnosne pojaseve za odrasle. Tehnička služba, nadležna za izvođenje ispitivanja, može dopustiti da određeni dijelovi budu izuzeti ako smatra da su suvišni. Ispitivanje se obavlja sukladno stavku 8.1.3.2.

7.1.4.1.3.   Dinamičko ispitivanje se obavlja na sustavima za držanje djeteta koji prethodno nisu bili izloženi opterećenju.

7.1.4.1.4.   Tijekom dinamičkog ispitivanja niti jedan dio sustava za držanje djeteta čija je funkcija držanje djeteta u predviđenom položaju ne smije se slomiti niti se smije osloboditi kopča, sustav za blokiranje ili sustav za pomicanje.

7.1.4.1.5.   Kod sustava „neintegriranog tipa” kao sigurnosni pojas koristi se normirani pojas i njegovo sidrište koji su propisani u Prilogu 13. ovom Pravilniku. To se ne primjenjuje na homologaciju sustava kategorije „za određeno vozilo” gdje se koristi sigurnosni pojas koji je ugrađen u vozilo.

7.1.4.1.6.   Ako je sustav za držanje djeteta kategorije „za određeno vozilo” ugrađen na dijelu iza krajnjeg stražnjeg sjedala za odrasle okrenutog prema naprijed (na primjer u prostor za prtljagu), obavlja se jedno ispitivanje na potpunom vozilu s najvećom ispitnom lutkom ili više njih, kako je to određeno u stavku 8.1.3.3.3. Ostala se ispitivanja, uključujući sukladnost proizvodnje, mogu obaviti prema odredbama stavka 8.1.3.2. ako tako želi proizvođač.

7.1.4.1.7.   Kod „sustava za držanje za posebne namjene” svako dinamičko ispitivanje propisano ovim Pravilnikom, izvodi se dva puta za svaku masenu skupinu: prvi put pri korištenju primarnih sredstava za držanje, a drugi puta pri korištenju svih naprava za držanje. Pri tim ispitivanjima treba posebno poštovati zahtjeve iz stavaka 6.2.3. i 6.2.4.

7.1.4.1.8.   Tijekom dinamičkih ispitivanja normirani sigurnosni pojas, koji se koristi za postavljanje sustava za držanje djeteta, ne smije se odvojiti od vodilice ili naprave za blokiranje upotrijebljene pri ispitivanju.

7.1.4.1.9.   Sustav za držanje djeteta sa potpornom nogom ispituje se kako slijedi:

(a)

u slučaju kategorije poluuniverzalni, ispitivanja čelnog sudara provode se sa potpornom nogom namještenom na njezin najveći i najmanji prihvatljivi položaj sukladan položaju podne ploče ispitnih kolica. Ispitivanja stražnjeg sudara provode se s najgorim mogućim položajem koji odabere tehnička služba. Tijekom ispitivanja potpornu nogu podupire podna ploča ispitnih kolica kako je opisano u Prilogu 6., dodatku 3., na slici 2. Ako postoji zračnost između najkraće dužine noge i najviše razine podne ploče, noga se prilagođava razini podne ploče 140 mm ispod Cr. Ako je najveća dužina noge veća od toga što dozvoljava najniža razina ploče poda noga se postavlja na tu najnižu razinu ploče poda koja je namještena na 280 mm ispod Cr. Kod potporne noge s prilagodljivim stupnjevima potporna se noga postavlja na naredni stupanj prilagodbe da se utvrdi da je potporna noga u dodiru s podom;

(b)

u slučaju kad je potporna noga izvan ravnine simetrije, najgori slučaj za ispitivanje odabire tehnička služba;

(c)

u slučaju kategorije posebnog vozila, potporna noga se prilagođava kako je naveo proizvođač sustava za držanje djeteta.

7.1.4.1.10.   U slučaju sustava za držanje djeteta koji koristi sustav sidrišta ISOFIX i napravu za sprečavanje okretanja, ako postoji, dinamičko ispitivanje se provodi:

7.1.4.1.10.1.

Za SDD ISOFIX razreda veličine A i B:

7.1.4.1.10.1.1.

s napravom za sprečavanje okretanja u uporabi; i

7.1.4.1.10.1.2.

bez naprave za sprečavanje okretanja u uporabi. Ovaj zahtjev se ne primjenjuje kada se koristi trajno pričvršćena i neprilagodljiva potporna noga kao naprava za sprečavanje okretanja.

7.1.4.1.10.2.

Za sustave za držanje djeteta ISOFIX drugih razreda veličina s napravom za sprečavanje okretanja u uporabi.

7.1.4.2.   Ubrzanje prsnog koša (5)

7.1.4.2.1.   Rezultanta ubrzanja prsnoga koša ne smije prelaziti 55 g, osim u razdobljima čiji zbroj ne prelazi 3 ms.

7.1.4.2.2.   Vertikalna komponenta ubrzanja od trbuha prema glavi ne smije prelaziti 30 g, osim u razdobljima čiji zbroj ne prelazi 3 ms.

7.1.4.3.   Prodor u trbuh (6)

7.1.4.3.1.   Tijekom provjere opisane u stavku 5.3. dodatka 1. Prilogu 8. ne smije biti vidljivih znakova prodora na plastelinu u trbušnom predjelu koji bi prouzročio bilo koji dio naprave za držanje djeteta.

7.1.4.4.   Promjena položaja lutke za ispitivanje

7.1.4.4.1.   Sustavi za držanje kategorije „univerzalni”, „za ograničenu uporabu” i „poluuniverzalni”.

7.1.4.4.1.1.

Sustavi za držanje djeteta okrenuti prema naprijed: glava ispitne lutke ne smije se pomaknuti izvan ravnina BA i DA, kako su određene na slici 1.

Slika 1.

Shema ispitivanja naprave okrenute prema naprijed

Image

7.1.4.4.1.2.

Sustavi za držanje djeteta okrenuti prema natrag:

7.1.4.4.1.2.1.

Sustavi za držanje djeteta koji se oslanjaju na ploču s instrumentima: glava ispitne lutke ne smije prijeći ravnine AB, AD i DCr, kako su određene na slici 2. dolje.

To se ocjenjuje u trajanju do 300 ms ili do trenutka kada je ispitna lutka došla do krajnjeg položaja, ovisno što se prije dogodi.

Slika 2.

Shema ispitivanja naprave okrenute prema natrag

Image

7.1.4.4.1.2.2.

Sustavi za držanje djeteta skupine 0 koji se ne oslanjaju na ploču s instrumentima i prijenosni dječji ležajevi: glava lutke ne smije prijeći ravnine AB, AD i DE, kako je to prikazano na slici 3. dolje. To se ocjenjuje u trajanju do 300 ms ili do trenutka kada je ispitna lutka došla do krajnjeg položaja, ovisno što se prije dogodi.

Slika 3.

Shema ispitivanja naprava za držanje djeteta skupine 0 koje se ne oslanjaju na ploču s instrumentima

Image

7.1.4.4.1.2.3.

Sustavi za držanje djeteta, koji se ne oslanjaju na ploču s instrumentima i ne pripadaju u skupinu 0:

Glava ispitne lutke ne smije prijeći ravnine FD, FG i DE, kako su prikazane na slici 4. To se ocjenjuje u trajanju do 300 ms ili do trenutka kada je ispitna lutka došla do krajnjeg položaja, ovisno što se prije dogodi.

Ako se takav sustav za držanje djeteta dodirne sa šipkom promjera 100 mm, a ispunjeni su svi kriteriji za provođenje ispitivanja, obavlja se još jedno dinamičko ispitivanje (čelni sudar) s najtežom ispitnom lutkom namijenjenom za takav sustav za držanje djeteta i bez šipke promjera 100 mm; zahtjevi za to ispitivanje su da budu zadovoljeni svi kriteriji osim pomaka prema naprijed.

Slika 4.

Shema ispitivanja naprava okrenutih prema natrag, osim skupine 0, koje se ne oslanjaju na ploču s instrumentima

Image

7.1.4.4.2.   Sustavi za držanje djeteta kategorije „za određeno vozilo”: pri ispitivanju u potpunom vozilu ili u karoseriji vozila, glava ne smije dodirnuti bilo koji dio vozila. Međutim, ako dođe do dodira, brzina udara glave treba biti manja od 24 km/h, a dio u koji glava udari mora ispunjavati zahtjeve ispitivanja apsorpcije energije određene u Prilogu 4. Pravilniku br. 21. Kod ispitivanja izvedenog s potpunim vozilima, ispitne lutke mora biti moguće izvaditi iz sustava za držanje djeteta nakon ispitivanja bez uporabe alata.

7.1.5.   Otpornost na utjecaj temperature

7.1.5.1.   Mehanizam kopče, uređaji za povlačenje, uređaji za namještanje i blokiranje na koje bi mogla štetno utjecati visoka temperatura, izlažu se ispitivanju na utjecaj temperaturu koje je navedeno u stavku 8.2.8.

7.1.5.2.   Nakon ispitivanja na utjecaj temperaturne, propisanog stavkom 8.2.8.1., na sustavu za držanje djeteta stručnjak golim okom bez optičkih pomagala ne smije uočiti vidljive znakove oštećenja koja bi mogla štetno utjecati na pravilno djelovanje sustava za držanje djeteta.

7.2.   Odredbe koje važe za pojedinačne dijelove sustava za držanje

7.2.1.   Kopča

7.2.1.1.   Kopča treba biti konstruirana tako da je isključena svaka mogućnost nepravilne uporabe. Između ostalog, to znači da kopča ne smije ostati u djelomično zatvorenom položaju; u postupku zatvaranja kopče ne smije biti moguće nepažnjom zamijeniti dijelove kopče; kopča se mora zatvoriti samo kad su svi dijelovi zakvačeni. Na mjestima gdje dolazi u dodir s djetetom kopča ne smije biti uža od najmanje širine trake, koja je određena stavkom 7.2.4.1.1. Taj se stavak ne primjenjuje na sklopove sigurnosnih pojaseva koji su već homologirani u skladu s Pravilnikom ECE br. 16, ili bilo kojom istovrijednom normom na snazi. Kod „sustava za držanje za posebne potrebe” samo kopča na primarnom sustavu za držanje mora biti sukladna zahtjevima stavaka 7.2.1.1. do uključivo 7.2.1.9.

7.2.1.2.   Kopča mora ostati zatvorena u svakom položaju i kad nije opterećena. Mora biti napravljena tako da ju je lako uhvatiti i s njom rukovati. Ona se mora dati otkopčati pritiskom na gumb ili sličnu napravu. Dio na koji treba pritisnuti kod otvorene kopče mora imati: kod naprava u kućištu, površinu najmanje 4,5 cm2 širine najmanje 15 mm; kod naprava bez kućišta, površinu najmanje 2,5 cm2 širine najmanje 10 mm. Širina je ona manja od navedene dviju dimenzija koje čine propisanu površinu i mora se mjeriti okomito na smjer kretanja dugmeta za otkapčanje.

7.2.1.3.   Površina za otkapčanje kopče je crvene boje. Niti jedan drugi dio te kopče ne smije biti te boje.

7.2.1.4.   Treba biti moguće osloboditi dijete iz sustava za držanje samo jednom radnjom na jedinoj kopči. Kod grupa 0 i 0 + dopušteno je ukloniti dijete zajedno sa napravama kao što su dječja nosiljka/prijenosna ležaljka za dijete/sustavi za držanje prijenosne ležaljke za dijete, ako se sustav za držanje djeteta može osloboditi otvaranjem najviše dvije kopče.

7.2.1.4.1.   Smatra se da povezivanje ramenih remena H-pojasa spojnom stezaljkom nije u skladu sa zahtjevom za jednu radnju iz stavka 7.2.1.4.

7.2.1.5.   Za skupine II i III kopča mora biti postavljena tako da je dijete koje se nalazi u napravi može dohvatiti. Osim toga, ona, kod svih skupina, mora biti postavljena tako da u slučaju opasnosti spasilac odmah prepoznaje njezinu namjenu i način djelovanja.

7.2.1.6.   Otvaranje kopče mora omogućiti da se dijete oslobodi neovisno o „sjedalu”, „postolju sjedala” ili „štitniku od udara”, ako su ugrađeni i ako naprava ima međunožni remen, on se mora osloboditi djelovanjem te iste kopče.

7.2.1.7.   Kopča mora izdržati ispitivanje otpornosti na utjecaj temperature sukladno zahtjevima stavka 8.2.8.1. i zatim ponovljenu radnju te prije dinamičkog ispitivanja propisanog stavkom 8.1.3. mora proći ispitivanje koje obuhvaća 5 000 ± ciklusa otvaranja i zatvaranja pri uobičajenim uvjetima uporabe.

7.2.1.8.   Na kopči se obavljaju sljedeća ispitivanja otvaranja:

7.2.1.8.1.   Ispitivanje pod opterećenjem

7.2.1.8.1.1.   Za ovo se ispitivanje mora se koristiti sustav za držanje djeteta na kojemu je obavljeno dinamičko ispitivanje iz stavka 8.1.3. navedeno dolje u tekstu.

7.2.1.8.1.2.   Sila potrebna za otvaranje kopče pri ispitivanju propisanom stavkom 8.2.1.1. ne smije prelaziti 80 N.

7.2.1.8.2.   Ispitivanje bez opterećenja

7.2.1.8.2.1.   Za ovo se ispitivanje koristi kopča koja prije toga nije bila izložena opterećenju. Sila potrebna za otvaranje neopterećene kopče iznosi od 40 do 60 N pri ispitivanjima propisanima stavkom 8.2.1.2..

7.2.1.9.   Čvrstoća

7.2.1.9.1.   Tijekom ispitivanja u skladu sa stavkom 8.2.1.3.2. ne smije se slomiti niti odvojiti ni jedan dio kopče, remena na kopči ni uređaja za namještanje.

7.2.1.9.2.   Kopča H-pojasa masenih skupina 0 i 0 + mora izdržati silu od 4 000 N.

7.2.1.9.3.   Kopča H-pojasa masene skupine I i više mora izdržati silu od 10 000 N.

7.2.1.9.4.   Nadležno tijelo može izostaviti ispitivanje čvrstoće ako iz raspoloživih podataka proizlazi da je ispitivanje suvišno.

7.2.2.   Naprava za namještanje

7.2.2.1.   Raspon podešavanja mora biti dovoljan da omogući pravilno namještanje sustava za držanje djeteta za cijelu masenu skupinu za koju je sustav namijenjen i da omogući zadovoljavajuću ugradbu u sve specificirane tipove vozila.

7.2.2.2.   Svi naprave za namještanje moraju biti tipa „za brzo namještanje”, osim naprava za namještanje koje se upotrebljavaju kod prve ugradbe sustava za držanje u vozilo, koje mogu biti drugog tipa.

7.2.2.3.   Naprave tipa „za brzo namještanje” trebaju biti lako dohvatljive ako je sustav za držanje djeteta pravilno postavljen, a dijete ili lutka su na mjestu.

7.2.2.4.   Naprava tipa „za brzo namještanje” treba se lako namještati prema tjelesnoj građi djeteta. Posebno, pri ispitivanju u skladu sa stavkom 8.2.2.1. sila potrebna za aktiviranje naprave s ručnim namještanjem ne smije prelaziti 50 N.

7.2.2.5.   Ispituju se dva uzorka naprave za namještanje sustava za držanje djeteta sukladno zahtjevima postupka ispitivanja otpornosti na utjecaj temperature iz stavaka 8.2.8.1. i 8.2.3.

7.2.2.5.1.   Klizanje trake pojasa ne smije prelaziti 25 mm za jednu napravu za namještanje, odnosno 40 mm za sve naprave za namještanje.

7.2.2.6.   Tijekom ispitivanja sukladno stavku 8.2.2.1., naprava se ne smije slomiti niti odvojiti.

7.2.2.7.   Naprava za namještanje, ugrađena izravno na sustav za držanje djeteta, mora biti sposobna izdržati ponovljenu radnju, a prije dinamičkog ispitivanja iz stavka 8.1.3. mora biti podvrgnuta ispitivanju s 5 000 ± 5 ciklusa kako je određeno stavkom 8.2.7.

7.2.3.   Uvlačnici

7.2.3.1.   Uvlačnici s automatskih blokiranjem

7.2.3.1.1.   Remen sigurnosnog pojasa koja ima uvlačnik s automatskim blokiranjem, ne smije se odmotati više od 30 mm između položaja blokiranja. Kad se korisnik nagne prema natrag, pojas mora ili ostati u svojem prvobitnom položaju ili se automatski vratiti u taj položaj kad se korisnik pojasa ponovno nagne prema naprijed.

7.2.3.1.2.   Ako je uvlačnik dio trbušnog pojasa, uvlačna sila remena ne smije biti manja od 7 N, izmjerena na slobodnoj dužini između ispitne lutke i uvlačnika, kako je propisano stavkom 8.2.4.1. Ako je uvlačnik dio sustava za držanje prsnog koša, uvlačna sila remena ne smije biti manja od 2 N niti veća od 7 N, pri sličnim mjerenjima. Ako remen prolazi kroz vodilicu ili remenicu, uvlačna se sila mjeri na slobodnoj dužini između lutke i vodilice ili remenice. Ako sigurnosni pojas ima napravu, s ručnim ili automatskim aktiviranjem, koja sprječava da se remen namota do kraja, tada ta naprava pri tim mjerenjima ne smije biti u funkciji.

7.2.3.1.3.   Remen se 5 000 puta izvlači i uvlači u uvlačnik u uvjetima propisanima stavkom 8.2.4.2.. Potom se na uvlačniku obavljaju ispitivanja otpornosti na utjecaj temperature prema zahtjevima iz stavka 8.2.8.1. korozijsko ispitivanje iz stavka 8.1.1., te ispitivanje otpornosti na prašinu opisano u stavku 8.2.4.5. Nakon toga mora uspješno izdržati daljnjih 5 000 ciklusa izvlačenja i uvlačenja. Nakon gornjih ispitivanja uvlačnik treba i dalje ispravno funkcionirati i ispunjavati zahtjeve iz gornjih stavaka 7.2.3.1.1. i 7.2.3.1.2.

7.2.3.2.   Uvlačnici s blokiranjem u slučaju opasnosti

7.2.3.2.1.   Kada se ispituje sukladno stavku 8.2.4.3. uvlačnik s blokiranjem u slučaju opasnosti treba ispunjavati sljedeće zahtjeve:

7.2.3.2.1.1.

mora se blokira kad usporenje vozila dosegne 0,45 g.

7.2.3.2.1.2.

ne smije blokirati pri ubrzanju remena manjem od 0,8 g mjereno u osi izvlačenja.

7.2.3.2.1.3.

ne smije blokirati kad je njegovo osjetilo nagnuto najviše 12° u bilo kojem smjeru od položaja ugradbe kojeg je odredio proizvođač.

7.2.3.2.1.4.

mora blokirati kad je njegovo osjetilo nagnuto najviše 27° u bilo kojem smjeru od položaja ugradbe kojeg je odredio proizvođač.

7.2.3.2.2.   Ako djelovanje uvlačnika ovisi o vanjskom signalu ili izvoru energije, konstrukcijom mora biti osigurano da se uvlačnik automatski blokira u slučaju kvara ili prekida tog signala, odnosno izvora energije.

7.2.3.2.3.   Uvlačnik s blokiranjem u slučaju opasnosti s višekratnom osjetljivošću mora ispunjavati gore navedene zahtjeve. Osim toga, ako je jedan od kriterija osjetljivosti za izvlačenja remena, uvlačnik mora blokirati pri ubrzanju remena od 1,5 g, mjereno u osi izvlačenja remena.

7.2.3.2.4.   U ispitivanjima navedenima u stavcima 7.2.3.2.1.1. i 7.2.3.2.3., pomak izvlačenja remena koje se dešava prije nego što uvlačnik blokira ne smije prelaziti 50 mm, počevši s dužinom odmatanja određenom u stavku 8.2.4.3.1. Pri ispitivanju navedenom u stavku 7.2.3.2.1.2., ne smije doći do blokiranja tijekom odvijanja 50 mm remena, s početnom dužinom odmatanja određenom u stavku 8.2.4.3.1.

7.2.3.2.5.   Ako je uvlačnik dio trbušnog pojasa, uvlačenja remena ne smije biti manja od 7 N izmjerena na slobodnoj dužini između lutke i uvlačnika, kako je propisano stavkom 8.2.4.1. Ako je uvlačnik dio sustava za držanje prsnoga koša, uvlačna sila remena ne smije biti manja od 2 N niti veća od 7 N, pri sličnom mjerenju. Ako remen prolazi kroz vodilicu ili remenicu, uvlačna se sila mjeri na slobodnoj dužini između lutke i vodilice ili remenice. Ako sigurnosni pojas ima napravu, s ručnim ili automatskim aktiviranjem, koja sprječava da se remen namota do kraja, tada ta naprava pri tim mjerenjima ne smije biti u funkciji.

7.2.3.2.6.   Remen se uzastopno 40 000 puta izvlači i uvlači u uvlačnik u uvjetima propisanima stavkom 8.2.4.2.. Potom se na uvlačniku obavljaju ispitivanja otpornosti na utjecaj temperature prema zahtjevima iz stavka 8.2.8.1., korozijsko ispitivanje iz stavka 8.1.1., te ispitivanje otpornosti na prašinu opisano u stavku 8.2.4.5. Nakon toga mora uspješno izdržati daljnjih 5 000 ciklusa izvlačenja i uvlačenja (ukupno 45 000). Nakon gornjih ispitivanja uvlačnik mora i dalje ispravno funkcionirati i ispunjavati zahtjeve iz gornjih stavaka 7.2.3.2.1. i 7.2.3.2.5.

7.2.4.   Remeni

7.2.4.1.   Širina

7.2.4.1.1.   Najmanja širina remena sustava za držanje djeteta koji dodiruju ispitnu lutku mora biti 25 mm kod skupina 0, 0 + i I, odnosno 38 mm kod skupina II. i III. Te mjere treba izmjeriti tijekom ispitivanja prekidne čvrstoće propisane u stavku 8.2.5.1. bez zaustavljanja ispitne naprave i pod opterećenjem koje je iznosi 75 % prekidne čvrstoće remena.

7.2.4.2.   Čvrstoća nakon kondicioniranja na sobnu temperaturu

7.2.4.2.1.   Na dva uzorka remena kondicionirana sukladno stavku 8.2.5.2.1. mora se odrediti prekidno opterećenje remena, kako je to određeno stavkom 8.2.5.1.2.

7.2.4.2.2.   Razlika između prekidnih opterećenja dvaju uzoraka ne smije prelaziti 10 % od veće vrijednosti izmjerenih opterećenja.

7.2.4.3.   Čvrstoća nakon posebnog kondicioniranja

7.2.4.3.1.   Na dva uzorka remena kondicioniranih u skladu s jednom od odredbi stavka 8.2.5.2. (osim stavka 8.2.5.2.1.) prekidno opterećenje remena ne smije biti manje od

7.2.4.3.2.   Osim toga, prekidno opterećenje ne smije biti manje od 3,6 kN za sustave za držanje skupine 0, 0 + i 1,5 kN za sustave skupine II te 7,2 kN za sustave skupine III.

7.2.4.3.3.   Nadležno tijelo može izostaviti jedno ili više tih ispitivanja ako sastav korištenog materijala ili dostupni podaci pokazuju da su takva ispitivanja suvišna.

7.2.4.3.4.   Postupak kondicioniranja abrazijom tipa 1., koji je opisan u stavku 8.2.5.2.6., izvodi se samo kad ispitivanje mikroklizanjem, koje je utvrđeno stavkom 8.2.3., daje rezultat koji prelazi 50 % graničnu vrijednost koja je propisana gornjim stavkom 7.2.2.5.1.

7.2.4.4.   Ne smije biti moguće da se cijeli remen provuče kroz naprave za namještanje, kroz kopče ili sidrene točke.

7.2.5.   Blokirna naprava

7.2.5.1.   Blokirna naprava mora stalno biti pričvršćena na sustavu za držanje djeteta.

Nakon ispitivanja navedenog u točki 8.2.6.2. veće od 25 mm.

7.2.5.2.   Blokirna naprava ne smije utjecati na trajnost sigurnosnog pojasa za odrasle i mora se podvrgnuti ispitivanju otpornosti na utjecaj temperature iz stavka 8.2.8.1.

7.2.5.3.   Blokirna naprava ne smije sprječavati da se dijete brzo oslobodi iz sustava.

7.2.5.4.   Blokirne naprave razreda A

Nakon obavljenog ispitivanja sukladno stavku 8.2.6.1., klizanje remena ne smije biti više od 25 mm.

7.2.5.5.   Blokirne naprave razreda B

Nakon obavljenog ispitivanja sukladno stavku 8.2.6.2. klizanje remena ne smije biti više od 25 mm.

7.2.6.   Značajke dijelova za pričvršćenje ISOFIX

„Dijelovi za pričvršćenje ISOFIX” i indikatori zakopčanosti moraju moći izdržati ponovljeno djelovanje i moraju prije dinamičkih ispitivanja propisanih u stavku 8.1.3. proći ispitivanje koje se sastoji od 2 000 ± 5 ciklusa otvaranja i zatvaranja u uobičajenim uvjetima uporabe.

8.   OPIS ISPITIVANJA (7)

8.1.   Ispitivanja potpunog sustava za držanje

8.1.1.   Korozija

8.1.1.1.   U komoru za ispitivanje stavljaju se metalni dijelovi sustava za držanje djeteta, kako je određeno u Prilogu 4. Kad sustav za držanje djeteta sadrži uvlačnik, remen se mora odmatati cijelom dužinom umanjeno za 100 ± 3 mm. Osim kratkih prekida koji su mogu biti potrebni npr. za provjeru i dopunu slane otopine, ispitivanje traje neprekidno 50 ± 0,5 sati.

8.1.1.2.   Nakon završenog ispitivanja metalni se dijelovi sustava za držanje djeteta pažljivo isperu ili urone u čistu tekuću vodu temperature koje nije viša od 38 °C da se uklone eventualne naslage soli koje su se mogle formirati te se potom suše 24 ± 1 sata na sobnoj temperaturi od 18 do 25 °C prije nego što su pregledani u skladu s gornjim stavkom 7.1.1.2.

8.1.2.   Prevrtanje

8.1.2.1.   Ispitna lutka se postavlja u sustav za držanje pričvršćen u skladu s ovim Pravilnikom i uputama proizvođača i s uobičajenom labavošću kako je utvrđeno stavkom 8.1.3.6.

8.1.2.2.   Sustav za držanje pričvrsti se na ispitno sjedalo ili sjedalo u vozilu. Cjelokupno se sjedalo zaokrene oko vodoravne osi u srednjoj uzdužnoj ravnini sjedala za puni krug (360°) brzinom od 2-5 stupnjeva/sekunda. Za to se ispitivanje naprave namijenjene za korištenje u određenim vozilima mogu postaviti na ispitno sjedalo opisano u Prilogu 6.

8.1.2.3.   To se ispitivanje ponavlja vrtnjom sjedala u suprotnom smjeru nakon što se ispitna lutka, ako je potrebno, ponovno namjesti u njezin prvotni položaj. Postupak se zatim ponavlja u oba smjera vrtnje, pri čemu se os vrtnje u vodoravnoj ravnini zakrene za 90° u odnosu na dva ranija ispitivanja.

8.1.2.4.   Pri tim se ispitivanjima koriste najmanja i najveća ispitna lutka skupine odnosno skupina za koju (koje) je sustav za držanje namijenjena.

8.1.3.   Dinamička ispitivanja

8.1.3.1.   Ispitivanja na ispitnim kolicima i ispitnom sjedalu

8.1.3.1.1.   Sustav za držanje okrenut prema naprijed

8.1.3.1.1.1.   Ispitna kolica i ispitno sjedalo koji se koriste za dinamičko ispitivanje moraju zadovoljavati zahtjeve iz Priloga 6. ovom Pravilniku, a postupak namještanja za dinamičko ispitivanje sudara mora biti u skladu s Prilogom 21.

8.1.3.1.1.2.   Ispitna kolica tijekom usporenja ili ubrzanja moraju zadržati vodoravni položaju.

8.1.3.1.1.3.   Naprave za ispitivanje usporenja ili ubrzanja

Podnositelj zahtjeva može odabrati jednu od sljedećih naprava:

8.1.3.1.1.3.1.   Naprava za ispitivanje usporenja (decelerometar)

Usporenje ispitnih kolica postiže se napravom koja je propisana u Prilogu 6. ovom Pravilniku, ili nekom drugom napravom koja daje istovrijedne rezultate. Ta naprava mora ispunjavati zahtjeve iz stavka 8.1.3.4. ovog Pravilnika.

Postupak umjeravanja:

Krivulja usporenja ispitnih kolica, u slučaju ispitivanja sustava za držanje djeteta provedenih u skladu sa stavkom 8.1.3.1., opterećena inertnom masom do 55 kg kako bi se simulirao sustav za držanje djeteta u kojem je dijete, i u slučaju ispitivanja sustava za držanje djeteta u karoseriji vozila provedenih u skladu sa stavkom 8.1.3.2, kada su ispitna kolica opterećena konstrukcijom vozila i inertnom masom do × puta 55 kg simulirajući broj × sustava za držanje djeteta u kojem sjede djeca, mora ostati, u slučaju čelnog sudara unutar iscrtkanog područja grafa u Prilogu 7., dodatku 1. ovog Priloga, a u slučaju stražnjeg udara, unutar iscrtkanog područja grafa u Prilogu 7., Dodatku 2. ovog Priloga.

Tijekom umjeravanja naprave za zaustavljanje zaustavni razmak mora biti 650 ± 30 mm za čelni sudar, i 275 ± 20 mm za stražnji sudar.

8.1.3.1.1.3.2.   Naprava za ispitivanje ubrzanja (akcelerometar)

Uvjeti za dinamičko ispitivanje:

 

Za čelni sudar ispitna kolica moraju biti tako podignuta da tijekom ispitivanja njihova ukupna promjena brzine ΔV iznosi 52 + 0/– 2 km/h a krivulja njihovog ubrzanja je unutar iscrtkanog područja grafa u Prilogu 7., dodatku 1. i ostaje iznad dijela definiranog koordinatama (5g, 10 ms) i (9g, 20 ms). Početak udarca (T0) definiran je prema normi ISO 17373 za razinu ubrzanja od 0,5 g.

 

Za stražnji sudar ispitna kolica moraju biti tako podignuta da tijekom ispitivanja njihova ukupna promjena brzine ΔV iznosi 32 + 0/– 2 km/h a krivulja njihovog ubrzanja je unutar iscrtkanog područja grafa u Prilogu 7., dodatku 2. i ostaje iznad dijela definiranog koordinatama (5g, 5 ms) i (10g, 10 ms). Početak udarca (T0) definiran je prema normi ISO 17373 za razinu ubrzanja od 0,5 g.

 

Unatoč ispunjavanju gornjih zahtjeva tehnička služba koristi masu ispitnih kolica (opremljenih sjedalom), kako je određeno u stavku 1. Priloga 6., iznad 380 kg.

 

Međutim, ako su gornja ispitivanja provedena pri višoj brzini i/ili krivulja ubrzanja je prešla gornju razinu iscrtkanog područja a sustav za držanje djeteta ispunjava zahtjeve, ispitivanja se smatraju zadovoljenima.

8.1.3.1.1.4.   Obavljaju se sljedeća mjerenja:

8.1.3.1.1.4.1.

brzina kolica neposredno prije udara;

8.1.3.1.1.4.2.

zaustavni put;

8.1.3.1.1.4.3.

pomak glave ispitne lutke u vertikalnoj i vodoravnoj ravnini za skupine I, II i III, a za skupine 0 i 0 + pomak ispitne lutke ne uzimajući u obzir udove.

8.1.3.1.1.4.4.

ubrzanje prsnoga koša u tri međusobno okomita smjera, osim kod lutke novorođenčeta.

8.1.3.1.1.4.5.

svaki vidljivi znak prodora u abdominalnom plastelinskom umetku (vidjeti stavak 7.1.4.3.1.), osim kod ispitne lutke novorođenčeta.

8.1.3.1.1.4.6.

ubrzanje ili usporenje kolica tijekom najmanje prvih 300 ms.

8.1.3.1.1.5.   Nakon udara sustav za držanje djeteta vizualno se pregledava bez otvaranja kopče, kako bi se utvrdilo je li došlo do kvara ili lomova.

8.1.3.1.2.   Sustav za držanje okrenut prema natrag

8.1.3.1.2.1.   Ispitno sjedalo se zaokrene za 180° kada se ispituje u skladu sa zahtjevima za ispitivanje stražnjeg sudara.

8.1.3.1.2.2.   Za ispitivanje sustava za držanje djeteta okrenutog prema natrag namijenjenog za korištenje na prednjim sjedalima, ploču s instrumentima predstavlja kruta šipka koja je pričvršćena na kolica tako da sustav za držanje djeteta apsorbira svu energiju.

8.1.3.1.2.3.   Uvjeti usporenja trebaju odgovarati zahtjevima iz stavka 8.1.3.1.1.3.1.

Uvjeti ubrzanja trebaju odgovarati zahtjevima iz stavka 8.1.3.1.1.3.2.

8.1.3.1.2.4.   Mjerenja koja treba obaviti slična su onima navedenim u gornjim stavcima 8.1.3.1.1.4. i 8.1.3.1.1.4.6.

8.1.3.2.   Ispitivanje na ispitnim kolicima i karoseriji vozila

8.1.3.2.1.   Sustav za držanje okrenut prema naprijed

8.1.3.2.1.1.   Način učvršćenja vozila tijekom ispitivanja ne smije biti izveden tako da pojača sidrišta sjedala vozila, sigurnosnih pojaseva za odrasle i svaka dodatna sidrišta potrebna za pričvršćenje sustava za držanje djeteta, niti da smanji uobičajene deformacije konstrukcije. Na vozilu ne smije biti niti jedan dio koji bi ograničavanjem pomicanja lutke smanjio opterećenje kojem je izložen sustav za držanje djeteta tijekom ispitivanja. Dijelovi konstrukcije vozila koji su bili uklonjeni smiju se zamijenjeni dijelovima jednake čvrstoće, pod uvjetom da oni ne ograničavaju pomicanje lutke.

8.1.3.2.1.2.   Smatra se da naprava za pričvršćivanje zadovoljava ako ne utječe na područje koje se proteže cijelom širinom konstrukcije i ako su vozilo ili karoserija blokirani ili učvršćeni sprijeda na udaljenosti od najmanje 500 mm od sidrišta sustava za držanje. Na stražnjoj strani konstrukcija mora biti pričvršćena na dovoljnoj udaljenosti iza sidrišta kako bi bili ispunjeni svi zahtjevi iz gornjeg stavka 8.1.3.2.1.1.

8.1.3.2.1.3.   Sjedalo vozila i sustav za držanje djeteta ugrađuju se i namještaju u položaj koji, prema mišljenju tehničke službe koja obavlja homologacijska ispitivanja, daje najnepovoljnije uvjete u pogledu čvrstoće, a primjenjiv je za postavljanjem ispitne lutke u vozilo. U izvješću trebaju biti navedeni položaj naslona sjedala i naprave za držanje djeteta. Naslon sjedala vozila, ako je njegov nagib namjestiv, mora se blokirati kako je to odredio proizvođač, ili ako nema uputa, u položaju koji je čim bliži stvarnom kutu od 25°.

8.1.3.2.1.4.   Osim ako u uputama za ugradnju i uporabu nije navedeno drukčije, prednje se sjedalo stavlja u krajnji prednji položaj koji se uobičajeno koristi za sustave za držanje djeteta koji su namijenjeni za uporabu na prednjim sjedalima, odnosno u krajnji stražnji položaj koji se uobičajeno koristi za sustave za držanje djeteta koji su namijenjeni za uporabu na stražnjem sjedalu.

8.1.3.2.1.5.   Uvjeti usporenja trebaju biti u skladu sa zahtjevima iz stavka 8.1.3.4. Kao ispitno p sjedalo koristi se sjedalo stvarnog vozila.

8.1.3.2.1.6.   Obavljaju se sljedeća mjerenja:

8.1.3.2.1.6.1.

brzina ispitnih kolica neposredno prije udara (samo za saonice za usporenje, potrebno za prestanak računanja udaljenosti);

8.1.3.2.1.6.2.

zaustavni put (samo za saonice za usporenje) koji se može izračunati dvostrukim integriranjem zabilježenog usporenja saonica;

8.1.3.2.1.6.3.

bilo koji dodir glave ispitne lutke s unutrašnjošću karoserije vozila;

8.1.3.2.1.6.4.

usporenje prsnoga koša u tri međusobno okomita smjera, osim kod lutke novorođenčeta;

8.1.3.2.1.6.5.

svi vidljive znakovi prodora u abdominalnom plastelinskom umetku (vidjeti stavak 7.1.4.3.1.), izuzev pri lutki novorođenčeta.

8.1.3.2.1.6.6.

ubrzanje ili usporenje kolica i karoserije vozila tijekom najmanje prvih 300 ms.

8.1.3.2.1.7.   Nakon udara sustav za držanje djeteta vizualno se pregledava bez otvaranja kopče kako bi se utvrdilo je li došlo do bilo kakvoga kvara.

8.1.3.2.2.   Sustav za držanje okrenut prema natrag

8.1.3.2.2.1.   Za ispitivanje stražnjeg sudara, karoserija vozila se na kolicima zaokreće za 180°.

8.1.3.2.2.2.   Zahtjevi su isti kao i kod čelnog sudara.

8.1.3.3.   Ispitivanje s cijelim vozilom

8.1.3.3.1.   Uvjeti usporenja trebaju odgovarati zahtjevima iz stavka 8.1.3.4. koji je naveden niže u tekstu.

8.1.3.3.2.   Za ispitivanja frontalnog udara postupak je onaj koji je naveden u Prilogu 9. ovom Pravilniku.

8.1.3.3.3.   Za ispitivanja udara odostraga postupak je onaj koji je naveden u Prilogu 10. ovom Pravilniku.

8.1.3.3.4.   Obavljaju se sljedeća mjerenja:

8.1.3.3.4.1.

brzina vozila/udarne naprave neposredno prije udara;

8.1.3.3.4.2.

bilo koji dodir glave ispitne lutke (kod ispitne lutke skupine 0, ne uzimajući se u obzir udove) s unutrašnjošću vozila;

8.1.3.3.4.3.

ubrzanje prsnoga koša u tri međusobno okomita smjera, osim kod ispitne lutke novorođenčeta.

8.1.3.3.4.4.

svi vidljivi znakovi prodora u abdominalnom plastelinskom umetku (vidjeti stavak 7.1.4.3.1.), osim kod ispitne lutke novorođenčeta.

8.1.3.3.5.   Ako su nasloni prednjih sjedala vozila namjestivi po nagibu, moraju biti blokirani kako je to odredio proizvođač ili, ako nema takvih uputa, u položaju čim bližem stvarnom kutu od 25°.

8.1.3.3.6.   Nakon udara se sustav za držanje djeteta vizualno se pregledava, bez otvaranja kopče, kako bi se utvrdilo je li došlo do kvara ili lomova.

8.1.3.4.   U donjoj tablici zbirno su navedeni uvjeti za dinamičko ispitivanje:

 

 

ČELNI SUDAR

STRAŽNJI SUDAR

Ispitivanje

Sustav za držanje

Brzina

(km/h)

Ispitni impuls

Zaustavni put tijekom ispitivanja

(mm)

Brzina

(km/h)

Ispitni impuls

Zaustavni put tijekom ispitivanja

(mm)

Ispitna kolica s ispitnim sjedalom

Prema naprijed okrenuti, za prednja i stražnja sjedala, univerzalni, poluuniverzalni ili za ograničenu uporabu (8)

50 + 0

– 2

1

650 ± 50

Prema natrag okrenuti, za prednja i stražnja sjedala, univerzalni, poluuniverzalni ili za ograničenu uporabu (9)

50 + 0

– 2

1

650 ± 50

30 + 2

– 0

2

275 ± 25

Karoserija na ispitnim kolicima

Okrenuti prema naprijed (8)

50 + 0

– 2

1 ili 3

650 ± 50

Okrenuti prema natrag (8)

50 + 0

– 2

1 ili 3

650 ± 50

30 + 2

– 0

2 ili 4

275 ± 25

Ispitivanje sa zaprekom cijele karoserije

Okrenuti prema naprijed

50 + 0

– 2

3

Nije određeno

Okrenuti prema natrag

50 + 0

– 2

3

Nije određeno

30 + 2

– 0

4

Nije određeno

Napomena:

Svi sustavi za držanje djeteta skupina 0 i 0 + ispituju se sukladno uvjetima za „sustave okrenute prema natrag” pri čelnom i stražnjem sudaru.

Tumač:

Ispitni impuls br. 1

:

kako je određeno u Prilogu 7. – čelni sudar

Ispitni impuls br. 2

:

kako je određeno u Prilogu 7. – stražnji sudar

Ispitni impuls br. 3

:

tijek usporavanja vozila pri čelnom sudaru

Ispitni impuls br. 4

:

tijek usporavanja vozila pri stražnjem sudaru

8.1.3.5.   Sustavi za držanje djeteta koji uključuju korištenje dodatnih sidrišta

8.1.3.5.1.   Za sustave za držanje djeteta, namijenjene za korištenje sukladno stavku 2.1.2.3. i koji zahtijevaju korištenje dodatnih sidrišta, ispitivanje čelnog sudara mora se obaviti u skladu sa stavkom 8.1.3.4. na sljedeći način:

8.1.3.5.2.

Kod naprava s kratkim gornjim remenima za pričvršćivanje na stražnju policu vozila, gornja sidrišta na ispitnim kolicima propisana su u dodatku 3. Prilogu 6.

8.1.3.5.3.

Kod naprava s dugim gornjim remenima za pričvršćivanje za vozila koja nemaju krute stražnje police i kod kojih su gornji pričvrsni remeni pričvršćeni na pod vozila, sidrišta na ispitnim kolicima moraju biti kako su propisana u dodatku 3. Prilogu 6.

8.1.3.5.4.

Kod naprava namijenjenih za korištenje u obje izvedbe moraju se obaviti ispitivanja određena u stavcima 8.1.3.5.2. i 8.1.3.5.3; kod ispitivanja koje se obavljaju u skladu s gornjim stavkom 8.1.3.5.3. samo se koristi najteža lutka.

8.1.3.5.5.

Kod naprava okrenutih prema natrag, raspored donjih sidrišta na ispitnim kolicima mora odgovarati određenom u dodatku 3. Prilogu 6.

8.1.3.5.6.

Za prenosive dječje ležaljke koje koriste dodatne remene koji su pričvršćeni na dva sigurnosna pojasa za odrasle pri čemu se prijenos opterećenja direktno primjenjuje preko sigurnosnog pojasa za odrasle osobe na donje sidrište sigurnosnog pojasa za odrasle osobe, sidrište na ispitnim kolicima mora biti kako je propisano u Prilogu 6., dodatku 3., stavku 7. (A1, B1). Namještanje na napravi za dinamičko ispitivanje mora biti onakvo kako je opisano u Prilogu 21., napomeni 5. Taj sustav mora raditi ispravno čak i kad su sigurnosni pojasevi za odrasle osobe neprikopčani i smatra se univerzalnim kada je sukladan stavku 6.1.8.

8.1.3.6.   Ispitne lutke

8.1.3.6.1.   Sustavi za držanje djeteta i lutke moraju biti postavljeni tako da su sukladni zahtjevima iz stavka 8.1.3.6.3.

8.1.3.6.2.   Sustavi za držanje djeteta ispituju se upotrebom lutaka, kako je određeno u Prilogu 8. ovom Pravilniku.

8.1.3.6.3.   Postavljanje ispitne lutke

8.1.3.6.3.1.   Ispitna lutka se postavlja s razmakom između stražnje strane lutke i sustava za držanje. Kod prijenosnih dječjih ležaljka ispitna lutka se stavlja u ravni vodoravni položaj, što bliže središnjoj crti prijenosne dječje ležaljke.

8.1.3.6.3.2.   Dječje sjedalo se postavlja na ispitno sjedalo.

Ispitna lutka se postavlja u dječje sjedalo.

Između lutke i naslona sjedala postavlja se okretna ploča ili slična savitljiva naprava debljine 2,5 cm i širine 6 cm, čija je dužina jednaka visini ramena (sjedeći položaj, Prilog 8.), umanjena za visinu središta kuka (sjedeći položaj, Prilog 8., to je visina sjedenja uvećana za pola visine bedra lutke u sjedećem položaju) što odgovara veličini lutke koja se ispituje. Oblik ploče treba što bolje slijediti oblik sjedala, a njezin donji dio treba biti u visini kuka lutke.

Pojas se namješta prema uputama proizvođača, ali na zateznu silu koja je za 250 ± 25 N veća od sile potrebne za namještanje, s kutom trake otklona remena u odnosu na napravu za namještanje od 45 ± 5°, ili s kutom koji odredi proizvođač.

Pričvršćivanje dječjeg sjedala na ispitno sjedalo dovršiti u skladu s Prilogom 21. ovom Pravilniku.

Ukloniti savitljivu elastičnu napravu.

To se primjenjuje samo na H-pojaseve i sustave za držanje kod kojih je dijete držano sa sigurnosnim pojasom za odrasle u tri točke i kod kojih se koristi naprava za blokiranje, a ne primjenjuje se za remene za držanje djeteta koji su izravno povezani na uvlačnik.

8.1.3.6.3.3.   Uzdužna ravnina koja prolazi kroz središnjicu ispitne lutke postavlja se na sredinu između oba donja sidrišta pojasa, međutim treba voditi računa o odredbama iz stavka 8.1.3.2.1.3. Kod pomoćnih dječjih sjedišta koje treba ispitati s lutkom koja predstavlja 10-godišnje dijete, uzdužna ravnina koja prolazi kroz središnjicu ispitne lutke postavlja se na 80 mm lijevo ili desno u odnosu na točku koja se nalazi u sredini između dva donja sidrišta pojasa.

8.1.3.6.3.4.   Kod naprava koje zahtijevaju korištenje normiranog pojasa, rameni se remen prije dinamičkog ispitivanja postavlja na ispitnu lutku pomoću dovoljno duge i široke lake ljepljive trake dužine najviše 250 mm i širine najviše 20 mm. Kod naprava okrenutima prema natrag glava se postavlja na naslon sustava za držanje pomoću dovoljno duge i najviše 20 mm široke ljepljive trake.

8.1.3.7.   Kategorija ispitne lutke koju treba upotrijebiti

8.1.3.7.1.   Sustav za držanje skupine 0: ispitivanje pri kojem se koristi lutka novorođenčeta i lutka od 9 kg;

8.1.3.7.2.   Sustav za držanje skupine 0+: ispitivanje pri kojem se koristi lutka novorođenčeta i lutka od 11 kg;

8.1.3.7.3.   Sustav za držanje skupine I: ispitivanje pri kojem se koristi lutka od 9 kg odnosno 15 kg;

8.1.3.7.4.   Sustav za držanje skupine II: ispitivanje pri kojem se koristi lutka od 15 kg odnosno 22 kg;

8.1.3.7.5.   Sustav za držanje skupine III: ispitivanje pri kojem se koristi lutka od 22 kg odnosno 32 kg;

8.1.3.7.6.   Ako je sustav za držanje djeteta odgovarajući za dvije ili više masenih skupina, pri ispitivanjima se koriste najlakša i najteža gore određena ispitna lutka za sve pripadajuće masene skupine. Međutim, ako se sustavi pojedinih skupina međusobno znatno razlikuju, primjerice ako je promijenjen raspored ili dužina H-pojasa, laboratorij koji provodi ispitivanja može obaviti dodatno ispitivanje s lutkom mase između tih dviju krajnjih masa, ako smatra da je to potrebno.

8.1.3.7.7.   Ako je sustav za držanje djeteta konstruiran za dvoje ili više djece, jedno se ispitivanje obavlja s najtežim lutkama na svim sjedećim mjestima. Drugo se ispitivanje obavlja s najlakšom i najtežom ispitnom lutkom kako je gore određeno. Ispitivanja se obavljaju na ispitnom sjedalu kako je prikazano na slici 3. u dodatku 3. Prilogu 6. Laboratorij, koji provodi ispitivanja može, ako smatra da je uputno, obaviti treće ispitivanje s bilo kojom kombinacijom lutaka ili s praznim sjedećim mjestima.

8.1.3.7.8.   Ako sustav za držanje djeteta skupina 0 ili 0 + ima mogućnost različitih načina postavljanja ovisno o masi djeteta, svaki način postavljanja treba biti ispitan s obje ispitne lutke pripadajuće masene skupine.

8.1.3.7.9.   Ako sustav za držanje djeteta mora koristiti gornju sigurnosnu uzicu, treba provesti jedno ispitivanje s najmanjom lutkom s najmanjom udaljenosti gornje sigurnosne uzice (sidrišna točka G1). Drugo ispitivanje se provodi s težom lutkom s duljom udaljenosti gornje sigurnosne uzice (sidrišna točka G2). Namjestiti gornju sigurnosnu uzicu da postigne sila zatezanja 50 ± 5 N.

8.1.3.7.10.   Ispitivanje navedeno u točki 7.1.4.1.10.1.2, potrebno je izvesti samo s najvećom ispitnom lutkom za koju je sustav za držanje djeteta konstruiran.

8.1.4.   Sustav za držanje pomoćnog dječjeg sjedišta

Pamučnu tkaninu postaviti na površinu sjedišta naprave za ispitivanje. Pomoćno dječje sjedište se postavlja na napravu za ispitivanje, na površinu sjedišta postavlja se model donjeg dijela trupa, kako je prikazano na slici 1. Priloga 22. i preko njega se postavi i pričvrsti sigurnosni pojas za odrasle u tri točke kako je određeno u Prilogu 21. Oko pomoćnog dječjeg sjedišta omota se 25 mm širok komad remena ili slične vrpce i na njega se djeluje silom od 250 ± 5 N u smjeru strelice A, vidjeti sliku 2. Priloga 22., usporedno sa površinom sjedišta naprave za ispitivanje-ispitne klupe.

8.2.   Ispitivanje pojedinačnih dijelova

8.2.1.   Kopča

8.2.1.1.   Ispitivanje otvaranja pod opterećenjem

8.2.1.1.1.   Za ovo se ispitivanje koristi sustav za držanje djeteta na kojemu je već obavljeno dinamičko ispitivanje, kako je određeno stavkom 8.1.3.

8.2.1.1.2.   Sustav za držanje djeteta skida se s ispitnih kolica ili vozila bez otvaranja kopče. Na kopču se primjenjuje sila iznosa 200 ± 2 N. Ako je kopča pričvršćena na kruti dio, sila se mora primijeniti pod kutom koji čine kopča i kruti dio tijekom dinamičkog ispitivanja.

8.2.1.1.3.   Na geometrijsko središte gumba za otvaranje kopče uzduž nepokretne osi koja se proteže usporedno s početnim smjerom pomicanja gumba, primjenjuje se sila brzinom 400 ± 20 mm/min; geometrijsko središte je onaj dio površine kopče na koji djeluje sila otvaranja. Kopča mora biti pričvršćena na kruti oslonac tijekom djelovanja sile otvaranja,

8.2.1.1.4.   Silom kojom se otvara kopča djeluje se preko dinamometra ili nekoga drugog uređaja na način i u smjeru koji je uobičajen za otvaranje kopče. Dodirna točka ispitne opreme mora biti kuglastog oblika polumjera 2,5 ± 0,1 mm i treba imati poliranu metalnu površinu.

8.2.1.1.5.   Mjeri se sila otvaranja kopče i bilježi se svaka neispravnost.

8.2.1.2.   Ispitivanje otkapčanja bez opterećenja

8.2.1.2.1.   Sklop kopče koji prethodno nije bio podvrgnut opterećenju mora se ugraditi i postaviti tako da nije opterećen.

8.2.1.2.2.   Postupak mjerenja sile otvaranja kopče je takav kako je to određeno u stavcima 8.2.1.1.3. i 8.2.1.1.4.

8.2.1.2.3.   Izmjeri se sila otvaranja kopče.

8.2.1.3.   Ispitivanje čvrstoće

8.2.1.3.1.   Za ispitivanje čvrstoće moraju se koristiti dva uzorka. U ispitivanje čvrstoće potrebno je uključiti sve naprave za namještanje, osim naprava za namještanje koje su izravno pričvršćene na sustav za držanje djeteta.

8.2.1.3.2.   U Prilogu 20. prikazana je tipična naprava za ispitivanje čvrstoće kopče. Kopča se stavlja na gornju okruglu ploču (A). Svi remeni pričvršćeni na kopču duljine su najmanje 250 mm i podešeni su tako da vise s gornje ploče ovisno o njihovom položaju na kopči. Potom se slobodni krajevi remena obmotaju oko donje okrugle ploče (B), dok se ne provuku kroz unutarnji otvor ploče. Svi remeni između ploča A i B moraju biti vertikalni. Potom se okrugla stezna ploča C lagano osloni na donju površinu ploče (B) tako da je još uvijek moguće pomicanje remena između ploča. S malom silom na steznoj napravi remeni se napinju i vuku između ploča B i C, sve dok svi remeni ne budu opterećeni ovisno o njihovom rasporedu. Tijekom tog postupka i samog ispitivanja kopča ne smije doći u dodir s pločom (A) niti s jednim dijelom te ploče. Potom se ploče B i C međusobno čvrsto stegnu, a vlačna sila se pri brzini pomaka od 100 ± 20 mm/min povećava tako dugo dok se ne postignu propisane vrijednosti.

8.2.2.   Naprava za namještanje

8.2.2.1.   Lakoća namještanja

8.2.2.1.1.   Pri ispitivanju ručno namjestive naprave, remen se ravnomjerno povlači kroz napravu za namještanje, vodeći računa o uvjetima uobičajene uporabe, brzinom 100 ± 20 mm/min, a najveća izmjerena sila N nakon prvih 25 ± 5 mm pomaka remena zaokružuje se na najbližu cijelu vrijednost.

8.2.2.1.2.   Ispitivanje se provodi u oba smjera prolaska remena kroz napravu, a remen se prije mjerenja 10 puta provlači u punoj dužini kroz napravu

8.2.3.   Ispitivanje mikroklizanja (vidjeti sliku 3. Priloga 5.)

8.2.3.1.   Dijelovi ili naprave na kojima se obavlja ispitivanje mikroklizanja moraju se držati najmanje 24 sata prije ispitivanja u atmosferi koja ima temperaturu od 20 ± 5° i relativnu vlagu od 65 ± 5 %. Ispitivanje se obavlja na temperaturi između 15 i 30 °C.

8.2.3.2.   Slobodni kraj remena mora se nalazi u jednakom položaju kao kad se naprava upotrebljava u vozilu i nije pričvršćen niti na jedan drugi dio.

8.2.3.3.   Naprava za namještanje se postavlja na vertikalni dio remena čiji jedan kraj treba opteretiti silom od 50 ± 0,5 N (pritom silu treba usmjeriti tako da se spriječi promjena opterećenja i izvijanje remena). Slobodan kraj trake na napravi za namještanje mora biti usmjeren je vertikalno prema gore ili prema dolje, kao što je uobičajeno u vozilu. Drugi kraj mora prolaziti preko vodećeg valjka, čija je vodoravna os prolazi usporedno s ravninom opterećenog dijela remena, pri čemu je dio koji prolazi preko valjka vodoravan.

8.2.3.4.   Naprava koja se ispituje postavlja se tako da se njezino središte, u najvišem položaju do kojeg se može podići, nalazi 300 ± 5 mm iznad ispitne klupe, a opterećenje od 50 N 100 ± 5 mm iznad te klupe.

8.2.3.5.   Zatim se obavlja prije ispitivanja 20 ± 2 ciklusa i nakon toga 1 000 ± 5 ciklusa s frekvencijom od 30 ± 10 ciklusa u minuti s ukupnom amplitudom od 300 ± 20 mm ili kako je određeno stavkom 8.2.5.2.6.2. Opterećenje od 50 N se koristi samo u vremenu koje odgovara pomaku od 100 ± 20 mm za svaku polovinu ciklusa. Mikroklizanje se mjeri s od početnog položaja u trenutku završetka 20 ciklusa prije ispitivanja.

8.2.4.   Uvlačnik

8.2.4.1.   Sila uvlačenja

8.2.4.1.1.   Sile uvlačenja se mjere na sklopu sigurnosnog pojasa koji je postavljen na ispitnoj lutki kao za dinamičko ispitivanje prema propisanog u stavku 8.1.3. Napetost remena se mjeri u dodirnoj točci s lutkom (ali bez dodira s njom) dok se remen uvlači brzinom od približno 0,6 m/min.

8.2.4.2.   Trajnost mehanizma uvlačnika

8.2.4.2.1.   Remen treba izvući i pustiti ga da se uvuče zahtijevani broj ciklusa, brzinom od najviše 30 ciklusa u minuti. Kod uvlačnika koji blokiraju u slučaju opasnosti, u svakom se petom ciklusu treba izvesti nagli trzaj tako da se uvlačnik blokira. Jednaki broj trzaja se obavlja pri svakom od pet različitih duljina izvlačenja koja predstavljaju 90, 80, 75, 70 i 65 % ukupne dužine remena u uvlačniku. Međutim, ako je dužina remena veća od 900 mm gornji se postoci odnose na zadnjih 900 mm remena koja se može izvući iz uvlačnika.

8.2.4.3.   Blokiranje mehanizma za blokiranje uvlačnika u slučaju opasnosti

8.2.4.3.1.   Blokiranje uvlačnika se ispituje kad na kalemu ostane namotano 300 ± 3 mm remena.

8.2.4.3.2.   Kod uvlačnika koji se blokira pomicanjem remena, remen se izvlači u smjeru u kojemu se to uobičajeno događa kada je uvlačnik ugrađen u vozilo.

8.2.4.3.3.   Osjetljivost uvlačnika na ubrzanje vozila ispituje se na gore navedenoj izvučenoj duljini i to u oba smjeru duž dvaju međusobno okomitih osi koje su vodoravne ako se uvlačnici trebaju ugraditi u vozilo prema uputama proizvođača sustava za držanje djeteta. Ako to mjesto nije određeno, organizacija koja provodi ispitivanje dužna je savjetovati se s proizvođačem sustava za držanje djeteta. Tehnička služba koja obavlja homologacijska ispitivanja izabire jedan od tih smjerova ispitivanja kako bi se postigli najnepovoljniji uvjeti s obzirom na aktiviranje mehanizma blokiranja.

8.2.4.3.4.   Konstrukcija korištenog uređaja treba biti takva da je zahtijevano ubrzanje postiže uz srednji porast ubrzanja od najmanje 25 g/s (10).

8.2.4.3.5.   Pri ispitivanju sukladnosti sa zahtjevima iz stavaka 7.2.3.2.1.3. i 7.2.3.2.1.4. uvlačnik sa mora ugraditi na vodoravni ploču koja se naginje brzinom od najviše 2° u sekundi sve dok ne dođe do blokiranja. To se ispitivanje ponavlja s nagibom u drugim smjerovima kako bi se osiguralo da su zahtjevi ispunjeni.

8.2.4.4.   Ispitivanje na koroziju

8.2.4.4.1.   Ispitivanje na koroziju je opisano u prije navedenom stavku 8.1.1.

8.2.4.5.   Ispitivanje otpornosti na prašinu

8.2.4.5.1.   Uvlačnik se stavlja u ispitnu komoru, kako je opisano u Prilogu 3. ovom Pravilniku. Mora se ugraditi u smjeru koji je sličan onom u vozilu. Ispitna komora treba sadržavati prašinu kako je to određeno stavkom 8.2.4.5.2. Remen dužine 500 mm se izvuče iz uvlačnika tako da ostane izvučen, osim što se u jednoj ili dvije minute nakon svakog miješanja prašine obavi 10 potpunih ciklusa izvlačenja i uvlačenja. U vremenu od pet sati, prašina se mora promiješati svakih 20 minuta u trajanju pet sekundi pomoću stlačenog zraka bez ulja i vlage, pod tlakom od 5,5 ± 0,5 bara kroz otvor od 1,5 ± 0,1 mm.

8.2.4.5.2.   Prašina korištena u ispitivanju opisanom u stavku 8.2.4.5.1. treba sadržavati približno 1 kg suhog kremena. Raspored veličine čestica je sljedeći:

(a)

koje prolaze kroz otvor veličine 150 μm, promjer žice 104 μm, propušta 99 do 100 posto;

(b)

koje prolaze kroz otvor veličine 105 μm, promjer žice 64 μm, propušta 76 do 86 posto;

(c)

koje prolaze kroz otvor veličine 75 μm, promjer žice 52 μm, propušta 60 do 70 posto.

8.2.5.   Statičko ispitivanje remena

8.2.5.1.   Ispitivanje čvrstoće remena

8.2.5.1.1.   Svako se ispitivanje obavlja na dva nova uzorka remena koji su kondicionirani kako je određeno stavkom 7.2.4.

8.2.5.1.2.   Svaki se remen uhvati čeljustima uređaja za ispitivanje zatezne čvrstoće. Stezne čeljusti trebaju biti konstruirane tako da se spriječi trganje remena u čeljustima ili u njihovoj blizini. Brzina pomaka treba biti 100 ± 20 mm/min. Slobodna dužina uzorka između čeljusti uređaja na početku ispitivanja treba biti 200 mm ± 40 mm.

8.2.5.1.3.   Opterećenje se povećava sve dok se remen ne prekine i bilježi se prekidno opterećenje.

8.2.5.1.4.   Ako remen proklizne ili se prekine na mjestu dodira s jednom od čeljusti ili na udaljenosti do 10 mm od čeljusti, ispitivanje je nevažeće i mora se obaviti se novo ispitivanje na drugomu uzorku.

8.2.5.2.   Uzorci koji se uzimaju iz remena sukladno stavku 3.2.3., moraju se kondicionirati kako slijedi:

8.2.5.2.1.   Kondicioniranje pri sobnoj temperaturi

8.2.5.2.1.1.   Remen treba držati 24 ± 1 sat na temperaturi okoline od 23 ± 5° i relativne vlažnosti od 50 ± 10 %. Ako se ispitivanje ne obavi odmah nakon kondicioniranja, uzorak se stavlja u nepropusno zatvorenu posudu do početka ispitivanja. Prijelomno se opterećenje određuje u roku od pet minuta nakon vađenja remena iz okoline za kondicioniranje, odnosno iz posude.

8.2.5.2.2.   Kondicioniranje svjetlom

8.2.5.2.2.1.   Primjenjuju se odredbe Preporuke ISO/105-B02 (1978). Remen se izlaže djelovanju svjetlosti sve dok etalon plave boje br. 7. ne izblijedi do kontrasta koji odgovara stupnju 4 na ljestvici sive boje.

8.2.5.2.2.2.   Nakon kondicioniranja, remen treba ostati najmanje 24 sata na temperaturi okoline od 23° ± 5 °C i relativne vlažnosti od 50 ± 10 %. Prekidno se opterećenje određuje u roku od pet minuta nakon vađenja remena iz uređaja za kondicioniranje.

8.2.5.2.3.   Kondicioniranje pri niskim temperaturama

8.2.5.2.3.1.   Remen se mora držati najmanje 24 sata u okolini temperature od 23° ± 5 °C i relativne vlažnosti od 50 ± 10 %.

8.2.5.2.3.2.   Remen se potom mora držati 90 ± 5 minuta na ravnoj podlozi u rashladnoj komori u kojoj je temperatura zraka – 30 ± 5 °C. Potom se remen mora presaviti i pregib opteretiti s utegom od 2 ± 0,2 kg koji je prethodno ohlađen na – 30 ± 5 °C. Nakon što je tako opterećen remenu držan 30 ± 5 minuta u istoj rashladnoj komori, uteg se mora ukloniti i izmjeriti prekidno opterećenje u roku od pet minuta nakon što se remena izvadi iz rashladne komore.

8.2.5.2.4.   Kondicioniranje pri visokim temperaturama

8.2.5.2.4.1.   Remen se mora držati 180 ± 10 minuta u toplinskoj komori s temperaturom od 60 ± 5 °C i relativnom vlagom od 60 ± 5 posto.

8.2.5.2.4.2.   Mjerenje prekidnog opterećenja treba obaviti u roku od pet minuta nakon što se remen izvadi iz toplinske komore.

8.2.5.2.5.   Izlaganje vodi

8.2.5.2.5.1.   Remen se mora držati 180 ± 10 minuta u cijelosti uronjen u destiliranu vodu temperature od 20 ± 5 °C, kojoj je dodano malo sredstva za namakanje. Može se koristiti bilo koje sredstvo za namakanje prikladno za vlakna remena koje se ispituje.

8.2.5.2.5.2.   prekidno se opterećenje mora odrediti u roku od 10 minuta nakon što se remen izvadi iz vode.

8.2.5.2.6.   Kondicioniranje abrazijom

8.2.5.2.6.1.   Dijelovi ili naprave koji se trebaju izložiti ispitivanju abrazijom moraju se držati najmanje 24 sata prije ispitivanja u atmosferi temperature od 23 ± 5 °C i relativne vlažnosti od 50 ± 5 %. Tijekom ispitivanja sobna temperatura mora biti između 15° i 30 °C.

8.2.5.2.6.2.   Donja tablica navodi opće uvjete za svako ispitivanje:

 

Opterećenje (N)

Broj ciklusa u minuti

Broj ciklusa

Postupak tipa 1

10 ± 0,1

30 ± 10

1 000 ± 5

Postupak tipa 2

5 ± 0,05

30 ± 10

5 000 ± 5

Ako dužina remen nije dovoljna za obavljanje ispitivanja s pomakom od 300 mm, ispitivanje se može obaviti s manjom dužinom ne kraćom od 100 mm.

8.2.5.2.6.3.   Posebni uvjeti ispitivanja

8.2.5.2.6.3.1.   Postupak tipa 1: u slučajevima kad remen kliže kroz brzo namjestivu napravu. Jedan od remena treba trajno opteretiti vertikalnom silom od 10 N. Drugi remen, koji je postavljen vodoravno, mora se pričvrstiti na napravu koja izvodi gibanje remena naprijed-natrag. Naprava za namještanje se postavlja tako da vodoravni dio remena tkanine ostane zategnut (vidjeti Prilog 5. sliku 1.).

8.2.5.2.6.3.2.   Postupak tipa 2: za slučajeve kad remen mijenja smjer pri prolazu kroz kruti dio. Tijekom tog ispitivanja, kutovi oba dijela remena tvore kut koji odgovara kutu prikazanom na slici 2. Priloga 5. Na remen mora trajno djelovati sila od 5 N. U slučajevima kad remen prolazeći kroz kruti dio više puta promijeni smjer, sila od 5 N se može povećavati dok se ne postigne propisani pomak remena od 300 mm kroz taj kruti dio.

8.2.6.   Blokirne naprave

8.2.6.1.   Naprave razreda A

Sustav za držanje djeteta i najveća lutka za koju je namijenjen sustav za držanje namještaju se kako je to prikazano na slici 5. Korišteni remeni moraju zadovoljavati zahtjeve iz Priloga 13. ovom Pravilniku. Blokirna naprava mora biti u punoj primjeni, a na sigurnosnom pojasu na mjestu gdje remen ulazi u blokirnu napravu postavlja se oznaka. Uređaji za mjerenje sile pričvršćuju se na sigurnosni pojas pomoću D prstena, i najmanje jednu sekundu mora djelovati sila koja je jednaka dvostrukoj (± 5 %) masi najteže ispitne lutke skupine I. Donji se položaj koristi za naprave za blokiranje u položaju A, a gornji položaj za blokirne naprave u položaju B. Ta se sila primjenjuje još devet puta. Potom se na sigurnosnom pojasu načini još jedna oznaka na mjestu ulaza u i izmjeri udaljenost između obiju oznaka. Tijekom tog ispitivanja uvlačnik mora biti neblokiran.

Slika 5.

Image

8.2.6.2.   Naprave razreda B

Sustav za držanje djeteta se dobro učvrsti, a sigurnosni se pojas, kako je određeno u Prilogu 13. ovom Pravilniku, provuče kroz blokirnu napravu i okvir, kako je to opisano u uputama proizvođača. Pojas mora prolaziti kroz opremu za ispitivanje kako je prikazano dolje na slici 6. i opteretiti se utegom od 5,25 ± 0,05 kg. Slobodna dužina pojasa izmjerena između utega i točke u kojoj pojas izlazi iz okvira treba biti 650 ± 40 mm. Blokirna naprava se mora u potpunosti upotrijebiti, a pojas se označava na mjestu ulaza u blokirnu napravu. Uteg se podigne i pusti tako da slobodno padne s visine od 25 ± 1 mm. Postupak se ponavlja 100 ± 2 puta s učestalošću od 60 ± 2 ciklusa u minuti radi simuliranja ponašanja sustava za držanje djeteta pri trzaju u vozilu. Potom se ponovno označi ulazna točka sigurnosnog pojasa u blokirnu napravu i izmjeri se razdaljina između tih dviju oznaka.

Blokirna naprava mora prekrivati cijelu širinu remena u ugrađenom položaju s postavljenom ispitnom lutkom od 15 kg. To se ispitivanje obavlja korištenjem jednakih kutova između remena kao što su oni pri uobičajenoj uporabi. Slobodni kraj trbušnog dijela sigurnosnog pojasa mora biti pričvršćen. Ispitivanje se obavlja tako da se sustav za držanje djeteta dobro pričvrsti na napravu za ispitivanje koja se koristi pri ispitivanju prevrtanja, odnosno dinamičkom ispitivanju. Opterećeni se remen može pričvrstiti na simuliranu kopču.

Slika 6.

Shematski prikaz ispitivanja blokirne naprave razreda B

Image

8.2.7.   Ispitivanje kondicioniranjem naprava za namještanje postavljenih izravno na sustav za držanje djeteta

Postaviti najveću lutku za koju je namijenjen sustav za držanje djeteta slično kao za dinamičko ispitivanje s uobičajenom labavošću remena, kako je određeno u stavku 8.1.3.6. Na pojasu se označi referentna crta na mjestu gdje slobodni kraj remena ulazi u napravu za namještanje.

Potom se ispitna lutka ukloni i stavlja se sustav za držanje postavi u okvir za kondicioniranje koji je prikazan na slici 1. Priloga 19.

Remen se mora provlačiti najmanje u dužini od 150 mm kroz napravu za namještanje. To je pomicanje mora biti takvo da kroz napravu za namještanje prolazi najmanje 100 mm remena od referentne crte prema slobodnome kraju remena i ostatak pomaka (približno 50 mm) od referentne crte na integralnoj strani pojasa.

Ako dužina remena od referentne crte u smjeru slobodnoga kraja remena nije dovoljna za gore opisano pomicanje, za pomicanje 150 mm remena kroz napravu za namještanje potrebno je remene H pojasa postaviti u krajnje izvučeni položaj.

Ciklus se ponavlja s učestalošću od 10 ± 1 ciklus/minuta, s brzinom u smjeru „B” od 150 ± 10 mm/s.

8.2.8.   Ispitivanje otpornosti na utjecaj temperature

8.2.8.1.   Sastavni dijelovi određeni stavkom 7.1.5.1. izlažu se najmanje 24 sata okolnoj temperaturi od najmanje 80 °C iznad površine vode u zatvorenom prostoru, potom se hlade u okruženju temperature od najviše 23 °C. Iza hlađenja odmah slijede tri uzastopna 24-satna ciklusa, od kojih svaki sadrži sljedeće uzastopne faze:

a)

u roku od 80 minuta od početka ciklusa mora se postići temperatura okruženja od najmanje 100 °C i stalno je održavati 6 sati; potom

b)

u roku od 90 minuta mora se postići temperatura okruženja od najviše 0 °C i stalno je održavati 6 sati; potom

c)

tijekom ostatka 24-satnog ciklusa mora se održavati temperatura okruženja od najviše 23 °C.

8.3.   Certifikacija sjedišta ispitne klupe

8.3.1.   Svako novo sjedište ispitnog sjedala mora se certificirati radi određivanja početnih vrijednosti dubine uleknuća kod sudara i najvećeg usporenja, i kasnije svaki put nakon 50 dinamičkih ispitivanja ili najmanje jedanput mjesečno, već prema tome što je prije, odnosno prije svakog ispitivanja ako se ispitni okvir često rabi.

8.3.2.   Postupci certificiranja i mjerenja trebaju odgovarati postupcima koji su određeni u najnovijoj verziji norme ISO 6487; mjerna oprema mora odgovarati značajkama podatkovnoga kanala s filtrom kanala razreda (CFC) 60.

Korištenjem naprave za ispitivanje koja je određena Prilogom 17. ovom Pravilniku, obavljaju se tri ispitivanja, na središnjoj osi na udaljenosti od 150 ± 5 mm od prednjeg ruba sjedišta te na udaljenosti od 150 ± 5 mm u svakom smjeru od središnje osi.

Naprava se postavlja vertikalno na ravnu krutu površinu. Udarna masa se spušta sve dok ne dotakne površinu, a naprava za označivanje dubine uleknuća se postavlja u nulti položaj. Naprava se postavi vertikalno iznad ispitne točke, masa se podigne 500 ± 5 mm i pusti da slobodnim padom udari na površinu sjedišta. Bilježi se dubina uleknuća i krivulja usporenja.

8.3.3.   Najviše zabilježene vrijednosti ne smiju odstupati za više od 15 postotaka od početnih vrijednosti.

8.4.   Bilježenje dinamičkog ponašanja

8.4.1.   Za utvrđivanje ponašanja ispitne lutke i njezinih pomaka, sva se dinamička ispitivanja bilježe u skladu sa sljedećim uvjetima:

8.4.1.1.

uvjeti snimanja filmskom i video kamerom:

(a)

učestalost je najmanje 500 snimka u sekundi,

(b)

ispitivanje se zapisuje na filmskoj traci, nosaču video zapisa ili nosaču digitalnih podataka;

8.4.1.2.

ocjena moguće pogreške:

 

Ispitni laboratoriji moraju imati i primjenjivati postupke za ocjenjivanje moguće pogreške u mjerenju pomicanja glave ispitne lutke. Moguća pogreška mora biti u okviru ± 25 mm.

 

Primjeri međunarodnih normi za takav postupak su EA-4/02 Europske organizacije za akreditacije ili ISO 5725:1994 ili metoda opće mjeriteljske moguće pogreške (GUM).

8.5.   Električna mjerenja

Postupci mjerenja trebaju odgovarati postupcima koji su određeni u najnovijem izdanju norme ISO 6487. Razredi kanalnih frekvencija su:

Vrsta mjerenja

CFC(F H)

Frekvencija

(F N)

Ubrzanje ispitnih kolica

60

vidjeti ISO 6487:2002 Prilog A

Opterećenja pojaseva

60

vidjeti ISO 6487:2002 Prilog A

Ubrzanje prsnoga koša

180

Ubrzanje (modela) glave

vidjeti ISO 6487:2002 Prilog A

1 000

1 650

Frekvencija snimanja treba biti barem 10 puta FH (npr. kod uređaja s filtrima za prethodno uzorkovanje razreda 1 000, što odgovara najmanjoj frekvenciji uzorkovanja od približno 8 000 uzoraka u sekundi po kanalu.)

9.   IZVJEŠĆE O HOMOLOGACIJSKOM ISPITIVANJU I ISPITIVANJU SUKLADNOSTI PROIZVODNJE

9.1.   U izvješću o ispitivanju potrebno je zabilježiti rezultate svih ispitivanja i mjerenja uključujući sljedeće ispitne podatke:

(a)

vrsta naprave korištene za ispitivanje (naprava za mjerenje ubrzanja ili usporenja);

(b)

ukupna promjena brzine;

(c)

brzina ispitnih kolica neposredno prije udara samo za saonice za usporenje;

(d)

krivulja ubrzanja ili usporenja tijekom svake promjene brzine ispitnih kolica i najmanje 300 ms;

(e)

vrijeme (u ms) kada glava ispitne lutke dosegne najveći pomak tijekom provođenja dinamičkog ispitivanja;

(f)

položaj kopče tijekom ispitivanja, ako se može mijenjati; i

(g)

sve kvarove i lomove.

9.2.   Ako odredbe o sidrištima iz dodatka 3. Prilogu 6. ovom Pravilniku nisu uzete u obzir, u izvješću o ispitivanju je potrebno opisati način postavljanja sustava za držanje djeteta i navesti najvažnije kutove i mjere.

9.3.   Kada se sustav za držanje djeteta ispituje u vozilu ili na konstrukciji vozila, u izvješću o ispitivanju je potrebno navesti način pričvršćivanja konstrukcije vozila na ispitna kolica, položaj sustava za držanje djeteta i sjedala vozila te nagib naslona sjedala vozila.

9.4.   U ispitnim izvješćima o homologaciji tipa i sukladnosti proizvodnje navode se provjerene oznake, upute za postavljanje i uporabu.

10.   PREINAKE I PROŠIRENJE HOMOLOGACIJE TIPA SUSTAVA ZA DRŽANJE DJETETA

10.1.   O svakoj preinaci sustava za držanje djeteta treba obavijestiti nadležno tijelo koje je homologiralo sustav za držanje djeteta. Nadležno tijelo tada može:

10.1.1.

smatrati da učinjene preinake neće bitno štetiti i da sustav za držanje djeteta još uvijek ispunjava zahtjeve; ili

10.1.2.

zahtijevati od tehničke službe nadležne za provođenje ispitivanja, dodatno izvješće o ispitivanju.

10.2.   Potvrđivanje ili odbijanje homologacije s navedenim preinakama dostavlja se strankama iz Sporazuma koje primjenjuju ovaj Pravilnik postupkom koji je određen u gornjem stavku 5.3.

10.3.   Nadležno tijelo koje izdaje proširenje homologacije dodjeljuje serijski broj za to produljenje i o tom obavješćuje druge stranke Sporazuma iz 1958. koje primjenjuju ovaj Pravilnik putem obrasca s izjavom koji je sukladan predlošku iz Priloga 1. ovom Pravilniku.

11.   UTVRĐIVANJE SUKLADNOSTI PROIZVODNJE

11.1.   Radi osiguranja da proizvodni sustav proizvođača zadovoljava zahtjeve, tehnička služba koja provodi homologacijska ispitivanja mora provesti ispitivanja za utvrđivanje da je odgovarajuća proizvodnja u skladu sa stavkom 11.2.

11.2.   Utvrđivanje sukladnosti proizvodnje sustava za držanje djeteta

Prilikom proizvodnje svakog novog homologiranog sustava za držanje djeteta kategorije univerzalni, poluuniverzalni i za ograničenu uporabu moraju se provesti ispitivanja sukladnosti proizvodnje.

U tu svrhu se iz prve proizvodne serije nasumično odabire uzorak od 5 sustava za držanje djeteta.

Prvom proizvodnom serijom se smatra proizvodnja prve skupine koja sadrži najmanje 50 i najviše 5 000 sustava za držanje djeteta.

11.2.1.   Dinamička ispitivanja

11.2.1.1.   Dinamičko ispitivanje koje je opisano u stavku 8.1.3. treba provesti za pet sustava za držanje djeteta. Tehnička služba koja je provela homologacijska ispitivanja odabire uvjete u kojima pri homologacijskim dinamičkim ispitivanjima dolazi do najvećeg vodoravnog pomaka glave, isključujući uvjete opisane u stavku 7.1.4.1.10.1.2. gore. Svih pet sustava treba ispitati u jednakim uvjetima.

11.2.1.2.   Pri svakom ispitivanju opisanom u stavku 11.2.1.1. mjeri se vodoravni pomak glave i ubrzanje prsnog koša.

(a)

rezultati najvećeg vodoravnog pomaka glave moraju biti u skladu sa sljedećim uvjetima:

 

nijedna vrijednost ne smije prelaziti 1,05 L i

 

X + S ne smije prelaziti L,

pri čemu je:

L

=

propisana granična vrijednost

X

=

srednja vrijednost

S

=

standardno odstupanje vrijednosti

(b)

rezultati ubrzanja prsnog koša moraju biti u skladu sa zahtjevima stavka 7.1.4.2.1. i osim toga uvjet X + S iz stavka 11.2.1.3. (a) primjenjuje se na rezultanti rezultata ubrzanja prsnog koša pri 3 ms (kako je određeno u stavku 7.1.4.2.1.) i bilježe se samo informativno.

11.2.2.   Nadzor oznaka

11.2.2.1.   Tehnička služba koja je provela homologacijska ispitivanja provjerava da oznake ispunjavaju zahtjeve stavka 4.

11.2.3.   Nadzor uputa za ugradbu i uputa za uporabu.

11.2.3.1.   Tehnička služba koja je provela homologacijska ispitivanja provjerava da upute za ugradbu i upute za uporabu ispunjavaju zahtjeve stavka 15.

12.   SUKLADNOST PROIZVODNJE I RUTINSKA ISPITIVANJA

Postupci za sukladnost proizvodnje trebaju biti u skladu s onima iz dodatka 2. Sporazumu (E/ECE/324-E/ECE/TRANS/505/Rev.2.), sa sljedećim zahtjevima:

12.1.

svaki se sustav za držanje djeteta, homologiran prema ovom Pravilniku mora biti proizveden u skladu s homologiranim tipom, tako da ispunjava zahtjeve određene u gornjim stavcima 6. do 8.;

12.2.

Najmanje moraju biti ispunjeni zahtjevi za postupke nadzora nad sukladnosti proizvodnje određeni u Prilogu 16. ovom Pravilniku;

12.3.

Nadležno tijelo koje je izdalo homologaciju može u svako doba provjeriti metode nadzora nad sukladnošću koje se primjenjuju u svakom proizvodnom pogonu. Uobičajena učestalost tih provjera je dvaput godišnje.

13.   KAZNE ZA NESUKLADNOST PROIZVODNJE

13.1.   Homologacija izdana za sustav za držanje djeteta na temelju ovog Pravilnika može se ukinuti ako sustav za držanje djeteta, koji nosi oznake iz stavka 5.4., ne prođe nasumične provjere opisane u stavku 11., odnosno nije sukladan s homologiranim tipom.

13.2.   Ako stranka Sporazuma koja primjenjuje ovaj Pravilnik povuče homologaciju koju je prethodno izdala, o tomu odmah mora obavijestiti druge ugovorne stranke koje primjenjuju taj Pravilnik putem obrasca izjave koji je sukladan predlošku u Prilogu 1. ovom Pravilniku.

14.   KONAČNA OBUSTAVA PROIZVODNJE

14.1.   Ako nositelj homologacije u potpunosti prestane proizvoditi poseban tip sustava za držanje djeteta u skladu s ovim Pravilnikom, o tome mora obavijestiti tijelo koje je izdalo homologaciju. Po primitku predmetne izjave to tijelo o tome odmah mora obavijestiti druge ugovorne stranke koje primjenjuju ovaj Pravilnik putem obrasca s izjavom koji je sukladan predlošku iz Priloga 1. ovom Pravilniku.

15.   UPUTE

15.1.   Svakom sustavu za držanje djeteta moraju biti priložene upute na jeziku države u kojoj se naprava prodaje, sljedećeg sadržaja:

15.2.   Upute za ugradnju trebaju obuhvaćati sljedeće točke:

15.2.1.

za sustave za držanje djeteta kategorije „univerzalni” mora na prodajnom mjestu jasno biti vidljivi sljedeći natpis bez uklanjanja ambalaže:

UPOZORENJE

1.

Ovo je „univerzalni” sustav za držanje djeteta., Homologiran je prema Pravilniku br. 44 nizu izmjena 04 za opću uporabu u vozilima i odgovara za većinu, ali ne za sva sjedala u vozilu.

2.

Može se očekivati pravilna ugradnja, ako je proizvođač vozila u svojim uputama za uporabu naveo da vozilo odgovara za ugradnju „univerzalnog” sustava za držanje djeteta za tu dobnu skupinu.

3.

Ovaj sustav za držanje djeteta je razvrstan kao „univerzalni” po strožim kriterijima od onih koji su se primjenjivali na ranije izvedbe koje nemaju ovo upozorenje.

4.

Ako postoji sumnja, potražiti savjet od proizvođača sustava za držanje djeteta ili od trgovca.

15.2.2.

Za sustave za držanje djeteta kategorije „za ograničenu uporabu” i „poluuniverzalni”, mora na prodajnom mjestu biti jasno vidljiv sljedeći natpis bez uklanjanja ambalaže:

Ovaj je sustav za držanje djeteta razvrstan u kategoriju „(za ograničenu uporabu/poluuniverzalni)” i odgovara za ugradnju na sjedišta u sljedećim vozilima:

VOZILO

SPRIJEDA

STRAGA

 

Vanjsko

Središnje

 

(tip)

Da

Da

Ne

Položaji za sjedenje u drugim vozilima također mogu odgovarati za ovaj sustav za držanje djeteta. U slučaju dvojbe, potražiti savjet od proizvođača sustava za držanje djeteta ili od trgovca.

15.2.3.

Za sustave za držanje djeteta kategorije „za određeno vozilo” moraju na prodajnom mjestu podaci o predmetnom vozilu biti jasno vidljivi a da se ne uklanja ambalaža:

15.2.4.

Sljedeći natpis također mora biti jasno biti vidljiv na prodajnome mjestu bez uklanjanja ambalaže, ako je za napravu potreban sigurnosni pojas za odrasle.

„Prikladno samo ako su homologirana vozila opremljena sigurnosnim pojasevima – trbušnim/s 3 točke/statičkim/s uvlačnikom, homologiranima prema UN/ECE Pravilniku br 16 ili drugim istovrijednim normama” (nepotrebno precrtati).

Kod sustava za držanje s prijenosnom ležaljkom za dijete mora se priložiti popis prijenosnih ležaljki za dijete za koje je taj sustav prikladan.

15.2.5.

Proizvođač sustava za držanje djeteta mora navesti na ambalaži adresu na koju se kupac može pismeno obratiti za dodatne informacije o ugradnji sustava za držanje djeteta u određenim vozilima.

15.2.6.

Način postavljanja prikazan na fotografijama i/ili veoma jasnim crtežima;

15.2.7.

Korisnika treba obavijestiti da tvrdi dijelovi i dijelovi od plastike sustava za držanje djeteta moraju biti smješteni i ugrađeni tako da pri svakodnevnom korištenju vozila ne mogu biti prikliješteni pomicanjem sjedala ili vratima vozila;

15.2.8.

Korisnik mora biti obaviješten da se prijenosne ležaljke za dijete rabe u položaju okomitom na uzdužnu os vozila;

15.2.9.

u slučaju sustava za držanje okrenutih prema natrag kupca se treba upozoriti da ih ne smije koristiti na sjedištima koja su opremljena zračnim jastukom. To upozorenje mora na prodajnom mjestu biti jasno vidljivo bez uklanjanja ambalaže;

15.2.10.

za sustavima za držanje „za posebne potrebe” sljedeća obavijest mora na prodajnom mjestu biti jasno vidljivo bez uklanjanja ambalaže:

Ovaj sustav za držanje „za posebne potrebe” konstruiran je tako da pruži dodatnu potporu djeci koja imaju poteškoće pri pravilnom sjedenju u uobičajenim sjedalima. Savjetujte se sa svojim liječnikom kako bi bili sigurni da ovaj sustav za držanje odgovara vašem djetetu.

15.2.11.

Za sustav za držanje djeteta ISOFIX sljedeća naljepnica mora biti jasno vidljiva na mjestu prodaje bez uklanjanja ambalaže:

OBAVIJEST

1.

Ovo je SUSTAV ZA DRŽANJE DJETETA ISOFIX. Homologiran je u skladu s Pravilnikom br. 44, nizom izmjena 04 za opću uporabu u vozilima opremljenim sustavima sidrišta ISOFIX.

2.

On odgovara vozilima s položajima homologiranim kao položaji ISOFIX (kako je detaljno pojašnjeno u priručniku za rukovanje vozilom), ovisno o razredu dječje sjedalice i o učvršćenju.

3.

Masena skupina i razred veličine ISOFIX za koje je ova naprava namjenjena je: …

15.3.   Upute za uporabu trebaju sadržavati sljedeće podatke:

15.3.1.

masene skupine za koje je naprava namijenjena;

15.3.2.

ako se naprava upotrebljava u kombinaciji sa sigurnosnim pojasom za odrasle, sljedeći natpis: „Prikladno samo u navedenim vozilima opremljenim sigurnosnim pojasevima – trbušnim/s 3 točke/statičkim/s uvlačnikom, homologiranima prema UN/ECE Pravilniku br 16. ili drugim istovrijednim normama.” (nepotrebno precrtati);

15.3.3.

način uporabe mora biti prikazan fotografijama i/ili veoma jasnim crtežima. Kod sjedala koja se mogu rabiti okrenuta prema naprijed ili natrag, mora biti jasno naznačeno upozorenje da se sustav za držanje rabi okrenut prema natrag sve dok tjelesna masa djeteta ne prijeđe određenu graničnu vrijednost, odnosno druga mjerila u pogledu mjera;

15.3.4.

jasno objašnjenje djelovanja kopče i naprava za namještanje;

15.3.5.

preporuku da svi remeni koji se rabe za pričvršćivanje sustava za držanje na vozilo moraju biti napeti, da remeni koji drže dijete moraju biti prilagođeni tjelesnoj građi djeteta i da remeni ne smiju biti uvijeni;

15.3.6.

naglasiti važnost da je trbušni remen potrebno namjestiti što niže, tako da je zdjelica pravilno držana;

15.3.7.

mora biti preporučeno da napravu za držanje treba zamijeniti ako je bila izložena velikom naprezanju u slučaju nesreće;

15.3.8.

moraju se dati upute za čišćenje;

15.3.9.

opće upozorenje mora se dati korisniku o opasnostima u slučaju da se vrše bilo kakve preinake ili dopune na napravi za držanje bez odobrenja nadležnog tijela, te o opasnosti u slučaju nepridržavanja uputa za ugradbu koja je dao proizvođač sustava za držanje djeteta;

15.3.10.

mora biti preporučeno da sjedalo koje nema presvlaku od tkanine treba zaštititi od izravnih sunčevih zraka, u protivnom bi sjedalo moglo opeći dijete;

15.3.11.

mora biti preporučeno da se djeca ne smiju ostavljati bez nadzora u sustavu za držanje djeteta;

15.3.12.

preporuku da se prtljaga ili drugi predmeti koji bi mogli prouzročiti povrede u slučaju sudara pravilno pričvrste.

15.3.13.

Mora biti preporučeno da se:

(a)

sustav za držanje djeteta ne smije koristiti bez presvlake;

(b)

presvlaka sjedala smije se zamijeniti samo presvlakom koju preporučuje proizvođač, jer je presvlaka sastavni dio značajke sustava za držanje.

15.3.14.

Mora postojati pisano upozorenje ili skica koja naznačuje kako korisnik može ustanoviti nezadovoljavajući položaj kopče sigurnosnog pojasa za odrasle u odnosu na točke na sustavu za držanje koje nose glavni dio opterećenja. Korisniku se savjetuje da u slučaju nedoumice u tome pogledu, potraži savjet od proizvođača sustava za držanje djeteta.

15.3.15.

Ako sustav za držanje djeteta ima drugu točku koja prenosi glavni dio opterećenja, način njezine uporabe mora biti jasno opisan. Korisnika se mora uputiti kako da ocijeni je li uporaba tog drugog načina postavljanja pojasa zadovoljavajuća. Korisnika se da u slučaju nedoumice s obzirom na tu točku potraži savjet od proizvođača sustava za držanje djeteta. U priručniku za uporabu vozila korisnika se mora jasno upozoriti kako da pravilno postavi sustav za držanje kategorije „univerzalni” na sjedišta u vozilu upotrebom primarnog načina postavljanja pojasa.

15.3.16.

Moraju se poduzeti mjere da upute ostanu na sustavu za držanje djeteta za tijekom cijelog razdoblja njegove uporabe, ili budu u priručniku za uporabu vozila kod ugrađenih sustava za držanje.

15.3.17.

Mora postojati jasno upozorenje da nije dopuštena uporaba drugih dodirnih točaka za prijenos opterećenja osim onih koje su navedene u uputama i označene na sustavu za držanje djeteta.

15.3.18.

Za sustav za držanje djeteta ISOFIX uputa za uporabu je da se pročita priručnik proizvođača o rukovanju vozilom.

16.   IMENA I ADRESE TEHNIČKIH SLUŽBI ODGOVORNIH ZA PROVEDBU HOMOLOGACIJSKIH ISPITIVANJA KAO I ADMINISTRATIVNIH TIJELA

16.1.   Stranke iz Sporazuma koje primjenjuju ovaj Pravilnik, dostavljaju Tajništvu Ujedinjenih naroda imena i adrese tehničkih službi koje su odgovorne za provođenje homologacijskih ispitivanja i administrativnih tijela koja izdaju homologaciju i kojima se moraju poslati formulari izjave koji potvrđuju homologaciju ili proširenje, odbijanje ili povlačenje homologacije, a koji su izdani u drugim državama.

17.   PRIJELAZNE ODREDBE

17.1.   Od službenog dana stupanja na snagu niza izmjena 03, nijedna ugovorna strana koja primjenjuje ovaj Pravilnik ne smije odbiti izdati ECE homologaciju prema ovom Pravilniku kako je izmijenjen nizom izmjena 03.

17.2.   S početkom 12 mjeseci od dana stupanja na snagu, ugovorne stranke koje primjenjuju ovaj Pravilnik izdaju ECE homologacije samo ako tip sustava za držanje djeteta koji treba homologirati ispunjava zahtjeve ovog Pravilnika kako je izmijenjen nizom izmjena 03.

17.3.   Tijekom razdoblja od 12 mjeseci nakon dana stupanja na snagu niza izmjena 03, ugovorne strane koje primjenjuju ovaj Pravilnik mogu nastaviti izdavati homologacije sustavima za držanje djeteta koji ispunjavaju zahtjeve ovog Pravilnika kako je izmijenjen nizom izmjena 02.

17.4.   U istom razdoblju od 12 mjeseci, ugovorne strane koje primjenjuju ovaj Pravilnik ne smiju odbiti izdati proširenja homologacije prethodnom nizu izmjena ovog Pravilnika.

17.5.   Od dana stupanja na snagu niza izmjena 03 odredbe Priloga 16. ovom Pravilniku također se primjenjuju na naprave za držanje djeteta koje su već homologirane prema nizu izmjena 02.

17.6.   S početkom od dana stupanja na snagu niza izmjena 03 ugovorne strane koje primjenjuju ovaj Pravilnik mogu odbiti prodaju tipa sustava za držanje djeteta koji ne ispunjava zahtjeve stavaka 6.2.2. i 6.2.14. niza izmjena 03.

17.7.   S početkom 36 mjeseci nakon stupanja na snagu niza izmjena 03, ugovorne strane koje primjenjuju ovaj Pravilnik mogu odbiti prodaju sustava za držanje djeteta koji ne ispunjavaju zahtjeve niza izmjena 03 ovog Pravilnika.

17.8.   Od dana stupanja na snagu dopune 2. niza izmjena 03, naljepnica koja se zahtjeva stavkom 4.5. ovog Pravilnika pričvršćuje se na sve sustave za držanje djeteta proizvedene u sukladnosti s ovim Pravilnikom.

17.9.   Od službenog dana stupanja na snagu niza izmjena 04 nijedna ugovorna strana koja primjenjuje ovaj Pravilnik ne smije odbiti izdati ECE homologaciju prema ovom Pravilniku kako je izmijenjen nizom izmjena 03.

17.10.   S početkom 12 mjeseci nakon dana stupanja na snagu niza izmjena 04 ugovorne strane koje primjenjuju ovaj Pravilnik izdaju ECE homologacije samo ako tip sustava za držanje djeteta koji treba homologirati ispunjava zahtjeve ovog Pravilnika kako je izmijenjen nizom izmjena 04.

17.11.   Tijekom razdoblja od 12 mjeseci nakon dana stupanja na snagu niza izmjena 04, ugovorne strane koje primjenjuju ovaj Pravilnik mogu nastaviti izdavati homologacije sustavima za držanje djeteta koji ispunjavaju zahtjeve ovog Pravilnika kako je izmijenjen nizom izmjena 03.

17.12.   Tijekom razdoblja od 36 mjeseci nakon dana stupanja na snagu niza izmjena 04, ugovorne strane koje primjenjuju ovaj Pravilnik ne smiju odbiti izdati proširenja homologacije prema prethodnom nizu izmjena ovog Pravilnika.

17.13.   S početkom 48 mjeseci nakon stupanja na snagu niza izmjena 04, ugovorne strane koje primjenjuju ovaj Pravilnik mogu odbiti prodaju sustava za držanje djeteta koji ne ispunjavaju zahtjeve niza izmjena 04 ovog Pravilnika.

17.14.   S početkom 6 mjeseci od dana stupanja na snagu dopune 04 nizu izmjena 04 homologacije izdan u skladu s nizom izmjena 03 ili 04 za sustave za držanje djeteta koji pripadaju skupinama 0, 0 + i I koji ne ispunjavaju zahtjeve stavka 6.1.11. ili 6.1.12. prestaju važiti.

17.15.   Od dana stupanja na snagu dopune 4. niza izmjena 04, ovog Pravilnika, odstupajući od obveza ugovornih strana tijekom prijelaznog razdoblja određenog u stavku 17.14. i na temelju deklaracije Europske zajednice u vrijeme njezinog pristupanja Sporazumu iz 1958. (depozitorna obavijest C.N.60.1998.TREATIES-28), države članice zabranjuju stavljanje na tržište sustava za držanje djeteta koji ne ispunjavaju zahtjeve dopune 4. niza izmjena 04 ovog Pravilnika.


(1)  1 za Njemačku, 2 za Francusku, 3 za Italiju, 4 za Nizozemsku, 5 za Švedsku, 6 za Belgiju, 7 za Mađarsku, 8 za Češku, 9 za Španjolsku, 10 za Jugoslaviju, 11 za Ujedinjenu Kraljevinu, 12 za Austriju, 13 za Luksemburg, 14 za Švicarsku, 15 (prazno), 16 za Norvešku, 17 za Finsku, 18 za Dansku, 19 za Rumunjsku, 20 za Poljsku, 21 za Portugal, 22 za Rusku Federaciju, 23 za Grčku, 24 za Irsku, 25 za Hrvatsku, 26 za Sloveniju i 27 za Slovačku, 28 za Bjelarus, 29 za Estoniju, 30 prazno, 31 za Bosnu i Hercegovinu, 32 za Latviju, 33 (prazno), 34 za Bugarsku, 35 (prazno), 36 za Litvu, 37 za Tursku, 38 (prazno), 39 za Azerbajdžan, 40 za bivšu jugoslavensku republiku Makedoniju, 41 (prazno), 42 za Europsku zajednicu (homologacije izdaju njezine države članice koristeći relevantne oznake ECE-a),43 za Japan, 44 (prazno), 45 za Australiju, 46 za Ukrajinu, 47 za Južnu Afriku i 48 za Novi Zeland, 49 za Cipar, 50 za Maltu i 51 za Republiku Koreju. Naknadni brojevi dodijelit će se drugim zemljama kronološkim redom kojim će ratificirati ili pristupiti Sporazumu o prihvaćanu jedinstvenih tehničkih propisa za vozila na kotačima, opremu i dijelove koji se mogu ugraditi i/ili upotrijebiti u vozilima na kotačima i uvjetima za uzajamno priznanje izdanih homologacije na temelju tih propisa i tako dodijeljene brojeve glavni tajnik Ujedinjenih naroda dostavlja ugovornim strankama Sporazuma.

(2)  Univerzalni SDD ISOFIX znači sustav za držanje okrenut prema naprijed za uporabu u vozilima koja su opremljena sustavom sidrišta ISOFIX i sidrištem za gornju sigurnosnu uzicu ISOFIX.

(3)  Poluuniverzalni SDD ISOFIX znači:

sustavi za držanje djeteta okrenuti prema naprijed, opremljeni potpornom nogom; ili

sustavi za držanje djeteta okrenuti prema nazad, opremljeni potpornom nogom ili gornjom sigurnosnom uzicom za uporabu u vozilima opremljenim sustavom sidrišta ISOFIX i sidrištem za remen gornje sigurnosne uzice; prema potrebi;

ili sustavi za držanje djeteta okrenuti prema nazad koji se oslanjaju na ploču s instrumentima vozila, za uporabu na prednjem putničkom sjedalu opremljeni sustavom sidrišta ISOFIX,

bočno okrenuti sustavi za držanje djeteta opremljeni prema potrebi napravom za sprečavanje okretanja za uporabu u vozilima opremljenim sustavom sidrišta ISOFIX i prema potrebi sidrištem za gornju sigurnosnu uzicu.

(4)  Adresa za dobivanje relevantnih podataka norme CEN, 2 rue Bréderode, B.P. 5, 1000 Bruxelles, Belgija.

(5)  Granične vrijednosti ubrzanja prsnog koša ne primjenjuju se pri uporabi ispitne lutke za novorođenčad, jer nije opremljena mjernim instrumentima.

(6)  Ispitna lutka novorođenče nema trbušnog uloška. Zato se za ocjenu prodora u trbuh može uzeti subjektivna analiza.

(7)  Ako nije drukčije navedeno, dopuštena odstupanja od mjera ne vrijede za granične vrijednosti.

Raspon mjera (mm)

Manje od 6

Iznad 6 do 30

Iznad 30 do 120

Iznad 120 do 315

Iznad 215 do 1 000

Iznad 1 000

Dopušteno odstupanje (mm)

± 0,5

± 1

± 1,5

± 2

± 3

± 4

Ako nije drukčije navedeno, dopuštena odstupanja za kutove su: ± 1°.

(8)  Tijekom umjeravanja zaustavni put treba biti 650 ± 30 mm

(9)  Tijekom umjeravanja zaustavni put treba biti 275 ± 20 mm

Napomena:

Svi sustavi za držanje djeteta skupina 0 i 0 + ispituju se sukladno uvjetima za „sustave okrenute prema natrag” pri čelnom i stražnjem sudaru.

Tumač:

Ispitni impuls br. 1

:

kako je određeno u Prilogu 7. – čelni sudar

Ispitni impuls br. 2

:

kako je određeno u Prilogu 7. – stražnji sudar

Ispitni impuls br. 3

:

tijek usporavanja vozila pri čelnom sudaru

Ispitni impuls br. 4

:

tijek usporavanja vozila pri stražnjem sudaru

(10)  g = 9,81 m/s2


PRILOG 1.

IZJAVA

(Najveći format: A4 (210 × 297 mm)

Image

Image


PRILOG 2.

POSTAVLJANJE HOMOLOGACIJSKIH OZNAKA

Image

Image


PRILOG 3.

SHEMATSKI PRIKAZ NAPRAVE ZA ISPITIVANJE OTPORNOSTI NA PRAŠINU

(mjere u milimetrima)

Image


PRILOG 4.

ISPITIVANJE NA KOROZIJU

1.   Uređaj za ispitivanje

1.1.

Uređaj se sastoji od komore sa slanom maglom, spremnika za slanu otopinu, dovoda odgovarajuće pripremljenog stlačenog zraka, jedne ili više sapnica za raspršivanje, nosača uzoraka, opreme za grijanje komore, i potrebne opreme za upravljanje. Veličina i pojedinosti konstrukcije uređaja su proizvoljni, pod uvjetom da ispunjava uvjete za ispitivanje.

1.2.

Važno je osigurati da kapljice otopine koje se skupljaju na stropu ili pokrovu komore, ne padaju na ispitne uzorke.

1.3.

Kapljice otopine koje padaju s ispitnih uzoraka ne smije se vraćati u spremnik i ponovno se raspršivati.

1.4.

Naprava ne smije biti izrađena od materijala koji bi utjecali na korozivnu agresivnost magle.

2.   Položaj ispitnih uzoraka u komori sa slanom maglom

2.1.

Uzorci, osim uvlačnika, oslone se ili objese pod kutom između 15° i 30° od vertikale i po mogućnosti usporedno s glavnim smjerom vodoravnog toka slane magle kroz komoru, s obzirom na glavni dio površine koja se ispituje.

2.2.

Uvlačnici se oslone ili objese tako da su osi kalema na koji je namotan remen okomite na glavni smjer vodoravnog otoka slane magle kroz komoru. Otvor za remen u uvlačniku također mora biti usmjeren prema tom glavnom smjeru.

2.3.

Svaki se uzorak mora biti postavljen tako da slana magla slobodno oplakuje sve uzorke.

2.4.

Svaki uzorak mora biti postavljen tako da slana otopina ne može kapati s jednog uzorka na drugi.

3.   Slana otopina

3.1.

Slana otopina se priprema tako da se 5 ± 1 masenih dijelova natrijeva klorida otopi u 95 dijelova destilirane vode. Sol treba biti natrijev klorid bez primjesa nikla i bakra, koja u suhom stanju sadrži najviše 0,1 % natrijeva jodida i najviše 0,3 % sveukupnih nečistoća.

3.2.

Otopina treba biti takva da skupljena otopina nakon raspršivanja na 35 °C ima pH vrijednost između 6,5 i 7,2.

4.   Stlačeni zrak

4.1.

Stlačeni zrak koji se dovodi na sapnicu ili sapnice koje raspršuju slanu otopinu, ne smije sadržavati ulje niti nečistoće pri čemu se njegov tlak treba održavati između 70 kN/m2 i 1870 kN/m2.

5.   Uvjeti u komori sa slanom maglom

5.1.

U komori sa slanom maglom, u dijelu gdje se vrši izlaganje uzoraka mora se održavati temperatura na 35 ± 5 °C. U tom području moraju se postaviti najmanje dva čista sabirnika slane magle, kako bi se spriječilo nakupljanje kapljica otopine koje padaju s ispitnih uzoraka ili iz nekih drugih izvora. Sabirnici se postavljaju pokraj ispitnih uzoraka, jedan što bliže sapnicama a drugi što dalje od svih sapnica. Slana magla treba biti takva da se na svakih 80 cm2 vodoravne sabirne površine u svakom sabirniku sakupi u prosjeku između 1,0 i 2,0 ml otopine na sat, ako se mjerenja obavljaju najmanje 16 sati.

5.2.

Sapnica ili sapnice moraju biti usmjerene ili izmaknute u stranu tako da se prskanje ne vrši izravno po ispitnim uzorcima.


PRILOG 5.

ISPITIVANJE ABRAZIJE I MIKROKLIZANJA

Slika 1.

Postupak tipa 1.

Primjeri ispitivanja ovisno o tipu naprave za namještanje

Primjer (a)

Image

Primjer (b)

Image

Slika 2.

Postupak tipa 2

Image

Slika 3.

Ispitivanje mikroklizanja

Ukupni hod 300 ± 20 mm

Image

Opterećenje od 50 N na napravi za ispitivanje vodi se vertikalno tako da se spriječi njihanje utega i usukivanje remena.

Uređaj za pričvršćivanje učvršćuje se na uteg od 50 N na isti način kao i u vozilu.


PRILOG 6.

OPIS ISPITNIH KOLICA

1.   Ispitna kolica

1.1.   Za ispitivanje sigurnosnih pojaseva, ispitna kolica na koja je pričvršćeno samo sjedalo moraju imati masu veću od 380 kg. Za ispitivanje sustava za držanje, kolica zajedno s pričvršćenom konstrukcijom vozila moraju imati masu od 800 kg.

2.   Umjerni zaslon

2.1.   Umjerni se zaslon mora čvrsto pričvrstiti na ispitna kolica s vidljivo označenom graničnom crtom pomaka, kako bi se na temelju fotografskih snimaka mogla utvrditi sukladnost sa zahtjevima u pogledu pomaka prema naprijed.

3.   Sjedalo

3.1.   Sjedalo mora biti proizvedeno kako slijedi:

3.1.1.   tvrdi naslon sjedala, dobro pričvršćen, mjera koje su navedene u dodatku 1. ovom Prilogu. Donji i gornji dio izrađeni su od cijevi promjera 20 mm;

3.1.2.   kruto sjedište, s mjerama koje su navedene u dodatku 1. ovom Prilogu. Stražnji dio površine sjedišta izrađen je od krute metalne ploče, čiji je gornji rub cijev promjera 20 mm. Prednji je dio sjedišta također izrađen od cijevi promjera 20 mm;

3.1.3.   otvori za pristup sidrišnim konzolama moraju biti napravljeni na stražnjoj se strani obloge sjedala, kako je određeno u dodatku 1. ovog Priloga;

3.1.4.   širina sjedišta iznosi 800 mm;

3.1.5.   naslon i sjedište se oblažu poliuretanskom spužvom čije su značajke navedene u tablici 1. Mjere obloge navedene su u dodatku 1. ovom Prilogu;

Tablica 1.

Gustoća prema normi ISO 485 (kg/m3)

43

Nosivost prema normi ISO 2439B (N)

 

P – 25 %

125

P – 40 %

155

Faktor nosivosti prema normi ISO 3386 (kPa)

4

Izduženje pri lomu prema normi ISO 1798 (%)

180

Prekidna čvrstoća prema normi ISO 1798 (kPa)

100

Preostala trajna deformacija određena prema normi ISO 1856 (%)

3

3.1.6.   Poliuretanska spužva mora biti presvučena tkaninom od poliakrilnih vlakana koje štite od sunčevih zraka, čije su značajke navedene u tablici 2.

Tablica 2.

Specifična težina (g/m2)

290

Prekidna čvrstoća prema normi DIN 53587 na ispitnome uzorku širine 50 mm:

 

uzdužno (kg):

120

poprečno (kg)

80

3.1.7.   Pokrov sjedišta i naslona sjedala (1)

3.1.7.1.

Pjenasta obloga sjedala izrađuje se pravokutnog bloka pjene (800 × 575 × 135 mm),) tako da (vidjeti sliku 1. u dodatku 1. ovom Prilogu) svojim oblikom odgovara obliku aluminijske podne ploče koja je prikazana na slici 2. u dodatku 1. ovom Prilogu.

3.1.7.2.

U podnoj ploči se izbuši šest provrta tako da se vijcima može pričvrstiti na kolica. Provrti se buše duž najdužeg ruba ploče, po tri na svakoj strani, a njihov položaj ovisi o konstrukciji ispitnih kolica. Kroz provrte se stavlja šest vijaka. Preporuča se da se vijci zalijepe na ploču odgovarajućim ljepilom. Potom se vijci pričvrste maticama.

3.1.7.3.

Pokrovni materijal (1 250 × 1 200 mm, vidjeti sliku 3. u dodatku 1. ovom Prilogu) kroji se po širini tako da nakon oblaganja nije moguće preklapanje materijala. Između rubova pokrovnog materijala mora ostati razmak od oko 100 mm. Stoga se materijal treba odrezati na dužinu od približno 1 200 mm.

3.1.7.4.

Pokrovni materijal se označava po širini dvjema crtama. Crte se iscrtaju 375 mm od središnjice (vidjeti sliku 3. u dodatku 1. ovom Prilogu)

3.1.7.5.

Pjenasta obloga sjedala postavlja se s donje strane na pokrovni materijal s aluminijskom podnom pločom.

3.1.7.6.

Pokrovni materijal se s obje strane navlači sve dok se crte iscrtane na materijalu ne poklope s rubovima aluminijske podne ploče. Na mjestima gdje se nalaze vijci načine se mali prorezi i pokrovni materijal prevuče preko vijaka.

3.1.7.7.

Pokrov materijal se mora prorezati na mjestu ureza na podnoj ploči i na pjenastoj oblozi.

3.1.7.8.

Pokrov se zalijepi na aluminijsku ploču elastičnim ljepilom. Prije lijepljenja moraju se ukloniti matice.

3.1.7.9.

Dijelovi koji vise sa strane preklapaju se na ploču i dobro zalijepe.

3.1.7.10.

Dijelovi tkanine u urezima preklapaju se prema unutra i učvrste jakom vrpcom.

3.1.7.11.

Elastično se ljepilo mora sušiti najmanje 12 sati.

3.1.7.12.

Obloga naslona sjedala prekriva se na potpuno isti način kao i sjedište, samo se crte na presvlaci (1 250 × 850 mm) iscrtaju na udaljenosti od 320 mm od središnjice materijala.

3.1.8.   Crta Cr se poklapa sa sjecištem gornje ravnine površine sjedišta i prednje ravnine naslona sjedala.

3.2.   Ispitivanje naprava okrenutih prema natrag

3.2.1.   Na ispitna kolica se pričvrsti poseban okvir da podupire sustav za držanje djeteta, kako je prikazano na slici 1.

3.2.2.   Čelična se cijev dobro pričvrsti na ispitna kolica tako da sila od 5 000 ± 50 N, koja djeluje vodoravno na središte cijevi, ne prouzroči pomak veći od 2 mm.

3.2.3.   Mjere cijevi su: 500 × 100 × 90 mm.

Slika 1.

Postavke za ispitivanje naprave okrenute prema natrag

Image

3.3.   Ploča poda ispitnih kolica

3.3.1.   Ploča poda ispitnih kolica mora biti izrađena od ravne metalne ploče jednolike debljine i materijala, vidjeti sliku 2. dodatka 3. ovom Prilogu.

3.3.1.1.

Ploča poda se čvrsto postavlja na ispitna kolica. Visina ploče poda s obzirom na projekcijsku točku osi Cr, mjere X 2/ (2) na slici 2., namješta se u skladu sa zahtjevima stavka 7.1.4.1.9.

3.3.1.2.

Ploča poda mora biti oblikovana tako da tvrdoća površine nije ispod 120 HB, u skladu sa EN ISO 6506-1:1999.

3.3.1.3.

Ploča poda mora izdržati primjenjeno vertikalno opterećenje od 5 kN bez da se os Cr pomakne u vertikalnom smjeru više od 2 mm i bez da dođe do trajne deformacije.

3.3.1.4.

Površinska hrapavost ploče poda ne prelazi Ra 6,3 u skladu sa ISO 4287:1997.

3.3.1.5.

Ploča moda mora biti izrađena tako da se prilikom dinamičkog ispitivanja sustava za držanje djeteta u skladu s ovim Pravilnikom ne prouzroči trajna deformacija.

4.   Naprava za zaustavljanje

4.1.   Naprava se sastoji od dva identična usporedno ugrađena apsorbera.

4.2.   Ako je potrebno, koristi se dodatni apsorber za svakih dodatnih 200 kg nazivne mase. Svaki apsorber sadrži:

4.2.1.

vanjsko kućište izrađeno od čelične cijevi;

4.2.2.

poliuretansku cijev za apsorbiranje energije;

4.2.3.

poliranu čeličnu glavu ovalnog oblika utisnutu u apsorber, i

4.2.4.

osovinu i udarnu ploču.

4.3.   Mjere različitih dijelova apsorbera prikazane su na crtežima u dodatku 2. ovog Priloga.

4.4.   Značajke apsorbirajućeg materijala prikazane su u tablicama 3. i 4. ovog Priloga.

4.5.   Sklop naprave za zaustavljanje mora se držati najmanje 12 sati na temperaturi između 15 i 25 °C prije uporabe za umjerna ispitivanjima koja su opisana u Prilogu 7. ovom Pravilniku,. Naprava za zaustavljanje pri svakoj vrsti ispitivanja treba zadovoljavati zahtjeve propisane u dodacima 1. i 2. Priloga 7. Za dinamička ispitivanja sustava za držanje djeteta sklop naprave za zaustavljanje drži se najmanje 12 sati na istoj temperaturi kao pri umjernom ispitivanju unutar ± 2 °C. Prihvatljiva je svaka druga naprava koja daje istovrijedne rezultate.

Tablica 3.

Značajke apsorbirajućeg materijala „A”  (3)

(Metoda ASTM D 735, ako nije drukčije navedeno)

Tvrdoća po Shoreu A

95 ± 2 pri temperaturi 20 ± 5 °C

Prekidna čvrstoća

Ro 350 kg/cm2

Najmanje izduženje

Ao 400 %

Modul pri 100 % izduženju

110 kg/cm2

pri 300 % izduženju

240 kg/cm2

Krtost pri niskim temperaturama (metoda ASTM D 736)

5 sati na - 55 °C

Stišljivost (metoda B)

22 sata na 70 °C: 45 %

Gustoća pri 25 °C

1,05 do 1,10

Starenje na zraku (postupak ASTM D 573)

 

70 sati na 100 °C:

tvrdoća po Shoreu: najveća promjena ± 3

prekidna čvrstoća: smanjenje < 10 % Ro

izduženje: smanjenje < 10 % Ao

masa: smanjenje < 1 %

Potapanje u ulju (metoda ASTM br. 1 ulje)

 

70 sati na 100 °C:

tvrdoća po Shoreu: najveća promjena ± 4

prekidna čvrstoća: smanjenje < 15 % Ro

izduženje: smanjenje < 10 % Ao

obujam: povećanje < 5 %

Potapanje u ulju (metoda ASTM br. 3 ulje)

 

70 sati na 100 °C:

Prekidna čvrstoća: smanjenje < 15 % Ro

Istezanje: smanjenje < 15 % Ao

Volumen: povećanje < 20 %

Potapanje u destiliranoj vodi:

 

1 tjedan na 70 °C

Prekidna čvrstoća: smanjenje < 35 % Ro

Izduženje: povećanje < 20 % Ao


Tablica 4.

Značajke apsorbirajućeg materijala „B”

(Postupak ASTM D 2000 (1980), ako nije drukčije navedeno)

Tvrdoća po Shoreu A

88 ± 2 pri temperaturi 20 ± 5 °C

Prekidna čvrstoća

Ro 300 kg/cm2

Najmanje izduženje

Ao 400 %

Modul Pri 100 % izduženju

70 kg/cm2

Pri 300 % izduženju

130 kg/cm2

Krtost pri niskim temperaturama (metoda ASTM D 736)

5 sati na - 55 °C

Stišljivost (metoda B)

22 sata na 70 °C: 45 %

Gustoća pri 25 °C

1,08 do 1,12

Starenje na zraku (metoda ASTM D 573(1981.))

 

70 sati na 100 °C:

tvrdoća po Shoreu: najveća promjena ± 3

prekidna čvrstoća: smanjenje < 10 % Ro

izduženje: smanjenje < 10 % Ao

masa: smanjenje < 1 %

Potapanje u ulju (metoda ASTM D 471 (1979) ulje br. 1.)

 

70 sati na 100 °C:

tvrdoća po Shoreu: najveća promjena ± 4

prekidna čvrstoća: smanjenje < 15 % Ro

istezanje: smanjenje < 10 % Ao

obujam: povećanje < 5 %

Potapanje u ulju (metoda ASTM D 471 (1979.) ulje br. 3.):

 

70 sati na 100 °C:

prekidna čvrstoća: smanjenje < 15 % Ro

izduženje: smanjenje < 15 % Ao

obujam: povećanje < 20 %

Potapanje u destiliranoj vodi:

 

1 tjedan na 70 °C

Prekidna čvrstoća: smanjenje < 35 % Ro

Izduženje: povećanje < 20 % Ao


(1)  Podaci o materijalima koji se koriste u ovom postupku mogu se dobiti pri TNO (Istraživački institut za cestovna vozila), Schoemakerstraat 97, 2628 VK, Delft, Nizozemska.

(2)  Mjera X je 210 mm s rasponom prilagodbe od ± 70 mm.

(3)  Adresa za dobivanje relevantnih ASTM normi je: ASTM 1916 Race Street, Philadelphia, USA PA 19 103

Dodatak 1.

Slika 1.

Mjere sjedala i obloge sjedala

Image

Slika 2.

Mjere aluminijske podne ploče

Image

Slika 3.

Mjere pokrovnog materijala

Image

Slika 4.

Trodimenzionalni prikaz sjedala

Image

Dodatak 2.

Naprava za zaustavljanje

Mjere za čelni

sudar (u mm)

Slika 1.

Image

Slika 1. (a)

Materijal A

Image

Slika 1. (b)

Materijal B

Image

Slika 2.

Ovalna glava naprave za zaustavljanje

Image

Slika 3.

Ovalna glava naprave za zaustavljanje

Image

Slika 4.

Naprava za zaustavljanje (sastavljena)

Mjere za stražnji

sudar (mm)

Image

Slika 5.

Naprava za zaustavljanje, poliuretanska cijev

Mjere za stražnji

sudar u mm

Image

Dodatak 3.

RASPORED I KORIŠTENJE SIDRIŠTA NA ISPITNIM KOLICIMA

1.

Sidrišta se moraju postaviti kako je prikazano dolje na donjoj slici.

Kada se normirana sidrišna ploča pričvršćuje na sidrišne točke A i B ili B0, ploče trebaju biti ugrađene pomoću vijka u poprečnom vodoravnom smjeru, sa skošenom površinom okrenutom prema unutra, te se trebaju moći slobodno okretati oko osi.

2.

Sustavi za držanje djeteta kategorije „univerzalni” i za „ograničenu uporabu” koriste sljedeće sidrišne točke:

2.1.

sustavi za držanje djeteta, homologirani za uporabu s trbušnim pojasevima, točke A i B;

2.2.

sustavi za držanje djeteta, homologiranih za uporabu s trbušnim i s dijagonalnim pojasevima, točke A, B0 i C.

2.3.

sustavi za držanje djeteta koji koriste pričvršćenja ISOFIX, krajnje stražnje točke H1 i H2.

3.

Sidrišta A, B i/ili (stražnje) H1 H2 i D koriste se za sustave za držanje djeteta kategorije „poluuniverzalni” koji imaju samo jedno dodatno gornje sidrište.

4.

Sidrišta A, B i/ili (stražnje) H1 H2, E i F koriste se za sustave za držanje djeteta kategorije „poluuniverzalni” koji imaju dva dodatna gornja sidrišta.

5.

Sidrišne točke R1, R2, R3, R4 i R5 su dodatne sidrišne točke sustava za držanje djeteta koji su okrenuti prema natrag kategorije „poluuniverzalni” koji imaju jedno dodatno sidrište ili više njih (vidjeti stavak 8.1.3.5.3.).

6.

Osim točke C (koja predstavlja položaj zakretne vodilice na stupu), točke koje odgovaraju rasporedu sidrišta pokazuju gdje se moraju pričvrstiti krajevi sigurnosnog pojasa na ispitna kolica, odnosno na pretvorniku opterećenja, ovisno o slučaju. Konstrukcija koja nosi sidrišta mora biti kruta. Gornja se sidrišta ne smiju pomaknuti u uzdužnom smjeru za više od 0,2 mm ako na njih djeluje sila od 980 N u tom smjeru. Ispitna kolica moraju biti tako konstruirana da tijekom ispitivanja ne nastanu trajne deformacije na dijelovima koja nose sidrišta.

7.

Za prijenosne dječje ležaljke skupine 0, prema uputama proizvođača sustava za držanje djeteta mogu se alternativno upotrebljavati točke A1 i/ili B1. Točke A1 i B1 se nalaze na poprečnoj crti koja prolazi kroz točku R1 na udaljenosti od 350 mm od točke R1.

8.

Za ispitivanje sustava za držanje djeteta kategorije „univerzalni” i za „ograničenu uporabu” na ispitno se sjedalo ugrađuje normirani sigurnosni pojas s uvlačnikom, kako je određeno Prilogom 13. Tkani materijal koji se koristi između uvlačnika i sidrišne ploče A1 standardnog sigurnosnog pojasa se obnavlja za svako dinamičko ispitivanje.

9.

Za ispitivanje sustava za držanje djeteta s gornjim sidrišnim remenom koriste se sidrište G1 ili G2.

10.

U slučaju sustava za držanje djeteta koji koriste potpornu nogu tehnička služba odabire sidrišta koja će se koristiti u skladu sa stavcima 2., 3., 4. ili 5. gore i sa potpornom nogom namještenom kako je određeno u stavku 7.1.4.1.9.

Slika 1.

Image

Slika 2.

Image

Slika 3.

Image


PRILOG 7.

DIJAGRAM USPORENJA ILI UBRZANJA ISPITNIH KOLICA U FUNKCIJI VREMENA

Postupci umjeravanja i mjerenja trebaju odgovarati postupcima koji su određeni međunarodnom normom ISO 6487:2000; mjerna oprema treba odgovarati specifikaciji za podatkovni kanal s razredom kanalne frekvencije (CFC) 60.

Dodatak 1.

Krivulje usporenja ili ubrzanja ispitnih kolica u funkciji vremena

Čelni sudar

Definicija različitih krivulja

Vrijeme (ms)

Ubrzanje (g)

Niže područje

Ubrzanje (g)

Više područje

0

10

20

0

50

20

28

65

20

80

28

100

0

120

0

Image

Dodatni segment (vidjeti stavak 8.1.3.1.1.3.2.) primjenjuje se samo na saonicama za ubrzanje.

Dodatak 2.

Krivulje usporenja ili ubrzanja ispitnih kolica kao funkcija vremena

Stražnji sudar

Definicija različitih krivulja

Vrijeme (ms)

Ubrzanje (g)

Niže područje

Ubrzanje (g)

Više područje

0

21

10

0

 

10

7

20

14

37

14

52

7

52

0

 

70

21

70

0

Image

Dodatni segment (vidjeti stavak 8.1.3.1.1.3.2.) primjenjuje se samo na saonicama za ubrzanje.


PRILOG 8.

OPIS ISPITNIH LUTAKA

1.   Općenito

1.1.

Ispitne lutke propisane ovim Pravilnikom opisane su u dodacima 1. do 3. ovom Prilogu i u tehničkim nacrtima koje je izradio TNO (Research Institute for Road Vehicles - Istraživački institut za cestovna vozila), Schoemakerstraat 97, 2628 VK Delft, Nizozemska.

1.2.

Mogu se koristiti i druge ispitne lutke pod uvjetom:

1.2.1.

da se njihova istovrijednost dokaže nadležnim tijelima, i

1.2.2.

da se njihova uporaba navede u izvješću o ispitivanju kao i u obrascu s izjavom koji je opisan u Prilogu 1. ovom Pravilniku.

Dodatak 1.

OPIS ISPITNIH LUTAKA ZA DOB OD 9 MJESECI TE 3, 6 i 10 GODINA

1.   Općenito

1.1.   Mjere i mase niže opisanih ispitnih lutaka temelje se na antropometrijskim podacima za 50 postotaka djece u dobi od 9 mjeseci, odnosno 3, 6 i 10 godina.

1.2.   Ispitne lutke imaju kostur od metala i poliestera s dijelovima tijela iz lijevanog poliuretana.

1.3.   Shematski prikaz ispitne lutke prikazan je na slici 9.

2.   Konstrukcija

2.1.   Glava

2.1.1.   Glava je izrađena od poliuretana i ojačana metalnim trakama. U unutrašnjosti glave može se mjerna oprema postaviti na poliamidni blok koji se nalazi u težištu glave.

2.2.   Kralježnica

2.2.1.   Vratna kralježnica

2.2.1.1.

Vrat se sastoji od 5 poliuretanskih prstenova koji okružuju jezgru od poliamidnih elemenata. Blok atlas-osi izrađen je od poliamida.

2.2.2.   Lumbalna kralježnica

2.2.2.1.

Pet lumbalnih kralješaka izrađeno je od poliamida.

2.3.   Prsni koš

2.3.1.   Kostur prsnoga koša se sastoji od okvira iz čeličnih cijevi na koji su ugrađeni ručni zglobovi. Kralježnica se sastoji od čeličnog kabela s četiri navojna završetka.

2.3.2.   Kostur je obložen poliuretanom. Mjerna se oprema može smjestiti u šupljinu prsnog koša.

2.4.   Udovi

2.4.1.   Ruke i noge su također izrađene od poliuretana ojačanog metalnim elementima u obliku kvadratnih cijevi, traka i ploča. Koljena i laktovi su opremljeni podesivim zglobovima. Rameni zglob i zglob kuka izvedeni su s namjestivim zglobovima.

2.5.   Zdjelica (pelvis)

2.5.1.   Zdjelica je izrađena od poliestera ojačanog staklenim vlaknima koji je također obložen poliuretanom.

2.5.2.   Oblik gornjeg dijela zdjelice koji je značajan za određivanje osjetljivosti na opterećenje trbuha, izrađen je tako da što točnije oponaša oblik zdjelice djeteta.

2.5.3.   Kukovi se nalaze neposredno ispod zdjelice.

2.6.   Sklop lutke

2.6.1.   Vrat-prsni koš-zdjelica

2.6.1.1.

Leđni kralješci i zdjelica su povezani čelični užetom čija se napetost namješta maticom. Vratni kralješci su postavljeni i namješteni na isti način. Budući da se čelično uže ne smije slobodno pomicati u prsnom košu, ne smije biti moguće namještati napetost leđnih kralješaka sa strane vrata ili obrnuto.

2.6.2.   Glava-vrat

2.6.2.1.

Glava se može ugraditi i namjestiti pomoću vijka i matice kroz blok atlas-osi.

2.6.3.   Trup-udovi

2.6.3.1.

Ruke i noge se pričvršćuju i namještaju na trup pomoću kuglastih zglobova.

2.6.3.2.

Kugle ramenih zglobova su spojene s trupom, a zglobovi nogu s nogama.

3.   Glavne značajke

3.1.   Masa

Tablica 1.

Dio tijela

Masa u kg po dobnim skupinama

9 mjeseci

3 godine

6 godina

10 godina

Glava + vrat

2,20 ± 0,10

2,70 ± 0,10

3,45 ± 0,10

3,60 ± 0,10

Trup

3,40 ± 0,10

5,80 ± 0,15

8,45 ± 0,20

12,30 ± 0,30

Nadlaktica (2x)

0,70 ± 0,05

1,10 ± 0,05

1,85 ± 0,10

2,00 ± 0,10

Podlaktica (2x)

0,45 ± 0,05

0,70 ± 0,05

1,15 ± 0,05

1,60 ± 0,10

Bedro (2x)

1,40 ± 0,05

3,00 ± 0,10

4,10 ± 0,15

7,50 ± 0,15

Koljeno (2x)

0,85 ± 0,05

1,70 ± 0,10

3,00 ± 0,10

5,00 ± 0,15

Ukupno

9,00 ± 0,20

15,00 ± 0,30

22,00 ± 0,50

32,00 ± 0,70

3.2.   Glavne mjere

3.2.1.   Glavne mjere, prikazane na slici 1. iz ovog Priloga, dane su u tablici 2.

Slika 1.

Glavne mjere ispitne lutke

Image

Tablica 2.

Br.

Mjere

Mjere u mm po dobnim skupinama

9 mjeseci

3 godine

6 godina

10 godina

1.

Od zadnje strane stražnjice do prednje strane koljena

195

334

378

456

2.

Od zadnje strane stražnjice do jamica koljena u sjedećem položaju

145

262

312

376

3.

Od težišta do sjedala

180

190

190

200

4.

Opseg prsnog koša

440

510

580

660

5.

Dubina prsnog koša

102

125

135

142

6.

Razmak između lopatica

170

215

250

295

7.

Širina glave

125

137

141

141

8.

Dužina glave

166

174

175

181

9.

Opseg kukova u sjedećem položaju

510

590

668

780

10.

Opseg kukova u stojećem položaju (nije prikazan)

470

550

628

740

11.

Dubina kukova u sjedećem položaju

125

147

168

180

12.

Širina između kukova u sjedećem položaju

166

206

229

255

13.

Širina vrata

60

71

79

89

14.

Od sjedala do lakta

135

153

155

186

15.

Širina ramena

216

249

295

345

16.

Visina očiju u sjedećem položaju

350

460

536

625

17.

Visina u sjedećem položaju

450

560

636

725

18.

Visina ramena u sjedećem položaju

280

335

403

483

19.

Od tabana do jamica koljena u sjedećem položaju

125

205

283

355

20.

Tjelesna visina (nije prikazana)

708

980

1 166

1 376

21.

Visina bedra u sjedećem položaju

70

85

95

106

4.   Namještanje zglobova

4.1.   Općenito

4.1.1.   Da bi sepri uporabi ispitnih lutaka dobilo ponovljive rezultate, bitno je odrediti i namjestiti trenje u raznim zglobovima, napetost u vratnoj i lumbalnoj užadi i krutost trbušnog uloška.

4.2.   Namještanje vratnog užeta

4.2.1.   Trup se s leđnim dijelom položi na vodoravnu ploču.

4.2.2.   Sklop vrata se sastavlja bez glave.

4.2.3.   Zatezna matica se pritegne na bloku atlas-osi.

4.2.4.   Kroz blok prvog i drugog vratnog kralješka stavlja se odgovarajuća motka ili vijak.

4.2.5.   Zatezna matica se otpušta sve dok se blok atlas-osi ne spusti za 10 ± 1 mm pod opterećenjem od 50 N koje djeluje prema dolje na štap ili vijak koji prolaze kroz blok atlas-osi (vidjeti sliku 2.).

Slika 2.

Image

4.3.   Zglob atlas-osi

4.3.1.   Trup se s leđnim dijelom položi na vodoravnu ploču.

4.3.2.   Sastavi se cjelokupni sklop vrata i glave.

4.3.3.   Vijak koji prolazi kroz glavu i blok atlas-osi pritegne se maticom za namještanje dok je glava u vodoravnom položaju.

4.3.4.   Matica za namještanje se otpušta sve dok se glava ne počne pomicati (vidjeti sliku 3.).

Slika 3.

Image

4.4.   Zglob kuka

4.4.1.   Zdjelica se prednjim dijelom stavlja na vodoravnu ploču.

4.4.2.   Ugradi se natkoljenica bez potkoljenice.

4.4.3.   Matica za namještanje se pritegne kad je natkoljenica u vodoravnom položaju.

4.4.4.   Matica za namještanje se otpušta sve dok se natkoljenica ne počne pomicati.

4.4.5.   U početnim fazama zglob kuka treba često provjeravati zbog poteškoća oko „uhodavanja” (vidjeti sliku 4.)

Slika 4.

Image

4.5.   Zglob koljena

4.5.1.   Natkoljenica se postavi u vodoravni položaj.

4.5.2.   Ugradi se potkoljenica.

4.5.3.   Matica za namještanje zgloba koljena se pritegne kad je potkoljenica u vodoravnom položaju.

4.5.4.   Matica za namještanje se otpušta sve dok se potkoljenica ne počne pomicati (vidjeti sliku 5.).

Slika 5.

Image

4.6.   Rameni zglob

4.6.1.   Trup se stavlja uspravno.

4.6.2.   Ugradi se nadlaktica bez podlaktice.

4.6.3.   Matica za namještanje ramena se pritegne s nadlakticom u vodoravnom položaju.

4.6.4.   Matice za namještanje se otpuštaju sve dok se nadlaktica ne počne pomicati (vidjeti sliku 6.)

4.6.5.   U početnim fazama treba ramene zglobove često provjeravati zbog poteškoća oko „uhodavanja”.

Slika 6.

Image

4.7.   Lakat

4.7.1.   Nadlaktica se postavi u vertikalni položaj.

4.7.2.   Ugradi se podlaktica.

4.7.3.   Matica za namještanje lakta se pritegne s podlakticom u vodoravnom položaju.

4.7.4.   Matice za namještanje se otpuštaju sve dok se podlaktica ne počne pomicati (vidjeti sliku 7.).

Slika 7.

Image

4.8.   Lumbalno uže

4.8.1.   Sastavlja se gornji dio trupa, lumbalni kralješci, donji dio trupa, trbušni uložak, uže i opruga.

4.8.2.   Matica za namještanje užeta u donjem dijelu trupa priteže se sve dok se opruga ne stisne na 2/3 duljine u neopterećenom stanju (vidjeti sliku 8.).

Slika 8.

Image

4.9.   Umjeravanje trbušnog uloška

4.9.1.   Općenito

4.9.1.1.

Ispitivanje se obavlja odgovarajućom napravom za rastezanje.

4.9.2.   Trbušni uložak se stavlja na kruti blok iste dužine i širine kao i lumbalni dio kralježnice. Debljina tog bloka je najmanje dvostruko veća od debljine lumbalnog dijela kralješnice (vidjeti sliku 9.).

4.9.3.   Primjenjuje se početno opterećenje od 20 N.

4.9.4.   Potom se primjenjuje trajno opterećenje od 50 N.

4.9.5.   Nakon dvije minute ulegnuće trbušnog uloška treba iznositi:

za ispitnu lutku u dobnoj skupini 9 mjeseci

:

11,5 ± 2,0 mm

3 godine

:

11,5 ± 2,0 mm

6 godina

:

13,0 ± 2,0 mm

10 godina

:

13, ± 2,0 mm

Slika 9.

Image

5.   Mjerni uređaji

5.1.   Općenito

5.1.1.   Postupci umjeravanja i mjerenja moraju se temeljiti na međunarodnoj normi ISO 6487 (1980.).

5.2.   Postavljanje mjerila ubrzanja u prsni koš

Mjerilo ubrzanja se mora se ugraditi u zaštićenu šupljinu prsnoga koša.

5.3.   Utvrđivanje prodora u području trbuha

5.3.1.   Uzorak plastelina se okomito učvrsti tankom ljepljivom vrpcom na prednji dio lumbalne kralješnice.

5.3.2.   Deformacija plastelina još ne znači nužno da je došlo do prodora.

5.3.3.   Uzorci plastelina trebaju biti iste dužine i širine kao i lumbalni dio kralježnice; debljina uzoraka treba biti 25 ± 2 mm.

5.3.4.   Mora se koristiti samo plastelin koji je isporučena zajedno s ispitnim lutkama.

5.3.5.   Tijekom ispitivanja temperatura mase za plastelina treba biti 30 ± 5 °C.

Dodatak 2.

OPIS LUTKE NOVOROĐENČETA

Ispitna se lutka sastoji od glave, trupa, ruku i nogu kao odvojenih jedinica. Trup, ruke i noge su pojedinačni odljevi od sorbotana, presvučeni umjetnom kožom od PVC-a, a kralježnica je od čelične opruge. Glava je od poliuretanske pjene presvučene umjetnom kožom od PVC-a i trajno je pričvršćena za trup. Ispitna lutka je obučena u usko rastezljivo odijelo od mješavine pamuka i poliestera.

Mjere i raspored mase ispitne lutke temelje se na mjerama i masama 50 % novorođenčadi i navedene su u tablicama 1. i 2. i u slici 1.

Tablica 1.

Glavne mjere ispitne lutke „novorođenčeta”

Mjere

mm

A

Trtica-tjeme

345

B

Trtica-taban (s ispruženim nogama)

250

C

Širina glave

105

D

Dubina glave

125

E

Širina ramena

150

F

Širina prsnoga koša

105

G

Dubina prsnoga koša

100

H

Širina bokova

105

I

Težište lutke od tjemena glave

235


Tablica 2.

Raspored mase lutke „novorođenčeta”  (1)

Glava i vrat

0,7 kg

Trup

1,1 kg

Ruke

0,5 kg

Noge

1,1 kg

Ukupna masa

3,4 kg

Slika 1.

Umjeravanje ispitne lutke „novorođenčeta”

Image

1.   ČVRSTOĆA RAMENA

1.1.

Ispitna se lutka leđima položi na vodoravnu površinu i trup se podloži s jedne strane da se spriječi njezino pomicanje (slika 2.).

1.2.

Silom od 150 N djeluje se na bat ravne površine promjera 40 mm u vodoravnom smjeru, koji je okomit na os glava-noge. Os bata treba biti u središtu ramena ispitne lutke u blizini točke A na ramenu (vidjeti sliku 2.). Bočno odstupanje bata od točke prvoga dodira s rukom treba biti između 30 mm i 50 mm.

1.3.

Postupak se ponavlja na drugom ramenu – podloži se druga strana trupa.

2.   KRUTOST NOŽNOG ZGLOBA

2.1.

Ispitna se lutka leđima položi na vodoravnu površinu (slika 3.) i potkoljenice se zavežu zajedno tako da se unutarnje strane koljena dodiruju.

2.2.

Koljena se vertikalno opterete s ravnim batom presjeka 35 mm × 95 mm čija se središnjica nalazi na najvišoj točki koljena.

2.3.

Na bat se djeluje takvom silom tako da se bedra savijaju sve dok čelo bata ne bude 85 mm iznad potporne ploče. Ta sila treba biti između 30 N i 70 N. Treba osigurati da tijekom ispitivanja donji udovi ne dodiruju niti jednu površinu.

3.   TEMPERATURA

Umjeravanje se obavlja pri temperaturi između 15 °C i 30 °C.

Slika 2.

Image

Slika 3.

Image


(1)  Debljina umjetne kože od PVC-a treba biti 1 ± 0,5 mm

– 0

Specifična težina treba biti 0,865 ± 0,1.

Dodatak 3.

OPIS ISPITNE LUTKE ZA DOB DJETETA OD 18 MJESECI

1.   OPĆENITO

1.1.   Mjere i mase lutke temelje se na antropometričkim podacima 50 % djece u dobi od 18 mjeseci.

2.   KONSTRUKCIJA

2.1.   Glava

2.1.1.

Glava se sastoji od polukrute lubanje od plastičnog materijala obložene umjetnom kožom glave. Lubanja ima šupljinu u koju je moguće ugraditi (po izboru) mjernu opremu.

2.2.   Vrat

2.2.1.

Vrat se sastoji od tri dijela:

2.2.2.

stupića pune gume;

2.2.3.

namjestivog zgloba atlas-osi na gornjem dijelu gumenog stupića koji uz prilagodljivo trenje omogućuje okretanje oko poprečne osi;

2.2.4.

nenamjestivog kuglastog zgloba na donjem dijelu vrata.

2.3.   Trup

2.3.1.

Trup se sastoji od plastičnog kostura obloženog presvlakom koja predstavlja mišićno tkivo i kožu. Na prednjoj strani trupa nalazi se šupljina koja se može napuniti pjenom da se dobije pravilna krutost prsnog koša. Na leđnoj strani trupa je šupljina koja omogućuje ugradbu mjerne opreme.

2.4.   Donji dio trupa

2.4.1.

Donji dio trupa ispitne lutke je deformabilan element izveden iz jednoga dijela koji je uvučen između prsnog koša i zdjelice.

2.5.   Lumbalni dio kralješnice

2.5.1.

Lumbalni dio kralješnice se sastoji od gumenog stupa ugrađenog između kostura prsnoga koša i zdjelice. Krutost lumbalnog dijela kralješnice se podešava pomoću metalnog užeta koje prolazi kroz šuplju jezgru gumenog stupa.

2.6.   Zdjelica

2.6.1.

Zdjelica je izrađena od polukrute plastike i oblikovana je kao dječja zdjelica. Obložena je presvlakom koja predstavlja mišićno tkivo i kožu oko zdjelice i stražnjice.

2.7.   Zglob kuka

2.7.1.

Zglobovi kuka se pričvršćuju na donji dio zdjelice. Zglob pomoću kardanskog zgloba omogućuje okretanje oko poprečne osi i oko osi koja je pod pravim kutom na poprečnu os. Trenje oko obje osi je namjestivo.

2.8.   Zglob koljena

2.8.1.

Zglob koljena omogućuje savijanje i istezanje potkoljenice uz namjestivo trenje.

2.9.   Rameni zglob

2.9.1.

Rameni zglob se pričvršćuje na kostur prsnoga koša.

2.10.   Lakatni zglob

2.10.1.

Lakatni zglob omogućuje savijanje i istezanje podlaktice. Zapinjači (‚click-stops’) omogućuju namještanje podlaktice u dva početna položaja.

2.11.   Sastavljanje ispitne lutke

2.11.1.

Uže kralježnice se pričvrsti u lumbalni dio kralježnice.

2.11.2.

Lumbalni dio pričvrsti se na kralježnicu između zdjelice i prsnoga dijela kralježnice.

2.11.3.

Trbušni uložak se učvršćuje između prsnog koša i zdjelice.

2.11.4.

Vrat se pričvrsti na gornji dio prsnoga koša.

2.11.5.

Glava se sa spojnom pločicom pričvrsti na vrh vrata.

2.11.6.

Pričvrste se ruke i noge.

3.   GLAVNE ZNAČAJKE

3.1.   Masa

Tablica 1.

Raspored mase ispitne lutke za dob djeteta od 18 mjeseci

Dio tijela

Težina (kg)

Glava i vrat

2,73

Trup

5,06

Nadlaktica

0,27

Podlaktica

0,25

Natkoljenica

0,61

Potkoljenica

0,48

Ukupna masa

11,01

3.2.   Glavne mjere

3.2.1.

Glavne mjere, na temelju slike 1. iz ovog Priloga (prikazane dolje) navedene su u tablici 2.

Slika 1.

Glavne mjere ispitne lutke za dob djeteta od 18 mjeseci

Image

Tablica 2.

Br.

Dimenzije

Vrijednost (mm)

1

Od stražnje strane stražnjice do prednje strane koljena

239

2

Od stražnje strane stražnjice do jamice koljena, u sjedećem položaju

201

3

Od težišta do površine sjedala

193

4

Opseg prsnoga koša

474

5

Dubina prsnoga koša

113

7

Širina glave

124

8

Dužina glave

160

9

Opseg bokova u sjedećem položaju

510

10

Opseg bokova u stojećem položaju (nije prikazan)

471

11

Dubina kuka u sjedećem položaju

125

12

Širina kuka u sjedećem položaju

174

13

Širina vrata

65

14

Od površine sjedišta do lakta

125

15

Širina ramena

224

17

Visina u sjedećem položaju

495 (1)

18

Visina ramena u sjedećem položaju

305

19

Od tabana do jamice u koljenu u sjedećem položaju

173

20

Visina lutke (nije prikazana)

820 (1)

21

Visina bedra u sjedećem položaju

66

4.   NAMJEŠTANJE ZGLOBOVA

4.1.   Općenito

4.1.1.

Da bi se uporabom ispitnih lutaka dobili ponovljivi rezultati, u različitim zglobovima treba namjestiti trenje, napetost u lumbalnom dijelu kralježnice i krutost trbušnog uloška.

Prije namještanja prema uputama, moraju se provjeriti svi dijelovi da nisu oštećeni.

4.2.   Lumbalni dio kralježnice

4.2.1.

Lumbalni dio kralježnice se umjerava prije ugradnje u lutku.

4.2.2.

Donja pričvrsna ploča lumbalnog dijela kralježnice se pričvršćuje na sklop tako da je prednja strana lumbalnog dijela kralježnice okrenuta prema dolje (vidjeti sliku 2.).

Slika 2.

Image

4.2.3.

Gornja se pričvrsna ploča opterećuje silom od 250 N usmjerenom prema dolje. Pomak prema dolje koji nastaje zbog djelovanja te sile mora se zabilježili između prve i druge sekunde nakon početka djelovanja sile i treba biti između 9 i 12 mm.

4.3.   Donji dio trupa

4.3.1.

Trbušni uložak se pričvrsti na kruti blok iste dužine i širine kao što je stup lumbalnog dijela kralježnice. Debljina tog bloka treba biti najmanje dvostruko deblja od lumbalnog dijela kralježnice (vidjeti sliku 3.).

4.3.2.

Na početku se primjenjuje sila od 20 N.

4.3.3.

Potom se primjenjuje stalna sila od 50 N.

4.3.4.

Nakon dvije minute ulegnuće trbušnog uloška treba iznositi 12 ± 2 mm.

Slika 3.

Image

4.4.   Namještanje vrata

4.4.1.

Cijeli vrat, koji se sastoji od gumenog stupića, kuglastog zgloba i zgloba atlas-osi pričvrsti se na vertikalnu površinu tako da je prednja strana okrenuta prema dolje (vidjeti sliku 4.).

Slika 4.

Image

4.4.2.

Na os zgloba atlas-osi se primjenjuje vertikalna sila od 100 N. Položaj zgloba atlas-osi morao bi se pomaknuti za 22 ± 2 mm prema dolje.

4.5.   Zglob atlas-osi

4.5.1.

Glava i vrat se sastave u cjeloviti sklop.

4.5.2.

Trup se sa leđima položi na vodoravnu površinu.

4.5.3.

Vijak koji prolazi kroz glavu i zglob atlas-osi pritegne se moment ključem sve dok se glava zbog djelovanja sile teže više ne pomiče.

4.6.   Kuk

4.6.1.

Natkoljenica se bez potkoljenice pričvrsti na zdjelicu.

4.6.2.

Natkoljenica se postavi u vodoravni položaj.

4.6.3.

Trenje koje djeluje u poprečnoj osi treba povećavati sve dok se noga više ne pomiče zbog djelovanja sile teže.

4.6.4.

Natkoljenica se postavi u vodoravni položaj u smjeru poprečne osi.

4.6.5.

Na kardanskom se zglobu povećava trenje sve dok se pomicanje natkoljenice uslijed djelovanja sile teže ne zaustavi.

4.7.   Koljeno

4.7.1.

Potkoljenica se pričvršćuje na natkoljenicu.

4.7.2.

Natkoljenica i potkoljenica se postave u vodoravni položaj tako da natkoljenica bude poduprta.

4.7.3.

Matica za namještanje na koljenu se pritegne dok se pomicanje potkoljenice uslijed djelovanja sile teže ne zaustavi.

4.8.   Ramena

4.8.1.

Podlaktica se rastegne, a nadlaktica se postavi u najviši položaj koji omogućava zapinjač.

4.8.2.

Ako ruka ne ostaje u tom položaju, zapinjači u ramenu se moraju popraviti ili zamijeniti.

4.9.   Lakat

4.9.1.

Nadlaktica se namješta u najniži zaporni položaj, a podlaktica u najviši.

4.9.2.

Ako podlaktica ne ostane u tom položaju, zapinjači u laktu moraju se popraviti ili zamijeniti.

5.   MJERNE NAPRAVE

5.1.   Općenito

5.1.1.

Iako je propisano da ispitna lutka za dob djeteta od 18 mjeseci bude opremljena s više mjernih pretvornika, ona je standardno je opremljena zamjenskim uređajima iste veličine i mase

5.1.2.

Postupci umjeravanja i mjerenja temelje se na međunarodnim normama ISO 6487 (1980.).

5.2.   Postavljanje mjerila ubrzanja u prsni koš

5.2.1.

Mjerilo ubrzanja se ugradi u šupljinu prsnoga koša. To se obavlja sa stražnje strane.

5.3.   Prikaz penetracije donjeg dijela trupa

5.3.1.

Nastanak ili nepostojanje prodora u području trbuha mora se utvrditi kamerom za snimanje velikom brzinom.


(1)  Stražnjica, leđa i glava lutke se naslanjaju na vertikalnu površinu


PRILOG 9.

ISPITIVANJE ČELNOG SUDARA SA ZAPREKOM

1.   Naprave, postupak i mjerni instrumenti

1.1.   Poligon za ispitivanje

Ispitno područje treba biti dovoljno velik za postavljanje zaletne staze, zapreke i tehničke opreme potrebne za ispitivanje. Zadnji dio staze, u dužini od najmanje 5 m prije zapreke, mora biti vodoravan, ravan i gladak.

1.2.   Zapreka

Zapreka je blok od armiranog betona koji je sprijeda širok najmanje 3 m i visok najmanje 1,5 m. Debljina zapreke mora biti takva da teži najmanje 70 tona. Prednja strana mora biti vertikalna, okomita na os zaletne staze i prekrivena šperpločama u dobrom stanju debljine 20 ± 1 mm. Zapreka mora biti usidrena u podlogu ili postavljena na podlogu, ako je potrebno, s dodatnim napravama za zaustavljanje radi ograničenja njezinog pomicanja. Može se također upotrijebiti zapreka drugih značajka, ali koja daje barem jednako uvjerljive rezultate.

1.3.   Pogon vozila

U trenutku udara, na vozilo (vozila) ne smije (smiju) više djelovati nikakav (nikakvi) dodatni uređaj (uređaji) za upravljanje odnosno pogon. Vozilo mora doći do zapreke putanjom koji je okomita na udarnu stijenu; najviše dopušteno mimoilaženje vertikalne središnje crte prednjeg dijela vozila i vertikalne središnje crte udarne stijene iznosi ± 30 cm.

1.4.   Stanje vozila

1.4.1.

Vozilo u postupku ispitivanja mora biti opremljeno svim uobičajenim sastavnim dijelovima i opremom koji su sadržani u masi neopterećenoga vozila u voznome stanju, ili mora biti u takvom stanju da ispunjava taj zahtjev u onoj mjeri koliko se to odnosi na sastavne dijelove i opremu u prostoru za putnike i raspodjelu mase potpunog vozila u voznome stanju.

1.4.2.

Ako se vozilo pokreće vanjskim pogonom, sustav za gorivo mora biti napunjen najmanje do 90 % njegova kapaciteta, bilo gorivom ili nezapaljivom tekućinom, gustoće i viskoznosti koje su približne gustoći i viskoznosti goriva koje se uobičajeno koristi. Svi drugi sustavi (posude s tekućinom za kočnice, hladnjak itd.) moraju biti prazni.

1.4.3.

Ako vozilo pokreće vlastiti motor, spremnik za gorivo mora biti napunjena najmanje do 90 % njegova kapaciteta. Svi ostali spremnici za tekućine moraju biti napunjene do njihova kapaciteta.

1.4.4.

Ako proizvođač to zatraži, tehnička služba odgovorna za obavljanje ispitivanja može dopustiti korištenje istog vozila, koje se koristi u ispitivanjima koja su propisana drugim pravilnicima (uključujući ispitivanja koja bi mogla utjecati na njegovu konstrukciju), i za ispitivanja propisana ovim Pravilnikom.

1.5.   Brzina udara

Brzina udara mora biti 50 + 0/-2 km/h. Međutim, ako se ispitivanje obavlja pri većoj udarnoj brzini i vozilo pri tome ispunjava propisane uvjete, ispitivanje se smatra zadovoljavajućim.

1.6.   Mjerni uređaji

Točnost uređaja koji se upotrebljava za bilježenje brzine iz gornjeg stavka 1.5. mora biti unutar 1 %.


PRILOG 10.

POSTUPAK ISPITIVANJA ZA STRAŽNJI SUDAR SA ZAPREKOM

1.   Naprave, postupci i mjerni instrumenti

1.1.   Poligon za ispitivanje

Ispitno područje mora biti dovoljno veliko za smještaj pogonskog sustav udarne naprave, pomak vozila nakon udara i ugradbu opreme potrebne za ispitivanje. Dio na kojem se odvija udar u vozilo i pomak vozila mora biti vodoravan. (Za svaki metar dužine nagib mora biti manji od 3 %).

1.2.   Udarna naprava

1.2.1.

Udarna naprava treba biti kruta konstrukcija izrađena od čelika.

1.2.2.

Udarna je površina ravna, širine najmanje 2 500 mm i visine 800 mm. Njezini rubovi su zaobljeni s polumjerom zakrivljenosti između 40 i 50 mm. Mora biti obložena slojem šperploče debljine 20 ± 1 mm.

1.2.3.

U trenutku udara trebaju biti ispunjeni sljedeći zahtjevi:

1.2.3.1.

udarna površina treba biti vertikalna i okomita na srednju uzdužnu ravninu udarenog vozila;

1.2.3.2.

smjer gibanja udarne naprave treba biti uglavnom vodoravan i usporedan sa središnjom uzdužnom ravninom udarenog vozila;

1.2.3.3.

najveće dopušteno bočno odstupanje između središnje vertikalne crte površine udarne naprave i središnje uzdužne ravnine udarenog vozila treba iznositi 300 mm. Osim toga, udarna površina treba sezati cjelokupnom širinom udarenog vozila;

1.2.3.4.

razmak donjeg ruba udarne površine od tla treba iznositi 175 ± 25 mm.

1.3.   Pogon udarne naprave

Udarna naprava može se ili pričvrstiti na kolica (pokretna zapreka) ili biti dio njihala.

1.4.   Posebni zahtjevi pri uporabi pokretne zapreke

1.4.1.

Ako je udarna naprava pričvršćena za kolica (pokretna zapreka) s posebnim držačem, on mora biti krut i ne smije se deformirati pri udaru; kolica se u trenutku udara moraju slobodno pomicati i ne biti više izložena djelovanju pogonske naprave:

1.4.2.

Ukupna masa kolica i udarne naprave iznosi 1 100 ± 20 kg.

1.5.   Posebni zahtjevi pri uporabi njihala

1.5.1.

Udaljenost između središta udarne površine i osi vrtnje njihala ne smije biti manja od 5 m.

1.5.2.

Udarna je naprava mora biti slobodno ovješena na krute krakove njihala koji su kruto pričvršćeni na nju. Tako izrađeno njihalo mora biti što je više moguće otporno deformaciju pri udaru.

1.5.3.

U njihalo mora biti ugrađena naprava za zaustavljanje kako bi se spriječio svaki naknadni udar udarne naprave u ispitno vozilo.

1.5.4.

U trenutku udara, brzina središta udara njihala treba iznosi između 30 i 32 km/h.

1.5.5.

Reducirana masa „mr” u središtu udara je određena kao funkcija ukupne mase „m”, udaljenosti „a” (1) između središta udara i osi vrtnje, i udaljenosti „l” između težišta i osi vrtnje, prema sljedećoj jednadžbi:

Formula

1.5.6.

Reducirana masa „mr” treba iznositi 1 100 ± 20 kg.

1.6.   Opće odredbe o masi i brzini udarne naprave

Ako je ispitivanje obavljeno pri brzini udara koja je veća od brzine propisane u stavku 1.5.4. i/ili s masom većom od one koja je propisana u stavcima 1.5.3. odnosno 1.5.6., te ako vozilo je zadovoljilo propisanim zahtjevima, ispitivanje se smatra zadovoljavajućim.

1.7.   Stanje vozila tijekom ispitivanja

Vozilo u postupku ispitivanja mora biti opremljeno svim uobičajenim sastavnim dijelovima i opremom koji su sadržani u masi neopterećenoga vozila u voznome stanju, mora biti u takvom stanju da ispunjava taj zahtjev u onoj mjeri koliko se to odnosi na sastavne dijelove i opremu u prostoru za putnike i raspodjelu mase potpunog vozila u voznome stanju.

1.8.   Potpuno vozilo sa sustavom za držanje djeteta, koji je postavljen u skladu s uputama za ugradnju, mora se postaviti na tvrdu, ravnu i vodoravnu površinu, sa otpuštenom ručnom kočnicom i mjenjačem u neutralnom položaju. Tijekom jednog ispitivanja udarom može se ispitati više sustava za držanje djeteta.


(1)  Udaljenost „a” jednaka je dužini njihala koje djeluje kao upotrijebljeno njihalo.


PRILOG 11.

Dodatna sidrišta potrebna za pričvršćivanje sustava za držanje djeteta kategorije poluunivezalni u motorna vozila

1.

Ovaj se Prilog primjenjuje samo na dodatna sidrišta za pričvršćivanje sustava za držanje djeteta kategorije „poluuniverzalni”, odnosno na šipke ili druge posebne dijelove koji se koriste za pričvršćivanje sustava za držanje djeteta na nadogradnju, bez obzira koriste li sidrišta u skladu s Pravilnikom br. 14. ili ne.

2.

Sidrišta mora odrediti proizvođač sustava za držanje djeteta i dostaviti pojedinosti za homologaciju tehničkoj službi koja obavlja homologacijska ispitivanja.

Tehnička služba može uzeti u obzir podatke dobivene od proizvođača vozila.

3.

Proizvođač sustava za držanje djeteta osigurava potrebne dijelove za ugradnju sidrišta i poseban nacrt za svako vozilo s prikazom njihovog točnog položaja.

4.

Proizvođač sustava za držanje djeteta treba navesti jesu li sidrišta potrebna za pričvršćivanje tog sustava na konstrukciju vozila sukladna zahtjevima iz stavka 3. i sljedećim stavcima što se tiče položaja i čvrstoće u preporukama vladama s ciljem da donesu posebne zahtjeve o sidrištima za sustava za držanje djeteta u putničkim vozilima (1).


(1)  Vidjeti tekst Pravilnika br. 16.


PRILOG 12.

Image


PRILOG 13.

NORMIRANI SIGURNOSNI POJAS

1.

Sigurnosni pojas za dinamičko ispitivanje i za zahtjev za najveću dužinu mora biti izrađen prema jednoj od dviju izvedbi koje su prikazane na slici 1. To su pojas na tri točke s uvlačnikom i statički pojas na dvije točke.

2.

Pojas na tri točke s uvlačnikom sastoji se od sljedećih krutih dijelova: uvlačnika (R), zakretne vodilice (P), dvije sidrišne točke (A1 i A2, vidjeti sliku 2.) i središnjeg dijela (C vidjeti sliku 3.). Uvlačnik mora biti sukladan zahtjevima Pravilnika br. 16 u pogledu sile uvlačenja. Promjer kalema uvlačnika iznosi 33 ± 0,5 mm.

3.

Sigurnosni pojas s uvlačnikom mora se pričvrstiti na sidrišta ispitnog sjedala, kako je opisano u dodacima 1. i 4. Prilogu 6. i to na sljedeći način:

 

sidrište sigurnosnog pojasa A1 mora se pričvrstiti na B0 sidrište ispitnih kolica (izvana)

 

sidrište sigurnosnog pojasa A2 mora se pričvrstiti na A sidrište ispitnih kolica (iznutra)

 

zakretne vodilica pojasa P mora se pričvrstiti na C sidrište ispitnih kolica

 

uvlačnik pojasa R mora se pričvrstiti na Re sidrište ispitnih kolica.

Vrijednost X na slici 1. dolje iznosi 200 ± 5 mm. Stvarna dužina remena između A1 i središnje osi kalema uvlačnika Re (kad je remen potpuno izvučen uključujući najmanju dužinu od 150 mm za ispitivanje kategorije „univerzalni” i „poluuniverzalni” iznosi 2 820 ± 5 mm, mjereno po ravnoj crti na jednoj bez opterećenja i na vodoravnoj površini; kod provjere uređaja kategorije „ograničen” ova se dužina može povećati; kod svih kategorija kod ugrađenog sustava za držanje djeteta dužina pojasa na kalemu uvlačnika mora iznositi najmanje 150 mm.

4.

Za remene pojasa vrijede sljedeći zahtjevi:

Materijal: Poliester spinnblack

širina:

48 ± 2 mm pri 10 000 N

debljina:

1,0 ± 0,2 mm

izduženje:

8 ± 2 % pri 10 000 N

5.

Statički pojas na dvije točke, kako je prikazan na slici 1., sastoji se od dvije normirane sidrišne ploče, kako su prikazane na slici 2. i remen koji ispunjava zahtjeve gornjeg stavka 4.

6.

Sidrišne ploče pojasa na dvije točke pričvršćuju se na A i B sidrišta ispitnih kolica. Vrijednost Y na slici 1. iznosi 1 300 ± 5 mm. To je najveća propisana dužina za homologaciju univerzalnih sustava za držanje djeteta s pojasima na dvije točke (vidjeti stavak 6.1.9.).

Slika 1.

Normirani načini postavljanja sigurnosnog pojasa

Image

Slika 2.

Uobičajena normirana sidrišna ploča

Mjere u mm

Image

Slika 3.

Središnji dio normiranog sigurnosnog pojasa

Mjere u mm

Image

Slika 4.

Zakretna vodilica na stupu

Image


PRILOG 14.

HOMOLOGACIJSKA SHEMA (DIJAGRAM TOKA ISO 9002:2000)

Image

Napomene:

(0)

Ili jednakovrijedan standard s dozvoljenim izuzećem zahtjeva povezanih s pojmom konstrukcije i razvoja, točka 7.3. „Zadovoljstvo kupaca i kontinuirano poboljšanje”.

(1)

Ova ispitivanja provodi tehnička služba.

(2)

Obilazak proizvođača radi pregleda i nasumično uzorkovanje od strane nadležnog tijela ili tehničke službe:

(a)

ako ne postoji ISO 9002:2000: dvaput na godinu;

(b)

ako postoji ISO 9002:2000: jedanput na godinu.

(3)

Ispitivanja u skladu s Prilogom 16.:

(a)

ako ne postoji ISO 9002:2000:

i.

od strane nadležnog tijela ili tehničke službe tijekom obilaska iz bilješke 2.a;

ii.

od strane proizvođača između kontrolnih obilazaka iz bilješke 2.a;

(b)

ako postoji ISO 9002:2000: ispitivanja provodi proizvođač; postupak se provjerava tijekom obilaska iz bilješke 2.b.


PRILOG 15.

POJAŠNJENJA

Pojašnjenja iz ovog Priloga odnose se na tumačenje poteškoća vezanih za ovaj Pravilnik. Namijenjena su kao smjernice tehničkim službama koje obavljaju ispitivanja.

Stavak 2.10.1.

Naprava za brzo namještanje može biti i naprava s okretnom osovinom i oprugom sličnom uvlačniku s ručnim otpuštanjem. Ta se naprava za namještanje mora ispitati prema zahtjevima iz stavaka 7.2.2.5. i 7.2.3.1.3.

Stavak 2.19.2.

Poluuniverzalni sustav za držanje određen za ugradnju na stražnjem sjedištu u limuzini i u karavanu, gdje je cijeli sklop pojaseva identičan, smatra se jednim „tipom”.

Stavak 2.19.3.

Pri odlučivanju radi li se o novom tipu, treba uzeti u obzir značaj razlika u mjerama i/ili masi sjedala, oblozi ili štitniku od udara i značajkama apsorpcije energije ili boje materijala.

Stavci 2.19.4. i 2.19.5.

Ovi se stavci ne primjenjuju na sigurnosne pojaseve homologirane posebno u skladu s Pravilnikom br. 16 koji su potrebni za pričvršćenje sustava za držanje djeteta na vozilo ili za držanje djeteta.

Stavak 6.1.2.

Za sustave za držanje djeteta okrenute prema natrag, pravilan se položaj gornjeg dijela sustava za držanje u odnosu na glavu ispitne lutke djeteta osigurava postavljanjem najveće ispitne lutke, za koju je sustav namijenjen, u krajnje nagnut položaj i osiguravajući da vodoravna crta u visini očiju prolazi ispod vrha sjedala.

Stavak 6.1.8.

Zahtjev za 150 mm primjenjuje se i za prijenosne dječje ležaljke, osim ako se ne koristi posebna naprava za povezivanje prijenosne dječje ležaljke i sigurnosnog pojasa.

Stavak 6.2.4.

Granica prihvatljivog pomaka ramenog pojasa je da donji rub ramenog dijela normiranog sigurnosnog pojasa u točki najvećeg pomaka lutke ne smije biti niže od lakta lutke.

Stavak 6.2.9.

Općenito se podrazumijeva da se ovaj stavak primjenjuje i na naprave koje imaju takvu blokirnu napravu iako one nisu propisane za tu skupinu. Tako bi se ispitivanje primijenilo samo na naprave skupine 2, ali s propisanom silom, tj. dvostrukom masom ispitne lutke skupine 1.

Stavak 7.1.3.

Ispitivanje prevrtanja provodi se upotrebljavajući isti postupak ugradbe i iste parametre koji su određeni i za dinamičko ispitivanje.

Stavak 7.1.3.1.

Za vrijeme prevrtanja nije dopušteno zaustavljanje okvira.

Stavak 7.1.4.2.2.

Tekst toga stavka odnosi se na ubrzanja koja nastaju kao vlačno opterećenje u kralježnici lutke.

Stavak 7.1.4.3.1.

Vidljivi znakovi prodora znače prodor u plastelin abdominalnog uloška (pod pritiskom sustava za držanje), ali ne savijanje plastelina bez pritiska u vodoravnom smjeru, što primjerice nastaje prostim savijanjem kralješnice. Vidjeti također tumačenje stavka 6.2.4.

Stavak 7.2.1.5.

Zahtjevi prvoga stavka su ispunjeni ako ruka ispitne lutke može dosegnuti kopču.

Stavak 7.2.2.1.

To se koristi kako hi se omogućilo jednostavno pričvršćivanje zasebno homologiranih vodećih remena.

Stavak 7.2.4.1.1.

Zahtijevaju se dva remena. Izmjeriti prekidno opterećenje prvog remena. Izmjeriti širinu drugog remena pri 75 posto tog opterećenja.

Stavak 7.2.4.4.

Nisi dopušteni dijelovi koji se mogu rastaviti ili izvući i koje bi nestručan korisnik mogao nepravilno ponovno ugraditi, zbog čega bi sklop mogao postati opasan.

Stavak 8.1.2.2.

„Pričvršćeno na sjedalo” znači ispitno sjedalo kako je propisano Prilogom 6. „Posebne naprave smiju” znači da se „posebni” sustav za držanje može ispitati na prevrtanje kad je ugrađen u ispitnom sjedalu, ali da je to ispitivanje dopušteno i u sjedalu vozila.

Stavak 8.2.2.1.1.

Uzimajući u obzir uobičajene uvjete uporabe” znači da se to ispitivanje mora obaviti sa sustavom za držanje postavljenim na ispitno sjedalo ili sjedalo vozila, ali bez ispitne lutke.

Ispitna lutka se mora koristiti samo za postavljanje naprave za namještanje. Prvo je potrebno namjestiti remene u skladu sa stavcima 8.1.3.6.3.2. odnosno 8.1.3.6.3.3. (već prema tome koji je prikladan). Ispitivanje se potom mora obaviti nakon uklanjanja ispitne lutke.

Stavak 8.2.5.2.6.

Ovaj se stavak ne odnosi na vodeće remene koji su odvojeno homologirani prema ovom Pravilniku.


PRILOG 16.

PROVJERA SUKLADNOSTI PROIZVODNJE

1.   Ispitivanja

Kod sustava za držanje djeteta mora se dokazati sukladnost sa zahtjevima na kojima se temelje sljedeća ispitivanja:

1.1.   Provjera početka (granice) blokiranja i trajnosti uvlačnika s blokiranjem u opasnosti

Sukladno odredbama stavka 8.2.4.3. u najnepovoljnijem smjeru, nakon obavljenog ispitivanja trajnosti detaljno opisanog u stavcima 8.2.4.2, 8.2.4.4. i 8.2.4.5. i kako zahtijeva stavak 7.2.3.2.6.

1.2.   Provjera trajnosti uvlačnika s automatskim blokiranjem

U skladu s odredbama stavka 8.2.4.2. koje su dopunjene ispitivanjima iz stavaka 8.2.4.4. i 8.2.4.5. kako zahtijeva stavak 7.2.3.1.3.

1.3.   Ispitivanje čvrstoće remena nakon kondicioniranja

U skladu s postupkom opisanim u stavku 7.2.4.2. nakon kondicioniranja sukladno zahtjevima stavaka 8.2.5.2.1. i 8.2.5.2.5.

1.3.1.   Ispitivanje čvrstoće remena nakon abrazije

U skladu s postupkom opisanim u stavku 7.2.4.2. nakon kodicioniranja sukladno zahtjevima stavka 8.2.5.2.6.

1.4.   Ispitivanje mikroklizanja

U skladu s postupkom opisanim u stavku 8.2.3. ovog Pravilnika.

1.5.   Apsorpcija energije

U skladu s odredbama stavka 7.1.2. ovog Pravilnika.

1.6.   Provjera zahtjeva za djelovanje sustava za držanje djeteta kada je podvrgnut odgovarajućem dinamičkom ispitivanju

Sukladno odredbama stavka 8.1.3. sa svakom kopčom koja je prethodno kondicinirana prema zahtjevima stavka 7.2.1.7. tako da su ispunjeni odgovarajući zahtjevi stavka 7.1.4. (za opće značajke sustava za držanje djeteta) i stavka 7.2.1.8.1. (značajke za svaku kopču pod opterećenjem).

1.7.   Ispitivanje otpornosti na temperaturu

Sukladno odredbama stavka 7.1.5. ovog Pravilnika.

2.   Učestalost ispitivanja i rezultati

2.1.   Učestalost ispitivanja sukladno zahtjevima stavaka 1.1. do 1.5. i 1.7. temelji se na statističkoj provjeri i nasumičnom uzorkovanju u skladu s jednim uobičajenim postupkom za osiguranje kvalitete i mora se provesti barem jedanput godišnje.

2.2.   Za sustave za držanje „univerzalni”, „za ograničenu uporabu” i „poluuniverzalni”, najmanja učestalost provjere sukladnosti dinamičkim ispitivanjem je u skladu sa stavkom 1.6.

U skladu s nadležnim tijelima nositelj homologacije nadzire kontrolu nad sukladnošću primjenjujući postupak nadzora proizvodne serije (stavak 2.2.1.) ili primjenjujući postupak stalne kontrole (stavak 2.2.2.)

2.2.1.   Kontrola proizvodnih serija sustava za držanje djeteta

2.2.1.1.

Nositelj homologacije mora sustave za držanje djeteta razdijeliti u serije koje su što je više moguće jedinstvene u odnosu na sirovinu ili proizvode uključene u njihovu proizvodnju (različita boja kalupa, drukčiji postupak izrade H-pojasa) i u odnosu na uvjete proizvodnje. Brojevi u seriji ne smiju prijeći 5 000 jedinica.

U dogovoru s nadležnim tijelima ispitivanja može provesti tehnička služba ili se provode pod odgovornošću nositelja homologacije.

2.2.1.2.

U svakoj se seriji može uzeti jedan uzorak u skladu s odredbama stavka 2.2.1.4. od minimuma od 20 % količine serije koja treba biti proizvedena u aktualnoj seriji.

2.2.1.3.

Značajke sustava za držanje djeteta i broj dinamičkih ispitivanja koja treba provesti navedeni su u stavku 2.2.1.4.

2.2.1.4.

Da bi bila prihvaćena serija sustava za držanje djeteta mora zadovoljavati sljedeće uvjete:

Broj u seriji

Broj uzoraka/značajke sustava za držanje djeteta

Ukupni broj uzoraka

Kriteriji prihvatljivosti

Kriteriji za odbijanje

Stupanj strogosti kontrole

N < 500

1. = 1MH

1

0

uobičajen

2. = 1MH

2

1

2

500 < N < 5 000

1. = 1MH + 1LH

2

0

2

uobičajen

2. = 1 MH + 1LH

4

1

2

N < 500

1. = 2MH

2

0

2

povećan

2. = 2MH

4

1

2

500 < N < 5 000

1. = 2MH + 2LH

4

0

2

povećan

2. = 2MH + 2LH

8

1

2

MH = označava tvrdu konstrukciju (najslabiji rezultati dobiveni prilikom homologacije ili proširenja homologacije)

LH = označava manje tvrdu konstrukciju (najbolji rezultati dobiveni prilikom homologacije ili proširenja homologacije)

Ovaj plan dvojnog uzorkovanja djeluje kako slijedi:

 

za uobičajenu kontrolu, ako prvi uzorak ne sadrži defektne jedinice serija se prihvaća bez ispitivanja drugog uzorka. Ako sadrži dvije defektne jedinice serija se odbacuje. Konačno, ako sadrži jednu defektnu jedinicu izvlači se drugi uzorak i kumulativni broj je taj koji mora ispuniti uvjet stupca 5 tablice iznad.

 

Postoji promjena sa uobičajene kontrole na pojačanu kontrolu ako su u 5 uzastopnih serija dvije odbijene. Uobičajena kontrola se nastavlja ako je 5 uzastopnih serija prihvaćeno.

 

Ako je bilo koja serija odbijena proizvodnja se smatra nezadovoljavajućom i serija se ne pušta u promet.

 

Ako su odbijene dvije uzastopne serije podvrgnute pojačanoj kontroli primjenjuju se odredbe stavka 13.

2.2.1.5.

Kontrola sukladnosti sustava za držanje djeteta se poduzima počevši sa proizvedenom serijom nakon što je serija bila podvrgnuta provjeri sukladnosti proizvodnje.

2.2.1.6.

Rezultati ispitivanja opisani u stavku 2.2.1.4. ne prelaze L, pri čemu je L granična vrijednost propisana za homologacijsko ispitivanje.

2.2.2.   Kontinuirana kontrola

2.2.2.1.

Nositelj homologacije je obvezan provoditi kontinuiranu kontrolu kvalitete svojeg proizvodnog postupka na statističkoj osnovi i uzorkovanjem. U dogovoru s nadležnim tijelima ispitivanja može provoditi tehnička služba ili se provode pod odgovornošću nositelja homologacije koji je odgovoran za praćenje proizvoda.

2.2.2.2.

Uzorke treba uzeti u skladu s odredbama stavka 2.2.2.4.

2.2.2.3.

Značajka sustava za držanje djeteta se odabere nasumično, a ispitivanja se moraju provesti kako je opisano u stavku 2.2.2.4.

2.2.2.4.

Kontrola mora ispunjavati sljedeće zahtjeve.

Izabrani sustav za držanje djeteta

Stupanj strogosti kontrole

0,02 % znači jedan izabran sustav za držanje djeteta na 5 000 proizvedenih

uobičajen

0,05 % znači jedan izabran sustav za držanje djeteta na 2 000 proizvedenih

povećan

Ovaj plan dvojnog uzorkovanja djeluje kako slijedi:

 

ako se smatra da sustav za držanje djeteta zadovoljava, proizvodnja zadovoljava;

 

ako sustav za držanje djeteta ne ispunjava zahtjeve uzima se drugi sustav za držanje djeteta;

 

ako drugi sustav za držanje djeteta ispunjava zahtjeve, proizvodnja zadovoljava;

 

ako oba (prvi i drugi) sustava za držanje djeteta ne ispunjavaju zahtjeve, proizvodnja ne zadovoljava i sustavi za držanje djeteta koji bi vjerojatno pokazali iste nedostatke se povlače te se poduzimaju potrebne mjere za ponovnu uspostavu sukladnosti proizvodnje.

 

Umjesto normalne kontrole će se obaviti povećana kontrola ako se kod 10 000 uzastopno proizvedenih sustava za držanje djeteta dva proivoda moraju povući iz uporabe.

 

Povećana kontrola se nastavlja ako 10 000 sustava za držanje djeteta proizvedenih uzastopno zadovolje zahtjeve.

 

Ako je proizvodnja koja je podvrgnuta povećanoj kontroli povučena dva uzastopna puta, primjenjuju se odredbe stavka 13.

2.2.2.5.

Kontinuirana kontrola sustava za držanje djeteta poduzima se nakon utvrđivanja sukladnosti proizvodnje.

2.2.2.6.

Rezultati ispitivanja opisani u stavku 2.2.2.4. ne prelaze L, pri čemu je L granična vrijednost propisana za svako homologacijsko ispitivanje.

2.3.   Za ugrađene sustave, specifične za određeno vozilo, primjenjuje se sljedeća učestalost ispitivanja:

Sustavi za držanje djeteta, osim pomoćnog dječjeg sjedišta

:

jednom svakih 8 tjedana

Pomoćna dječja sjedišta

:

jednom svakih 12 tjedana

Pri svakom ispitivanju moraju biti ispunjeni svi zahtjevi iz stavaka 7.1.4. i 7.2.1.8.1. Ako rezultati svih ispitivanja tijekom jedne godine zadovolje, proizvođač u dogovoru s nadležnim tijelom može smanjiti učestalost kako slijedi:

Sustavi za držanje djeteta, osim pomoćnog dječjeg sjedišta

:

jednom svakih 16 tjedana

Pomoćna dječja sjedišta

:

jednom svakih 24 tjedna

Međutim, ako je godišnja proizvodnja sustava za držanje djeteta 1 000 ili manje, dopuštena je najmanja učestalost od jednog ispitivanja godišnje.

2.3.1.   Za sustave specifične za određeno vozilo, u skladu sa stavkom 2.1.2.4.1., proizvođač sustava za držanje djeteta može izabrati postupak provjere sukladnosti proizvodnje prema stavku 2.2., na ispitnom sjedalu, ili prema stavku 2.3., u kabini vozila.

2.3.2.   Kad ispitni uzorak ne zadovolji pojedino ispitivanje kojem je bio podvrgnut, obavlja se daljnje ispitivanje prema istim zahtjevima na najmanje tri druga uzorka. Ako pri dinamičkim ispitivanjima jedan od tih uzoraka ne zadovolji ispitivanje, smatra se da proizvodnja nije u sukladnosti i učestalost se povećava ako je bila primjenjivana rjeđa učestalost u skladu sa stavkom 2.3. i poduzimaju se potrebne mjere za ponovno uspostavljanje sukladnosti proizvodnje.

2.4.   Kada se pokaže da proizvodnja nije u sukladnosti sa stavcima 2.2.1.4., 2.2.2.4. ili 2.3.2. nositelj homologacije ili njegov ovlašteni zastupnik:

2.4.1.

izvješćuju nadležno tijelo koje je izdalo homologaciju i navode mjere koje će biti poduzete za ponovnu uspostavu sukladnosti proizvodnje;

2.5.   Proizvođač mora kvartalno obavještavati nadležno tijelo o količini proizvoda proizvedenih s pojedinim brojem homologacije i navesti način identifikacije proizvoda koji odgovaraju tom broju homologacije.


PRILOG 17.

ISPITIVANJE MATERIJALA ZA APSORPCIJU ENERGIJE

1.   Model glave

1.1.

Model glave se sastoji od pune drvene polukugle s dodanim manjim kuglastim dijelom kako je prikazano na donjoj slici A. Mora biti izrađen tako da može slobodno pasti duž označene osi i da ima mogućnost ugradnje akcelerometra za mjerenje ubrzanja uzduž smjera padanja.

1.2.

Ukupna masa modela glave zajedno s akcelerometrom ubrzanja mora biti 2,75 ± 0,05 kg.

Slika A

Model glave

Image

2.   Mjerna oprema

Tijekom ispitivanja bilježi se ubrzanje s opremom koja odgovara razredu kanalne frekvencije 1 000 kako je određeno u najnovijem izdanju norme ISO 6487.

3.   Postupak

3.1.

Ovo se ispitivanje provodi na potpuno sastavljenom sustavu za držanje djeteta koji se postavlja u područje udara na tvrdu ravnu površinu čije su najmanje mjere 500 × 500 mm, tako da je smjer udara okomit na unutarnju površinu sustava za držanje djeteta u području udara.

3.2.

Model glave se podigne na visinu od 100 -0/+ 5 mm mjereno od gornje površine kompletnog sustavu za držanje djeteta do najniže točke modela glave, koja se potom pusti da padne. Bilježi se ubrzanje koje pri udaru djeluje na model glave.


PRILOG 18.

POSTUPAK ODREĐIVANJA PODRUČJA UDARA GLAVE KOD SUSTAVA ZA DRŽANJE S LEĐNIM NASLONOM I ODREĐIVANJA NAJMANJE VELIČINE BOČNIH DIJELOVA KOD SUSTAVA ZA DRŽANJE OKRENUTIMA PREMA NATRAG

1.

Sustav za držanje se namješta na ispitno sjedalo opisano u Prilogu 6. Sustavi s namjestivim nagibom moraju se postaviti u krajnji uspravni položaj. Najmanja ispitna lutka postavi se u sustav u skladu s uputama proizvođača. Na naslonu se označi točka „A” na istoj vodoravnoj razini kao rame najmanje lutke u točki koja se nalazi 2 cm unutar vanjskog ruba ruke. Sve unutarnje površine iznad vodoravne ravnine koja prolazi kroz točku A moraju sadržavati poseban materijal koji apsorbira energiju i ispitan je u skladu s Prilogom 17. Tim su materijalom obložene unutarnje površine naslona i bočnih dijelova, uključujući unutarnje rubove (područje zakrivljenosti) bočnih dijelova. Materijal koji apsorbira energiju može biti sastavni dio dječjeg sjedala. Kod prijenosnih dječjih ležaljki, donja granica područja na kojem se mora koristiti materijal u skladu s Prilogom 17., mora obuhvatiti sva područja iza ramena manje lutke gledano u smjeru glave, mjereno kad je lutka u prijenosnoj dječjoj ležaljci koja se nalazi na napravi za ispitivanje.

Ako je moguće simetrično namještanje ispitne lutke u prijenosnu dječju ležaljku, sve unutarnje površine moraju biti u skladu s Prilogom 17.

2.

Kod naprava okrenutih prema natrag, dubina bočnih dijelova treba biti najmanje 90 mm mjereno od sredine površine naslona. Bočni dijelovi počinju na visini vodoravne ravnine koja prolazi kroz točku ‚A’ i dopiru do gornjeg ruba naslona. Počevši od točke koja je 90 mm ispod gornjeg dijela naslona sjedala, dubina se bočnog dijela može postupno smanjivati.

3.

Zahtjev iz stavka 2. za najmanju veličinu bočnih dijelova ne primjenjuje se na sustave za držanje djeteta masenih skupina II. i III. u kategoriji za posebno vozilo, koji su namijenjeni korištenju u prostoru za prtljagu sukladno stavku 6.1.2. ovog Pravilnika.


PRILOG 19.

OPIS KONDICIONIRANJA NAPRAVA ZA NAMJEŠTANJE POSTAVLJENIH IZRAVNO NA SUSTAV ZA DRŽANJE DJETETA

Slika 1.

Image

1.   Postupak

1.1.

Remen se postavi u referentni položaj opisan u stavku 8.2.7., izvuče se najmanje 50 mm remena integralnog H-pojasa povlačenjem za slobodni kraj remena.

1.2.

Tako namješten dio integralnog H-pojasa pričvršćuje se na vučnu napravu A.

1.3.

Naprava za namještanje se popusti i izvuče se najmanje 150 mm remena u integralni H-pojas. To odgovara polovini jednog ciklusa i postavlja napravu za povlačenje A u položaj krajnje izvučenog remena.

1.4.

Spojiti slobodni kraj remena na napravu za povlačenje B.

2.   Opis ciklusa

2.1.

Dok A ne zategne na integralni H-pojas, povući B za najmanje 150 mm.

2.2.

Dok B ne zategne pojas na slobodnom kraju remena, potrebno je otpustiti napravu za namještanje i povući A.

2.3.

Nakon završetka tog takta, potrebno je blokirati napravu za namještanje.

2.4.

Ciklus se ponavlja kako je određeno stavkom 7.2.2.7.


PRILOG 20.

UOBIČAJENA NAPRAVA ZA ISPITIVANJE ČVRSTOĆE KOPČE

Image


PRILOG 21.

NAPRAVA ZA DINAMIČKO ISPITIVANJE SUDAROM

Image

1.   Postupak

1.1.   Samo trbušni pojas

Pričvrstiti napravu za mjerenje sile 1 na vanjskoj strani, kako je gore prikazano. Postaviti sustav za držanje djeteta i zategnuti referentni pojas s vanjske strane tako da se na vanjskoj strani postigne opterećenje od 75N ± 5N.

1.2.   Trbušni i dijagonalni pojas

1.2.1.

Pričvrstiti napravu za mjerenje sile 1 na vanjskoj strani, kako je gore prikazano. Postaviti sustav za držanje djeteta u ispravan položaj. Ako je na sustavu za držanje djeteta postavljena blokirna naprava koja djeluje preko dijagonalnog pojasa, napravu za mjerenje sile 2 postaviti u odgovarajući položaj iza sustava za držanje djeteta, između blokirne naprave i kopče, kako je prikazano gore. Ako blokirna naprava nije ugrađena ili je pričvršćena na kopču, naprava za mjerenje sile postavlja se u odgovarajući položaj između zakretne vodilice i sustava za držanje djeteta.

1.2.2.

Trbušni dio referentnog pojasa namjesti se tako da se postigne zatezna sila od 50N ± 5N na napravi za mjerenje sile 1. Kredom se na remenu označi mjesto prolaza remena kroz simuliranu kopču. Zadržavajući pojas u tomu položaju, dijagonalni se pojas namješta tako da se postigne zatezna sila od 50N ± 5N na napravi za mjerenje sile 2, ili zabravljivanjem remena u bravi sustava za držanje djeteta, ili povlačenjem remena u blizini normiranog uvlačnika.

1.2.3.

Sav se remen izvuče s kalema uvlačnika i omogući da zategnutost u pojasu između uvlačnika i zakretne vodilice na stupu padne na zategnutost uvlačnika. Prije dinamičkog ispitivanja kalem se mora blokirati. Obaviti dinamičko ispitivanje sudarom.

1.2.4.

Prije početka namještanja, provjeri se sustav za držanje djeteta radi određivanja njegove sukladnosti s odredbama stavka 6.2.1.3. Ako dođe do promjene napetosti u remenima pri namještanju zbog promijenjenih kutova, potrebno je odrediti uvjete koji daju najlabaviji položaj i potom izvršiti namještanje i zategnuti remene u najtjesniji položaj te postaviti sustav za držanje djeteta u najnepovoljniji položaj bez dotezanja sigurnosnog pojasa za odrasle. Obavlja se dinamičko ispitivanje.

1.3.   Pričvršćenje ISOFIX

Za sustav za držanje djeteta ISOFIX s prilagodljivim sidrištima ISOFIX u usjeku sjedala. Neopterećen sustav za držanje djeteta ISOFIX se namjesti na sidrištima H1-H2 u usjeku sjedala u odgovarajući položaj za ispitivanje. Mehanizam zabravljivanja sustava za držanje djeteta ISOFIX mora potegnuti neopterećen sustav za držanje djeteta ISOFIX prema usjeku sjedala. Na ravninu usporednu s površinom jastuka sjedala ispitne naprave djeluje se s dodatnom silom od 135 ± 15 N da se svlada sila trenja između sustava za držanje djeteta ISOFIX i sjedišta sjedala pomažući samozatežućem učinku mehanizma za zabravljivanje. Silom se djeluje na središnjoj liniji ili jednakomjerno oko nje, sustava za držanje djeteta ISOFIX, i ne više od 100 mm iznad površine sjedišta ispitne klupe. Prema potrebi se namjestiti gornju sigurnosnu uzicu tako da postigne zateznu silu od 50 ± 5 N (1). Postaviti odgovarajuću ispitnu lutku u sustav za držanje djeteta namješten na ovaj način.

Napomena:

1.

Postavljanje sustava za držanje obavlja se nakon postavljanja ispitne lutke u sustav prema stavcima 1.1. i 1.2.

2.

Budući da se nakon postavljanja sustava za držanje djeteta ispitno sjedište iz pjene stisne, dinamičko se ispitivanje mora, ako je moguće, obaviti u roku od 10 minuta nakon postavljanja sustava za držanje. Kako bi ispitno sjedište vratilo u prvobitni oblik, vremenski razmak između dva ispitivanja pri uporabi istog sjedišta mora biti 20 minuta.

3.

Naprave za mjerenje sile, koje su namještene izravno na remen sigurnosnog pojasa, između dva ispitivanja mogu se električno isključiti ali moraju ostati na svom mjestu. Masa svake naprave za mjerenje sile ne smije prelaziti 250 grama. Po izboru se naprava za mjerenje sile na trbušnom pojasu može zamijeniti napravom za mjerenje sile koja je pričvršćena na sidrište.

4.

Kod sustava za držanje djeteta koji su opremljeni napravama za povećanje zategnutosti sigurnosnog pojasa za odrasle primjenjuje se sljedeći postupak ispitivanja:

sustav za držanje djeteta namjesti se prema zahtjevima ovog Priloga i nakon toga upotrijebi zatezna naprava prema uputama proizvođača. Ako se naprava ne može primijeniti zbog prevelike napetosti, smatra se da je naprava neprihvatljiva.

5.

Na sustav za držanje djeteta ne primjenjuje se nikakva dodatna sila osim minimalne potrebne za pravilnu ugradnju kako je određeno u stavcima 1.1. i 1.2.2.

6.

U slučaju prenosive dječje ležaljke ugrađene kako je opisano u stavku 8.1.3.5.6., simulira se veza između sigurnosnog pojasa za odrasle osobe i sustava za držanje djeteta. Kraj sigurnosnog pojasa za odrasle osobe, dug 500 mm (mjereno kako je opisano u Prilogu 13.) se s okovom sidrišta opisanim u Prilogu 13. pričvrsti na predviđeno sidrište. Sustav za držanje djeteta se zatim pričvrsti na slobodni kraj sigurnosnog pojasa za odrasle osobe. Napetost u sigurnosnom pojasu za odrasle osobe, mjera između sidrišne točke i sustava za držanje djeteta, mora biti 50 ± 5 N.


(1)  U slučaju sustava za držanje djeteta s napravama za povećanje zategnutosti gornje sigurnosne uzice, ispitni postupak je sljedeći:

Postaviti sustav za držanje djeteta Isofix kako se zahtijeva u prilogu i zatim primijeniti napravu za zatezanje kako se navodi u uputama proizvođača. Ako se naprava ne može primijeniti zbog prevelike zategnutosti onda se smatra da je ta naprava neprihvatljiva.


PRILOG 22.

ISPITIVANJE BLOKA DONJEG DIJELA TRUPA

Slika 1.:

Skraćeni blok ispitne lutke P10

materijal: EPS (40 do 45 g/l)

Image

Slika 2.:

Vlačno ispitivanje pomoćnog dječjeg sjedišta uporabom bloka ispitne lutke

Image


11/Sv. 059

HR

Službeni list Europske unije

227


32012R0978


L 303/1

SLUŽBENI LIST EUROPSKE UNIJE

25.10.2012.


UREDBA (EU) br. 978/2012 EUROPSKOG PARLAMENTA I VIJEĆA

od 25. listopada 2012.

o primjeni sustava općih carinskih povlastica i stavljanju izvan snage Uredbe Vijeća (EZ) br. 732/2008

EUROPSKI PARLAMENT I VIJEĆE EUROPSKE UNIJE,

uzimajući u obzir Ugovor o funkcioniranju Europske unije, a posebno njegov članak 207.,

uzimajući u obzir prijedlog Europske komisije,

nakon dostave nacrta zakonodavnog akta nacionalnim parlamentima,

u skladu s redovitim zakonodavnim postupkom (1),

Budući da:

(1)

Od 1971. godine Zajednica odobrava trgovinske povlastice zemljama u razvoju u okviru svog sustava općih carinskih povlastica.

(2)

Zajednička trgovinska politika Unije vodi se načelima i slijedi ciljeve iz općih odredaba vanjskog postupanja Unije iz članka 21. Ugovora o Europskoj uniji (UEU).

(3)

Cilj Unije jest definirati i slijediti zajedničku politiku i postupanje radi njegovanja održivog gospodarskog i društvenog razvoja i razvoja zaštite okoliša zemalja u razvoju, s primarnim ciljem suzbijanja siromaštva.

(4)

Zajednička trgovinska politika Unije treba biti dosljedna i objedinjavati ciljeve politike Unije u području razvojne suradnje iz članka 208. Ugovora o funkcioniranju Europske unije (UFEU), a posebno suzbijanja siromaštva i promicanja održivog razvoja i dobrog upravljanja u zemljama u razvoju. To je u skladu sa zahtjevima Svjetske trgovinske organizacije (WTO), a posebno Odlukom o različitom i povoljnijem postupanju, uzajamnosti i potpunijem sudjelovanju zemalja u razvoju („klauzula ovlaštenja”) koja je donesena na temelju Općeg sporazuma o carinama i trgovini (GATT) iz 1979. godine, prema kojoj članice WTO-a mogu odobriti različit i povoljniji tretman zemljama u razvoju.

(5)

Komunikacija Komisije od 7. srpnja 2004. godine pod naslovom „Zemlje u razvoju, međunarodna trgovina i održivi razvoj: uloga općeg sustava povlastica (OSP) Zajednice kroz razdoblje od 10 godina od 2006. do 2015. godine” predviđa smjernice za primjenu sustava općih carinskih povlastica za razdoblje od 2006. do 2015. godine.

(6)

Uredba Vijeća (EZ) br. 732/2008 od 22. srpnja 2008. godine o primjeni sustava općih carinskih povlastica za razdoblje od 1. siječnja 2009. (2), na način kako je produljena Uredbom (EU) br. 512/2011 Europskog parlamenta i Vijeća od 11. svibnja 2011. o izmjeni Uredbe Vijeća (EZ) br. 732/2008 (3), predviđa primjenu sustava općih carinskih povlastica („sustav”) do 31. prosinca 2013. ili do primjene sustava na temelju ove Uredbe, ovisno što nastupi ranije. Nakon toga sustav bi se trebao nastaviti primjenjivati kroz razdoblje od 10 godina od dana primjene povlastica predviđenih ovom Uredbom, osim za posebni dogovor za najnerazvijenije zemlje koji bi se trebao nastaviti primjenjivati bez datuma isteka.

(7)

Osiguranjem povlaštenog pristupa tržištu Unije sustav bi trebao pomoći zemljama u razvoju u njihovim nastojanjima da smanje siromaštvo i promiče dobro upravljanje i održivi razvoj kroz pružanje pomoći u stvaranju dodatnih prihoda kroz međunarodnu trgovinu, koji se zatim mogu ponovno ulagati u korist njihovog vlastitog razvoja i, osim toga, diversifikacije njihovih gospodarstava. Carinske povlastice predviđene sustavom trebale bi se usredotočiti na pomoć zemljama u razvoju koje imaju veće razvojne, trgovinske i financijske potrebe.

(8)

Sustav se sastoji od općeg dogovora i dva posebna dogovora.

(9)

Opći bi se dogovor trebao odobriti svim zemljama u razvoju koje imaju zajedničke razvojne potrebe i u sličnom su stupnju gospodarskog razvoja. Zemlje koje Svjetska banka razvrstava kao zemlje s visokim ili gornjim srednjim dohotkom imaju stupanj dohotka po glavi stanovnika koji im omogućava postizanje većeg stupnja diversifikacije bez carinskih povlastica predviđenih sustavom. Te zemlje imaju gospodarstva koja su uspješno dovršila svoj prijelaz sa središnjeg na tržišno gospodarstvo. One nemaju iste razvojne, trgovačke i financijske potrebe kao ostale zemlje u razvoju; one imaju različiti stupanj gospodarskog razvoja odnosno nisu u sličnom položaju kao najosjetljivije zemlje u razvoju; da bi se spriječila neopravdana diskriminacija, one bi trebale imati drukčiji tretman. Osim toga, korištenje carinskih povlastica predviđenih sustavom od strane zemalja s visokim i gornjim srednjim dohotkom povećava konkurentni pritisak na izvoz iz siromašnijih, osjetljivijih zemalja i stoga bi moglo stvarati neopravdani teret na te ranjivije zemlje u razvoju. Općim dogovorom uzima se u obzir činjenica da razvojne, trgovinske i financijske potrebe podliježu promjenama i osigurava se da dogovor ostane otvoren ako se promijeni situacija u zemlji.

Za potrebe dosljednosti carinske povlastice odobrene na temelju općeg dogovora ne bi se trebale proširivati na zemlje u razvoju koje koriste dogovor o povlaštenom pristupu tržištu s Unijom, a koji predviđa barem istu razinu carinskih povlastica kao sustav za posebno cijelu trgovinu. Da bi zemlja korisnica i gospodarski subjekti imali dovoljno vremena za urednu prilagodbu, opći bi se dogovor trebao nastaviti kroz razdoblje od dvije godine od dana primjene dogovora o povlaštenom pristupu tržištu i ovaj bi datum trebao biti naveden u popisu zemalja korisnica općeg dogovora.

(10)

Trebalo bi se smatrati da zemlje navedene u Prilogu I. Uredbi (EZ) br. 732/2008 i zemlje koje koriste autonomni povlašteni pristup tržištu Unije na temelju Uredbe (EZ) br. 732/2008, Uredbe Vijeća (EZ) br. 55/2008 od 21. siječnja 2008. o uvođenju autonomnih trgovinskih povlastica za Republiku Moldovu (4) i Uredbe Vijeća (EZ) br. 2007/2000 od 18. rujna 2000. o uvođenju izvanrednih trgovinskih mjera za zemlje i državna područja koja sudjeluju ili su povezana s procesom stabilizacije i pridruživanja Europske unije (5) ispunjavaju uvjete za sustav. Ne smatra se da prekomorska područja povezana s Unijom i prekomorske zemlje i područja zemalja koje nisu navedene u Prilogu I. Uredbi (EZ) br. 732/2008 ispunjavaju uvjete za sustav.

(11)

Posebni dogovor o poticajima za održivi razvoj i dobro upravljanje zasniva se na sveobuhvatnom konceptu održivog razvoja koji je priznat međunarodnim konvencijama i instrumentima kao što su Deklaracija o pravu na razvoj Ujedinjenih naroda (UN) iz 1986. godine, Deklaracija o okolišu i razvoju iz Rija iz 1992. godine, Deklaracija o temeljnim načelima i pravima na radu Međunarodne organizacije rada (ILO) iz 1998. godine, Milenijska deklaracija Ujedinjenih naroda iz 2000. godine, i Deklaracija o održivom razvoju iz Johannesburga iz 2002. godine. Posljedično bi trebalo odobriti dodatne carinske povlastice osigurane kroz posebni poticajni dogovor za održivi razvoj i dobro upravljanje zemljama u razvoju koje su zbog nedovoljne raznolikosti i nedostatne uključenosti u međunarodni trgovinski sustav u osjetljivom položaju, da bi im se pomoglo preuzeti posebne terete i odgovornosti koji proizlaze iz potvrđivanja i učinkovite provedbe ključnih međunarodnih konvencija o ljudskim i radnim pravima, zaštiti okoliša i dobrom upravljanju, kao i njihove učinkovite provedbe.

(12)

Povlastice bi trebale biti osmišljene tako da promiču daljnji gospodarski rast i prema tome da budu pozitivan odgovor na potrebu za održivim razvojem. U skladu s posebnim dogovorom o poticajima carina ad valorem iz tog razloga bi trebala biti suspendirana za predmetne zemlje korisnice. Posebne carine bi također trebale biti suspendirane, osim ako postoje u kombinaciji s carinom ad valorem.

(13)

Zemlje koje ispunjavaju kriterije da bi se mogle kvalificirati za posebni dogovor o poticajima za održivi razvoj i dobro upravljanje bi trebale imati mogućnost iskoristiti prednosti dodatnih carinskih povlastica ako, na njihov zahtjev, Komisija utvrdi da su ispunjeni odgovarajući uvjeti. Također bi trebala postojati mogućnost podnošenja zahtjeva od dana stupanja na snagu ove Uredbe. Zemlje koje koriste carinske povlastice predviđene sustavom na temelju Uredbe (EZ) br. 732/2008 bi također trebale podnijeti novi zahtjev.

(14)

Komisija bi trebala nadzirati status potvrđivanja međunarodnih konvencija o ljudskim i radnim pravima, zaštiti okoliša i dobrom upravljanju i njihovu učinkovitu provedbu tako da pregledava zaključke i preporuke nadležnih nadzornih tijela osnovanih na temelju navedenih konvencija (nadležna nadzorna tijela). Svake dvije godine Komisija bi trebala Europskom parlamentu i Vijeću podnijeti izvješće o statusu potvrđivanja odgovarajućih konvencija, poštovanju obveza vezanih za izvješćivanje od strane zemalja korisnica na temelju navedenih konvencija i statusu provedbe konvencija u praksi.

(15)

Za potrebe nadzora i opoziva povlastica neophodna su izvješća nadležnih nadzornih tijela. Međutim, uz izvješća mogu se podnositi i ostali izvori informacija, pod uvjetom da su točni i pouzdani. Ne dovodeći u pitanje ostale izvore, to bi moglo uključivati informacije od civilnog društva, socijalnih partnera, Europskog parlamenta i Vijeća.

(16)

Posebnim dogovorom za najnerazvijenije zemlje trebao bi se nastaviti odobravati bescarinski pristup tržištu Unije za proizvode s podrijetlom u najnerazvijenijim zemljama, na način kako ih priznaju i vode Ujedinjeni narodi, osim za trgovinu oružjem. Za zemlju koju Ujedinjeni narodi više ne vode kao najnerazvijeniju zemlju trebalo bi se utvrditi prijelazno razdoblje s ciljem ublažavanja nepovoljnih učinaka koji proizlaze iz uklanjanja carinskih povlastica odobrenih ovim dogovorom. Carinske povlastice predviđene posebnim dogovorom za najnerazvijenije zemlje trebale bi se nastaviti za one najnerazvijenije zemlje koje koriste neki drugi dogovor o povlaštenom pristupu tržištu s Unijom.

(17)

S ciljem osiguranja dosljednosti s odredbama o pristupu tržištu za šećer u Sporazumima o gospodarskom partnerstvu, za uvoz proizvoda iz tarifnog broja 1701 Zajedničke carinske tarife trebala bi se zahtijevati uvozna dozvola do 30. rujna 2015. godine.

(18)

U odnosu na opći dogovor, trebalo bi zadržati razlikovanje carinskih povlastica za neosjetljive proizvode i carinskih povlastica za osjetljive proizvode, a da bi se uzela u obzir situacija u sektorima za proizvodnju istih proizvoda u Uniji.

(19)

Carine iz Zajedničke carinske tarife za neosjetljive proizvode trebale bi i dalje biti suspendirane, dok bi se carine za osjetljive proizvode trebale smanjiti kako bi se osigurala zadovoljavajuća stopa korištenja, uzimajući u isto vrijeme u obzir situaciju u odgovarajućim industrijama Unije.

(20)

Smanjenje carine trebalo bi biti dovoljno privlačno da motivira trgovce na korištenje pogodnosti sustava. Prema tome, carine ad valorem bi općenito trebale biti smanjene paušalnih 3.5 posto od carine najpovlaštenije nacije, dok bi se carine za tekstil i tekstilnu robu trebale smanjiti za 20 %. Posebne carine trebale bi se smanjiti za 30 %. Kada je utvrđena najmanja carina, takva najmanja carina ne bi se trebala primjenjivati.

(21)

Carine bi se trebale suspendirati u cijelosti kada povlašteni tretman za pojedinačnu uvoznu deklaraciju rezultira u carini ad valorem od 1 % ili manje ili u posebnoj carini 2 EUR ili manje, budući da bi trošak prikupljanja takvih carina mogao biti veći od stečenog prihoda.

(22)

Stupnjevanje bi se trebalo zasnivati na kriterijima koji se odnose na odjeljke i poglavlja Zajedničke carinske tarife. Stupnjevanje bi se trebalo primjenjivati u odnosu na odjeljak ili pododjeljak da bi se smanjio broj slučajeva stupnjevanja heterogenih proizvoda. Stupnjevanje odjeljka ili pododjeljka (sastavljenih od poglavlja) za zemlju korisnicu trebao bi se primjenjivati kada odjeljak zadovoljava kriterije za stupnjevanje kroz tri godine za redom, a s ciljem povećanja predvidljivosti i pravičnosti stupnjevanja kroz suzbijanje utjecaja velikih i iznimnih varijacija u uvoznoj statistici. Stupnjevanje se ne bi trebalo primjenjivati na zemlje korisnice posebnog dogovora o poticajima za održivi razvoj i dobro upravljanje i zemlje korisnice posebnog dogovora za najnerazvijenije zemlje, budući da one dijele vrlo sličan gospodarski profil što ih čini ranjivim zbog niske, neraznolike izvozne osnovice.

(23)

Da bi se osiguralo da je sustav u korist samo onih zemalja koje i trebaju imati koristi, trebale bi se primjenjivati carinske povlastice iz ove Uredbe, kao i pravila o podrijetlu proizvoda, iz Uredbe Komisije (EEZ) br. 2454/93 od 2. srpnja 1994. o izmjeni Uredba Komisije (EEZ) br. 2454/93 o utvrđivanju odredaba za provedbu Uredbe Vijeća (EEZ) br. 2913/92 o Carinskom zakoniku Zajednice (6).

(24)

Razlozi za privremeni opoziv aranžmana na temelju sustava uključuju ozbiljna i sustavna kršenja načela predviđenih određenim međunarodnim konvencijama o ključnim ljudskim pravima i radnim pravima, s ciljem promicanja ciljeva tih konvencija. Carinske povlastice na temelju posebnog dogovora o poticajima za održivi razvoj i dobro upravljanje trebale bi biti privremeno opozvane ako zemlja korisnica ne poštuje svoju obvezu potvrđivanja i učinkovite provedbe tih konvencija ili ne postupa u skladu sa zahtjevima za izvješćivanje predviđenim tim konvencijama, ili ako zemlja korisnica ne surađuje s nadzornim postupcima Unije, kao što je predviđeno ovom Uredbom.

(25)

Uslijed političke situacije u Burmi/Mjanmaru i Bjelarusu trebalo bi zadržati privremeni opoziv svih carinskih povlastica u odnosu na uvoz proizvoda s podrijetlom u Burmi/Mjanmaru ili Bjelarusu.

(26)

S ciljem postizanja ravnoteže između potrebe za boljim određivanjem ciljeva, većom koherentnošću i transparentnošću s jedne strane, i boljeg promicanja održivog razvoja i dobrog upravljanja kroz jednostranog trgovinskog sustava povlastica s druge, ovlast da se donose akti u skladu s člankom 290. UFEU-a trebala bi biti delegirana Komisiji u odnosu na izmjene prilogâ ovoj Uredbi i privremene opozive carinskih povlastica zbog propusta da se postupa u skladu s načelima održivog razvoja i dobrog upravljanja, kao i procesna pravila o podnošenju zahtjeva za carinske povlastice koje se odobravaju na temelju posebnog dogovora o poticajima za održivi razvoj i dobro upravljanje, provođenju privremenog opoziva i zaštitnih istraga da bi nastali ravnomjerni i iscrpni tehnički dogovori. Posebno je važno da Komisija obavi odgovarajuća savjetovanja tijekom pripremnog dijela posla, također i na stručnoj razini. Komisija u pripremi i sastavljanju delegiranih akata trebala bi osigurati istovremeni, pravovremeni i odgovarajući prijenos relevantnih dokumenata Europskom parlamentu i Vijeću.

(27)

Da bi se osigurao stabilan okvir za gospodarske subjekte, ovlast za donošenje akta u skladu s člankom 290. UFEU trebala bi biti delegirana Komisiji u odnosu na stavljanje izvan snage odluke o privremenom opozivu na temelju žurnog postupka prije stupanja na snagu odluke o privremenom opozivu carinskih povlastica, pod uvjetom da više ne postoje razlozi koji opravdavaju privremeni opoziv.

(28)

Da bi se osigurali jedinstveni uvjeti za provedbu ove Uredbe, provedbene bi ovlasti trebale biti dodijeljene Komisiji. Te bi ovlasti trebalo izvršavati u skladu s Uredbom (EU) br. 182/2011 Europskog parlamenta i Vijeća od 16. veljače 2011. o utvrđivanju pravila i općih načela koja se odnose na mehanizme kojima države članice kontroliraju izvršavanje provedbenih ovlasti Komisije (7).

(29)

Savjetodavni postupak trebao bi se koristiti za donošenje provedbenih akata o suspenziji carinskih povlastica u odnosu na određene odjeljke OSP-a za zemlje korisnice i pokretanje privremenog postupka o opozivu, uzimajući u obzir prirodu i utjecaj odnosnih akata.

(30)

Postupak ispitivanja trebao bi se koristiti za donošenje provedbenih akata o zaštitnim istragama i suspenziji povlaštenih dogovora kada uvoz može uzrokovati ozbiljno ometanja tržišta Unije.

(31)

Da bi se osigurao integritet i uredno funkcioniranje sustava, Komisija bi trebala donijeti neposredno primjenjive provedbene akte kada je to nužno potrebno u uredno opravdanim slučajevima u vezi privremenog opoziva zbog nepoštovanja carinskih postupaka i obveza.

(32)

Da bi se osigurao stabilan okvir za gospodarske subjekte, nakon zatvaranja maksimalnog razdoblja od šest mjeseci, Komisija bi trebala donijeti neposredno primjenjive provedbene akte kada je to neophodno, u uredno opravdanim slučajevima u odnosu na prestanak ili produženje privremenih opoziva zbog nepoštovanja carinskih postupaka i obveza, zbog žurnosti.

(33)

Komisija bi također trebala donijeti neposredno primjenjive provedbene akte kada je to neophodno, u uredno opravdanim slučajevima u odnosu na zaštitne istrage, zbog žurnosti u odnosu na opadanje gospodarskog i/ili financijskog položaja proizvođača iz Unije koji bi bilo teško popraviti.

(34)

Komisija bi trebala redovito izvješćivati Europski parlament i Vijeće o učincima sustava na temelju ove Uredbe. Pet godina nakon stupanja na snagu, Komisija bi trebala izvijestiti Europski parlament i Vijeće o primjeni ove Uredbe i ocijeniti potrebu da se pregleda sustav, što uključuje posebni dogovor o poticajima za održivi razvoj i dobro upravljanje i odredbe o privremenom opozivu, uzimajući u obzir borbu protiv terorizma i područje međunarodnih standarda o transparentnosti i razmjeni informacija u poreznim pitanjima. U smislu izvješćivanja Komisija bi također trebala uzeti u obzir implikacije za razvoj, trgovinu i financijske potrebe korisnika. Izvješće bi također trebalo uključivati detaljnu analizu utjecaja ove Uredbe na trgovinu i carinske prihode Unije, uz poseban osvrt na utjecaj na zemlje korisnice. Kada je to primjenjivo također je potrebno ocijeniti poštovanje sanitarnih i fitosanitarnih propisa Unije. Izvješće bi također trebalo sadržavati analizu utjecaja sustava na uvoz biogoriva i aspekte održivosti.

(35)

Uredbu (EZ) br. 732/2008 stoga bi trebalo staviti izvan snage,

DONIJELI SU OVU UREDBU:

POGLAVLJE I.

OPĆE ODREDBE

Članak 1.

1.   Sustav općih carinskih povlastica („sustav”) primjenjuje se u skladu s ovom Uredbom.

2.   Ova Uredba predviđa sljedeće carinske povlastice u sklopu sustava:

(a)

opći dogovor;

(b)

poseban dogovor o poticajima za održivi razvoj i dobro upravljanje (OSP+); i

(c)

poseban dogovor za najnerazvijenije zemlje (Everything But Arms (EBA)).

Članak 2.

Za potrebe ove Uredbe:

(a)

„OSP” znači Opći sustav o povlasticama kojim Unija osigurava povlašteni pristup svojem tržištu kroz neki od povlaštenih dogovora iz članka 1. stavka 2.;

(b)

„zemlje” znači zemlje i državna područja s carinskom upravom;

(c)

„zemlje koje ispunjavaju uvjete” znači sve zemlje u razvoju navedene u Prilogu I.;

(d)

„zemlje korisnice OSP-a” znači zemlje korisnice općih dogovora iz Priloga II.;

(e)

„zemlje korisnice OSP+” znači zemlje korisnice posebnog dogovora o poticajima za održivi razvoj i dobro upravljanje iz Priloga III.;

(f)

„zemlje korisnice EBA” znači zemlje korisnice posebnog dogovora za najnerazvijenije zemlje iz Priloga IV.;

(g)

„carine iz Zajedničke carinske tarife” znači carine utvrđene u drugom dijelu Priloga I. Uredbi Vijeća (EEZ) br. 2658/87 od 23. srpnja 1987. o tarifnoj i statističkoj nomenklaturi i o Zajedničkoj carinskoj tarifi (8), osim carina nastalih u okviru carinskih kvota;

(h)

„odjeljak” znači bilo koji odjeljak Zajedničke carinske tarife na način predviđen Uredbom (EEZ) br. 2658/87.;

(i)

„poglavlje” znači bilo koje poglavlje Zajedničke carinske tarife na način predviđen Uredbom (EEZ) br. 2658/87.

(j)

„odjeljak OSP-a” znači odjeljak iz Priloga V. koji je nastao na temelju odjeljaka i poglavlja Zajedničke carinske tarife;

(k)

„dogovor o povlaštenom pristupu tržištu” znači povlašteni pristup tržištu Unije kroz trgovinski sporazum koji se primjenjuje privremeno ili je na snazi, ili kroz autonomne povlastice koje odobrava Unija;

(l)

„učinkovita provedba” znači cjelovita provedba svih obveza preuzetih međunarodnim konvencijama iz Priloga VIII., čime se osigurava ispunjavanje svih načela, ciljeva i tamo zajamčenih prava.

Članak 3.

1.   Popis zemalja koje ispunjavaju uvjete nalazi se u Prilogu I.

2.   Komisija je ovlaštena donositi delegirane akte u skladu s člankom 36. radi izmjene Priloga V. da bi se uzele u obzir promjene u međunarodnom statusu ili klasifikaciji zemalja.

3.   Komisija je dužna obavijestiti zemlju koja ispunjava uvjete o odgovarajućim promjenama svojeg statusa na temelju ovog sustava.

POGLAVLJE II.

OPĆI DOGOVOR

Članak 4.

1.   Zemlja koja ispunjava uvjete će koristiti carinske povlastice osigurane na temelju općeg dogovora iz članka 1. stavka 2. točke (a), osim ako:

(a)

Svjetska banka razvrstala ju je kao zemlju s visokim ili visokim srednjim dohotkom kroz razdoblje od tri uzastopne godine koje neposredno prethodi ažuriranju popisa zemalja korisnica; ili

(b)

ona koristi dogovor o povlaštenom pristupu tržištu koji osigurava iste carinske povlastice kao sustav, ili povoljnije, za posebno cijelu trgovinu.

2.   Točke (a) i (b) stavka 1. ne primjenjuju se na najnerazvijenije zemlje.

3.   Ne dovodeći u pitanje točku (b) stavka 1., točka (a) stavka 1. ne primjenjuje se do 21. studenoga 2014. godine na zemlje koje su do 20. studenoga 2012. parafirale dvostrani sporazum o povlaštenom pristupu tržištu s Unijom, a koji predviđa iste carinske povlastice kao sustav, ili povoljnije, za posebno cijelu trgovinu, ali koji se još uvijek ne primjenjuje.

Članak 5.

1.   Popis zemalja korisnica OSP-a koje ispunjavaju uvjete iz članka 4. nalazi se u Prilogu II.

2.   Do 1. siječnja svake godine koja slijedi nakon stupanja na snagu ove Uredbe Komisija pregledava Prilog II. Da bi se za zemlje korisnice OSP-a i gospodarske subjekte osigurao vremenski rok za urednu prilagodbu promjenama u statusu zemlje na temelju sustava:

(a)

odluka o uklanjanju zemlje korisnice s popisa zemalja korisnica OSP-a, u skladu sa stavkom 3. ovog članka i na temelju točke (a) članka 4. stavka 1., primjenjuje se nakon godine dana od dana stupanja na snagu odnosne odluke;

(b)

odluka o uklanjanju zemlje korisnice s popisa zemalja korisnica OSP-a, u skladu sa stavkom 3. ovog članka i na temelju točke (b) članka 4. stavka 1., primjenjuje se nakon dvije godine od dana zahtjeva za dogovor o povlaštenom pristupu tržištu.

3.   Za potrebe stavaka 1. i 2. ovog članka Komisija je ovlaštena donijeti delegirane akte u skladu s člankom 36. radi izmjene Priloga II. na temelju kriterija iz članka 4.

4.   Komisija je dužna obavijestiti zemlju korisnicu OSP-a koja ispunjava uvjete o promjenama svojeg statusa na temelju ovog sustava.

Članak 6.

1.   Proizvodi uključeni u opći dogovor iz članka 1. stavka 2. točke (a) navedeni su u Prilogu V.

2.   Komisija je ovlaštena donositi delegirane akte u skladu s člankom 36. radi izmjene Priloga V. da bi se uključile promjene potrebne zbog izmjena Kombinirane nomenklature.

Članak 7.

1.   Carine iz Zajedničke carinske tarife na proizvode koji su u Prilogu V. navedeni kao neosjetljivi proizvodi suspendiraju se u cijelosti, osim za poljoprivredne komponente.

2.   Carine ad valorem iz Zajedničke carinske tarife na proizvode koji su u Prilogu V. navedeni kao osjetljivi proizvodi smanjuju se za 3.5 posto. Za proizvode iz odjeljaka OSP-a S-11.a i S-11.b Priloga V., ovo smanjenje iznosi 20 %.

3.   Kada povlaštene carinske stope izračunate u skladu s člankom 6. Uredbe (EZ) br. 732/2008 na carinu ad valorem iz Zajedničke carinske tarife primjenjive na dan stupanja na snagu ove Uredbe predviđaju smanjenje carine za više od 3.5 posto za proizvode iz stavka 2. ovog članka, primjenjivat će se odnosne povlaštene carinske stope.

4.   Posebne carine iz Zajedničke carinske tarife, osim najmanjih ili najvećih carina, na proizvode koji su u Prilogu V. navedeni kao osjetljivi proizvodi smanjuju se za 30 %.

5.   Kada carine iz Zajedničke carinske tarife na proizvode koji su u Prilogu V. navedeni kao osjetljivi proizvodi uključuju carine ad valorem i posebne carine, posebne carine se ne smanjuju.

6.   Kada je carinama smanjenim u skladu sa stavcima 2. i 4. predviđena najveća carina, najveća carina se ne smanjuje. Kada je tim carinama predviđena najmanja carina, najmanja carina se ne primjenjuje.

Članak 8.

1.   Carinske povlastice iz članka 7. suspendiraju se u odnosu na proizvode iz odjeljka OSP-a s podrijetlom u zemlji korisnici OSP-a kada prosječna vrijednost uvoza Unije takvih proizvoda kroz tri uzastopne godine iz zemlje korisnice OSP-a premašuje pragove iz Priloga VI. Pragovi se izračunavaju kao postotak ukupne vrijednosti uvoza Unije istih proizvoda iz svih zemalja korisnica OSP-a.

2.   Prije primjene carinskih povlastica iz ove Uredbe, Komisija donosi provedbeni akt kojim u skladu s savjetodavnim postupkom iz članka 39. stavka 2. nastaje popis odjeljaka OSP-a za koje se carinske povlastice iz članka 7. suspendiraju u odnosu na zemlju korisnicu OSP-a Provedbeni akt primjenjuje se od 1. siječnja 2014.

3.   Komisija svake tri godine pregledava popis iz stavka 2. ovog članka i donosi provedbeni akt u skladu s savjetodavnim postupkom iz članka 39. stavka 2., a radi suspenzije ili ponovnog uvođenja carinskih povlastica iz članka 7. Provedbeni akt primjenjuje se od 1. siječnja godine koja slijedi nakon njegovog stupanja na snagu.

4.   Popis iz stavaka 2. i 3. ovog članka nastaje na temelju podataka raspoloživih na dan 1. rujan godine u kojoj je proveden pregled i dvije godine koje prethode preglednoj godini. Popisom se uzima u obzir uvoz iz zemalja korisnica OSP-a iz Priloga II. na način na koji se primjenjuje u tom trenutku. Međutim, vrijednost uvoza iz zemalja korisnica OSP-a koje nakon datuma primjene suspenzije više ne koriste carinske povlastice iz točke (b) članka 4. stavka 1. ne uzima se u obzir.

5.   Komisija obavješćuje odnosnu zemlju o provedbenom aktu donesenom u skladu sa stavcima 2. i 3.

6.   Kada se Prilog II. mijenja u skladu s kriterijima iz članka 4., Komisija se ovlašćuje donijeti delegirane akte u skladu s člankom 36. radi izmjene Priloga VI. da bi se prilagodili načini navedeni u tom Prilogu radi ravnomjernog održavanja iste težine stupnjevanih odjeljaka proizvoda na način kako su definirani u stavku 1. ovog članka.

POGLAVLJE III.

POSEBAN DOGOVOR O POTICAJIMA ZA ODRŽIVI RAZVOJ I DOBRO UPRAVLJANJE

Članak 9.

1.   Zemlja korisnica OSP-a može koristiti carinske povlastice predviđene posebnim dogovorom o poticajima za održivi razvoj i dobro upravljanje iz točke (b) članka 1. stavka 2. ako:

(a)

smatra se da je ranjiva zbog nepostojanja raznolikosti i nedovoljne integracije unutar međunarodnog trgovinskog sustava, na način kako je definirano Prilogom VII.;

(b)

potvrdila je sve konvencije iz Priloga VIII. („odgovarajuće konvencije”) te najnoviji raspoloživi zaključci nadzornih tijela na temelju tih konvencija („nadležna nadzorna tijela”) ne navode ozbiljan propust da se učinkovito provodi bilo koja od tih konvencija;

(c)

u odnosu na bilo koju od odgovarajućih konvencija, nije izjavila rezervu koja je zabranjena bilo kojom od tih konvencija ili koja se za potrebe ovog članka smatra nespojivom s ciljem i svrhom odnosne konvencije.

Za potrebe ovog članka, rezerve se ne smatraju nespojivim s ciljem i svrhom konvencije, osim ako:

i.

tako je utvrđeno procesom izričito osmišljenim za tu svrhu na temelju konvencije; ili

ii.

u nepostojanju takvog procesa, Unija kao stranka konvencije i/ili kvalificirana većina država članica koje su stranka konvencije, u skladu s odgovarajućim nadležnostima utvrđenim Ugovorima, prigovorili su na rezervu s osnova da je nespojiva s ciljem i svrhom konvencije i suprotstavili su se stupanju na snagu konvencije između njih i države koja je izrazila rezervu u skladu s odredbama Bečke konvencije o pravu ugovora;

(d)

preuzme obvezu potvrđivanja odgovarajućih konvencija i osiguranja njihove učinkovite provedbe;

(e)

prihvati bez rezerve zahtjeve za izvješćivanje predviđene konvencijom i preuzme obvezu da će prihvatiti redovan nadzor i pregled provedbenog postupka u skladu s odredbama odgovarajućih konvencija; i

(f)

preuzme obvezu da će sudjelovati i surađivati s nadzornim postupkom iz članka 13.

2.   U slučaju izmjena Priloga II., Komisija je ovlaštena donijeti delegirane akte u skladu s člankom 36. radi izmjene Priloga VII. da bi se ispitao prag osjetljivosti iz točke 1. podtočke (b) Priloga VII., tako da se proporcionalno održi ista težina praga osjetljivosti koja je izračunata u skladu s Prilogom VII.

Članak 10.

1.   poseban dogovor o poticajima za održivi razvoj i dobro upravljanje odobrava se ako su ispunjeni sljedeći uvjeti:

(a)

zemlja korisnica OSP-a podnijela je zahtjev u tom smislu; i

(b)

ispitivanjem zahtjeva utvrđeno je da zemlja podnositeljica zahtjeva ispunjava uvjete iz članka 9. stavka 1.

2.   Zemlja podnositeljica podnosi svoj zahtjev Komisiji pismenim putem. Zahtjev sadrži potpune informacije o potvrđivanju odgovarajućih konvencija i uključuje obveze iz točaka (d), (e) i (f) članka 9. stavka 1.

3.   Nakon primitka zahtjeva, Komisija o tome obavješćuje Europski parlament i Vijeće.

4.   Nakon pregleda zahtjeva, Komisija je ovlaštena donijeti delegirane akte u skladu s člankom 36. radi sastavljanja ili izmjene Priloga III. da bi se zemlji podnositeljici zahtjeva odobrio poseban dogovor o poticajima za održivi razvoj i dobro upravljanje uključivanjem te zemlje na popis zemalja korisnica OSP +.

5.   Kada zemlja korisnica OSP+ više ne ispunjava uvjete iz točaka (a) ili (c) članka 9. stavka 1. ili povuče svoje obveze iz točaka (d), (e) i (f) članka 9. stavka 1., Komisija je ovlaštena donijeti delegirani akt u skladu s člankom 36. radi izmjene Priloga III. da bi se ta zemlja uklonila s popisa zemalja korisnica OSP+.

6.   Komisija je dužna obavijestiti zemlju podnositeljicu zahtjeva o odluci donesenoj u skladu sa stavcima 4. i 5. ovog članka nakon što Prilog III. bude izmijenjen i objavljen u Službenom listu Europske unije. Kada zemlja podnositeljica dobije poseban dogovor o poticajima dobiva obavijest o datumu stupanja na snagu odgovarajućeg delegiranog akta.

7.   Komisija je ovlaštena donositi delegirane akte u skladu s člankom 36. radi donošenja pravila vezanih za postupak odobrenja posebnog dogovora o poticajima za održivi razvoj i dobro upravljanje posebno u odnosu na rokove i podnošenje i obradu zahtjeva.

Članak 11.

1.   Proizvodi uključeni u poseban dogovor o poticajima za održivi razvoj i dobro upravljanje navedeni su u Prilogu IX.

2.   Komisija je ovlaštena donositi delegirane akte u skladu s člankom 36. radi izmjene Priloga IX. da bi se uzele u obzir izmjene Kombinirane nomenklature koje utječu na proizvode navedene u tom Prilogu.

Članak 12.

1.   Suspendira se carina ad valorem iz Zajedničke carinske tarife na sve proizvode iz Priloga IX. s podrijetlom u zemlji korisnici OSP+.

2.   Posebne carine iz Zajedničke carinske tarife na proizvode iz stavka 1. suspendiraju se u cijelosti, osim za proizvode za koje Zajednička carinska tarifa uključuje carine ad valorem. Za proizvode s oznakom Kombinirane nomenklature 1704 10 90, posebna carina ograničena je na 16 % carinske vrijednosti.

Članak 13.

1.   Od datuma odobrenja carinskih povlastica predviđenih posebnim dogovorom o poticajima za održivi razvoj i dobro upravljanje, Komisija će pregledavati status potvrđivanja odgovarajućih konvencija i nadzirati njihovu učinkovitu provedbu, kao i suradnju s nadležnim nadzornim tijelima tako da pregledava zaključke i preporuke tih nadzornih tijela.

2.   U ovom kontekstu zemlja korisnica OSP+ surađivat će s Komisijom i osigurati sve potrebne informacije za ocjenu poštovanja obveza iz točaka (d), (e) i (f) članka 9. stavka 1. i njezine situacije u odnosu na točku (c) članka 9. stavka 1.

Članak 14.

1.   Do 1. siječnja 2016. godine i svake dvije godine nakon toga Komisija Europskom parlamentu i Vijeću podnosi izvješće o statusu potvrđivanja odgovarajućih konvencija, poštovanju obveza vezanih za izvješćivanje od strane zemalja korisnica OSP + na temelju navedenih konvencija i statusu učinkovite provedbe konvencija.

2.   Izvješće obuhvaća:

(a)

zaključke ili preporuke nadležnih nadzornih tijela u odnosu na svaku zemlju korisnicu OSP+; i

(b)

zaključke Komisije o tome da li svaka zemlja korisnica OSP+ poštuje svoje obveze za postupanje u skladu sa svojim obvezama, surađuje s nadležnim nadzornim tijelima u skladu s odgovarajućim konvencijama i osigurava njihovu učinkovitu provedbu.

Izvješće može uključivati informacije koje Komisija smatra potrebnim.

3.   Pri donošenju zaključaka o učinkovitoj provedbi odgovarajućih konvencija, Komisija ocjenjuje zaključke i preporuke nadležnih nadzornih tijela te, ne dovodeći u pitanje ostale izvore, informacije koje su podnijele treće osobe, a što uključuje civilno društvo, socijalne partnere, Europski parlament ili Vijeće.

Članak 15.

1.   Poseban dogovor o poticajima za održivi razvoj i dobro upravljanje privremeno se opoziva u odnosu na sve ili određene proizvode s podrijetlom u zemlji korisnici OSP+ kada u praksi ta zemlja ne poštuje svoje obveze iz točaka (d), (e) i (f) članka 9. stavka 1. ili je zemlja korisnica OSP + formulirala rezervu koja je zabranjena odgovarajućim konvencijama ili koja nije spojiva s ciljem i svrhom konvencije na način kako je predviđeno točkom (c) članka 9. stavka 1.

2.   Teret dokaza za poštovanje obveza iz članka 9. stavka 1. točaka (d), (e) i (f) i njezine situacije iz članka 9. stavka 1. točke (c) jest na zemlji korisnici OSP+.

3.   Kada na temelju zaključaka iz izvješća iz članka 14. ili na temelju raspoloživih dokaza Komisija s razlogom sumnja da određena zemlja korisnica OSP+ ne poštuje svoje obveze iz iz članka 9. stavka 1. točaka (d), (e) i (f) ili je izjavila rezervu koja je zabranjena bilo kojom odgovarajućom konvencijom ili koja nije spojiva s ciljem i svrhom konvencije na način kako je predviđeno članka 9. stavka 1. točkom (c) ona u skladu sa savjetodavnim postupkom iz članka 39. stavka 2. donosi provedbeni akt za pokretanje postupka za privremeni opoziv carinskih povlastica predviđenih posebnim dogovorom o poticajima za održivi razvoj i dobro upravljanje. Komisija Europski parlament i Vijeće obavješćuje o sljedećem.

4.   Komisija u Službenom listu Europske unije objavljuje obavijest i obavješćuje odnosnu zemlju korisnicu OSP + o tome. Obavijest će:

(a)

navoditi razloge za osnovanu sumnju u ispunjenje obveza koje je preuzela zemlja korisnica OSP + u skladu s člankom 9. stavkom 1. točkama (d), (e) i (f) ili u postojanje rezerve koja je zabranjena odgovarajućim konvencijama ili nije spojiva s ciljem i svrhom konvencije na način kako je predviđeno člankom 9. stavkom 1., točkom (c) što može dovesti u pitanje pravo na nastavak uživanja carinskih povlastica predviđenih posebnim dogovorom o poticajima za održivi razvoj i dobro upravljanje; i

(b)

odrediti razdoblje, koje ne smije biti dulje od šest mjeseci od dana objave obavijesti, unutar kojeg zemlja korisnica OSP + podnosi svoje primjedbe.

5.   Komisija osigurava zemlji korisnici svaku priliku za suradnju kroz razdoblje iz točke (b) stavka 4.

6.   Komisija traži sve informacije koje smatra potrebnim, a što uključuje, između ostalog, zaključke i preporuke odgovarajućih nadzornih tijela. Kod izrade zaključaka, Komisija ocjenjuje sve odgovarajuće informacije.

7.   U roku od tri mjeseca od isteka razdoblja navedenog u obavijesti, Komisija odlučuje sljedeće:

(a)

prekinuti postupak privremenog opoziva; ili

(b)

privremeno opozvati carinske povlastice predviđene posebnim dogovorom o poticajima za održivi razvoj i dobro upravljanje.

8.   Kada Komisija smatra da njezina saznanja ne opravdavaju privremeni opoziv ona donosi provedbeni akt o prekidu postupka privremenog opoziva u skladu sa savjetodavnim postupkom iz članka 39. stavka 2. Provedbeni akt zasniva se između ostalog na primljenim dokazima.

9.   Kada Komisija smatra da saznanja opravdavaju privremeni opoziv zbog navedenih u stavku 1. ovog članka ona će biti ovlaštena u skladu sa člankom 36. donijeti delegirane akte za izmjenu Priloga III. da bi carinske povlastice predviđene posebnim dogovorom o poticajima za održivi razvoj i dobro upravljanje iz točke (b) članka 1. stavka 2. bile privremeno opozvane.

10.   Kada Komisija odluči o privremenom opozivu, takav delegirani akt stupa na snagu šest mjeseci nakon donošenja.

11.   Kada više ne postoje razlozi koji opravdavaju privremeni opoziv prije stupanja na snagu delegiranog akta iz stavka 9. ovog članka, Komisija je ovlaštena ukinuti doneseni akt za privremeni opoziv carinskih povlastica u skladu s žurnim postupkom iz članka 37.

12.   Komisija je ovlaštena donositi delegirane akte u skladu s člankom 36. radi utvrđivanja pravila vezanih za postupak za privremeni opoziv posebnog dogovora o poticajima za održivi razvoj i dobro upravljanje, a posebno u odnosu na rokove i podnošenje i obradu zahtjeva.

Članak 16.

Ako Komisija utvrdi da razlozi koji opravdavaju privremeni opoziv carinskih povlastica iz članka 15. stavka 1. više ne postoje ovlaštena je donijeti delegirane akte u skladu s člankom 36. radi izmjene Priloga III. da bi se ponovno uvele carinske povlastice predviđene posebnim dogovorom o poticajima za održivi razvoj i dobro upravljanje.

POGLAVLJE IV.

POSEBAN DOGOVOR ZA NAJNERAZVIJENIJE ZEMLJE

Članak 17.

1.   Zemlja koja ispunjava uvjete može koristiti carinske povlastice predviđene posebnim dogovorom za najnerazvijenije zemlje iz točke (c) članka 1. stavka 2. ako je ta zemlja utvrđena kao najnerazvijenija zemlja od strane UN-a.

2.   Komisija kontinuirano pregledava popis zemalja korisnica EBA na temelju najnovijih raspoloživih podataka. Kada zemlja korisnica EBA više ne ispunjava uvjete iz stavka 1. ovog članka, Komisija je ovlaštena donijeti delegirane akte u skladu s člankom 36. radi izmjene Priloga IV. da bi se zemlja uklonila s popisa zemalja korisnica EBA nakon prijelaznog razdoblja od tri godine od dana stupanja na snagu delegiranog akta.

3.   Dok UN ne identificira novonastalu neovisnu državu kao najnerazvijeniju zemlju, Povjerenstvo je ovlašteno donositi delegirane akte u skladu s člankom 36. radi izmjene Priloga IV. u smislu privremene mjere za uključivanje odnosne zemlje u popis zemalja korisnica EBA.

Ako novonastalu neovisnu zemlju UN ne identificira kao najnerazvijeniju zemlju na prvom raspoloživom pregledu kategorije najnerazvijenijih zemalja, Povjerenstvo je ovlašteno odmah donositi delegirane akte u skladu s člankom 36. radi izmjene Priloga IV. radi uklanjanja zemlje iz Priloga, bez odobrenja prijelaznog razdoblja iz stavka 2. ovog članka.

4.   Komisija je dužna obavijestiti zemlju korisnicu EBA koja ispunjava uvjete o promjenama svojeg statusa na temelju ovog sustava.

Članak 18.

1.   Carine iz Zajedničke carinske tarife na sve proizvode koji su navedeni u poglavljima 1. do 97. Kombinirane nomenklature, osim onih iz poglavlja 93., s podrijetlom u zemlji korisnici EBA, suspendiraju se u cijelosti.

2.   Od 1. siječnja 2014. do 30. rujna 2015., za uvoz proizvoda iz tarifnog broja 1701 Zajedničke carinske tarife potrebna je uvozna dozvola.

3.   Komisija u skladu s postupkom ispitivanja iz članka 39. stavka 3. donosi podrobna pravila za provedbu odredaba iz stavka 2. ovog članka u skladu s postupkom iz članka 195. Uredbe Vijeća (EZ) br. 1234/2007 od 22. listopada 2007. kojom se uspostavlja zajednička organizacija poljoprivrednih tržišta i donose posebne odredbe za određene poljoprivredne proizvode (Jedinstvena Uredba o ZOT-u) (9).

POGLAVLJE V.

ODREDBE O PRIVREMENOM OPOZIVU KOJE SU ZAJEDNIČKE SVIM DOGOVORIMA

Članak 19.

1.   Povlašteni dogovori iz članka 1. stavka 2. mogu biti privremeno opozvani u odnosu na sve ili određene proizvode s podrijetlom u zemlji korisnici iz bilo kojeg od sljedećih razloga:

(a)

ozbiljno i sustavno kršenje načela predviđenih konvencijama iz dijela A Priloga VIII.;

(b)

izvoz robe koja je proizvod rada u zatvorskom sustavu;

(c)

ozbiljni nedostaci u carinskoj kontroli kod izvoza ili provoza droge (nedopuštene supstance ili prekursori) ili propust da se postupa u skladu s međunarodnim konvencijama o borbi protiv terorizma i pranju novca;

(d)

ozbiljno i sustavno nepravedna trgovačka praksa, uključujući onu koja utječe na opskrbu sirovinama, koja ima nepovoljan utjecaj na industriju Unije i koju zemlja korisnica nije riješila. Za navedene nepravedne trgovinske prakse koje su zabranjene ili utužive na temelju Sporazuma WTO-a primjena ovog članka zasniva se na prethodnom utvrđivanju u tom smislu od strane nadležnog tijela WTO-a;

(e)

ozbiljno i sustavno kršenje ciljeva usvojenih od strane regionalnih ribarskih organizacija ili međunarodnih dogovora kojih je Unija stranka u odnosu na očuvanje i upravljanje resursima ribarstva.

2.   Povlašteni dogovori iz ove Uredbe neće se opozvati na temelju točke (d) stavka 1. u odnosu na proizvode koji podliježu antidampingu ili kompenzacijskim mjerama iz Uredbe Vijeća (EZ) br. 597/2009 od 11. lipnja 2009. o zaštiti od subvencioniranog uvoza iz zemalja koje nisu članice Europske zajednice (10) ili Uredbe Vijeća (EZ) br. 1225/2009 od 30. studenoga 2009. o zaštiti od dampinškog uvoza iz zemalja koje nisu članice Europske zajednice (11), zbog koji opravdavaju te mjere.

3.   Kada Komisija smatra da postoji osnova koja opravdava privremeni opoziv carinskih povlastica predviđenih povlaštenim dogovorom iz članka 1. stavka 2. na temelju razloga iz stavka 1. ovog članka ona donosi provedbeni akt za pokretanje postupka za privremeni opoziv u skladu sa savjetodavnim postupkom iz članka 39. stavka 2. Komisija je dužna obavijestiti Europski parlament i Vijeće o navedenom provedbenom aktu.

4.   Komisija će u Službenom listu Europske unije objaviti obavijest u kojoj najavljuje pokretanje postupka privremenog opoziva i obavijestiti zemlju korisnicu o tome. Obavijest će:

(a)

sadržavati dovoljno osnova za provedbeni akt za pokretanje postupka privremenog opoziva, iz stavka 3.;

(b)

navoditi da će Komisija nadzirati i procjenjivati situaciju u zemlji korisnici kroz razdoblje od šest mjeseci od dana objave obavijesti.

5.   Komisija je dužna odnosnoj državi korisnici omogućiti da surađuje u razdoblju nadzora i procjene.

6.   Komisija će tražiti sve informacije koje smatra potrebnim, između ostalog, raspoložive ocjene, komentare, odluke, preporuke i zaključke nadležnih nadzornih tijela, već prema potrebi. Kod izrade zaključaka, Komisija ocjenjuje sve odgovarajuće informacije.

7.   U roku od tri mjeseca od isteka razdoblja iz točke (b) stavka 4. Komisija podnosi izvješće o svojim saznanjima i zaključcima odnosnoj zemlji korisnici. Zemlja korisnica ima pravo podnositi svoje komentare na izvješće. Razdoblje za komentare ne smije biti dlje od jednog mjeseca.

8.   U roku od šest mjeseci od isteka razdoblja iz točke (b) stavka 4. Komisija će odlučiti:

(a)

prekinuti postupak privremenog opoziva; ili

(b)

privremeno opozvati carinske povlastice predviđene povlaštenim dogovorima iz članka 1. stavka 2.

9.   Kada Komisija smatra da utvrđeno stanje ne opravdava privremeni opoziv ona donosi provedbeni akt u skladu sa savjetodavnim postupkom iz članka 39. stavka 2. o prestanku postupka privremenog opoziva.

10.   Kada Komisija smatra da saznanja opravdavaju privremeni opoziv zbog navedenih u stavku 1. ovog članka ona će biti ovlaštena u skladu sa člankom 36. donijeti delegirane akte za izmjenu priloga II., III. ili IV., ovisno koji se primjenjuje, da bi se privremeno opozvale carinske povlastice predviđene povlaštenim dogovorima iz članka 1. stavka 2.

11.   Za slučajeve iz stavaka 9. i 10. doneseni akt zasniva se, inter alia, na primljenim dokazima.

12.   Kada Komisija odluči o privremenom opozivu, takav delegirani akt stupa na snagu šest mjeseci nakon donošenja.

13.   Kada više ne postoje razlozi koji opravdavaju privremeni opoziv prije stupanja na snagu delegiranog akta iz stavka 10. ovog članka, Komisija je ovlaštena ukinuti doneseni akt za privremeni opoziv carinskih povlastica u skladu s žurnim postupkom iz članka 37.

14.   Komisija je ovlaštena donositi delegirane akte u skladu s člankom 36. radi utvrđivanja pravila vezanih za postupak za privremeni opoziv svih dogovora, a posebno u odnosu na rokove i podnošenje i obradu zahtjeva.

Članak 20.

Ako Komisija utvrdi da razlozi koji opravdavaju privremeni opoziv carinskih povlastica iz članka 19. stavka 1. više ne postoje ovlaštena je donijeti delegirane akte u skladu s člankom 36. radi izmjene priloga II., III. ili IV., ovisno koji se primjenjuje, da bi se ponovno uvele carinske povlastice predviđene povlaštenim dogovorima iz članka 1. stavka 2.

Članak 21.

1.   Povlašteni dogovori predviđeni ovom Uredbom mogu biti privremeno opozvani u odnosu na sve ili određene proizvode s podrijetlom u zemlji korisnici u slučaju prevare, nepravilnosti ili sustavnog propusta da se postupa u skladu ili da se osigura postupanje u skladu s pravilima o podrijetlu proizvoda i s povezanim postupcima, ili propusta da se osigura administrativna suradnja na način koji iziskuju provedba i nadzor povlaštenih dogovora iz članka 1. stavka 2.

2.   U sklopu administrativne suradnje iz stavka 1., inter alia, zemlja korisnica je dužna:

(a)

priopćiti Komisiji i ažurirati potrebne informacije za provedbu pravila o podrijetlu i njihov nadzor;

(b)

pomagati Uniji da na zahtjev carinskih tijela država članica izvrši naknadnu provjeru podrijetla robe i da na vrijeme priopći rezultate Komisiji;

(c)

pomagati Uniji tako da dopusti Komisiji u dogovoru i bliskoj suradnji s nadležnim tijelima država članica da provodi misije Unije u smislu administrativne i istražne suradnje u odnosnoj zemlji tako da se provjerava vjerodostojnost dokumenata ili autentičnost odgovarajućih informacija za odobravanje prednosti koje proizlaze iz povlaštenih dogovora iz članka 1. stavka 2.;

(d)

provoditi ili organizirati odgovarajuće istrage za identifikaciju i sprečavanje kršenja pravila o podrijetlu;

(e)

postupati u skladu ili osigurati postupanje u skladu s pravilima o podrijetlu u odnosu na regionalnu kumulaciju u smislu Uredbe (EEZ) br. 2454/93 ako iz toga za zemlju proizlaze prednosti; i

(f)

pomagati Uniji u provjeri postupanja kada postoji pretpostavka prevare vezane za podrijetlo s tim da se može pretpostaviti postojanje prevare kada uvoz proizvoda na temelju povlaštenih dogovora predviđenih ovom Uredbom u velikoj mjeri premašuje uobičajene razine izvoza zemlje korisnice.

3.   Kada Komisija smatra da postoji dovoljno dokaza koji opravdavaju privremeni opoziv zbog navedenih u stavcima 1. i 2. ovog članka ona odlučuje u skladu s žurnim postupkom iz članka 39. stavka 4. privremeno opozvati carinske povlastice predviđene povlaštenim dogovorima iz članka 1. stavka 2. u odnosu na sve ili određene proizvode s podrijetlom u zemlji korisnici.

4.   Prije donošenja odluke, Komisija prvo objavljuje obavijest u Službenom listu Europske unije u kojoj se navodi da postoji osnova za osnovanu sumnju u postupanje u skladu sa stavcima 1. i 2. koja može dovesti u pitanje pravo zemlje korisnice da nastavi uživati koristi predviđene ovom Uredbom.

5.   Komisija je dužna obavijestiti zemlju korisnicu o odluci donesenoj u skladu s stavkom 3. prije nego što stupi na snagu.

6.   Razdoblje privremenog opoziva ne smije biti duže od šest mjeseci. Najkasnije u trenutku isteka tog razdoblja Komisija odlučuje u skladu s žurnim postupkom iz članka 39. stavka 4. prekinuti privremeni opoziv ili produžiti trajanje razdoblja privremenog opoziva.

7.   Države članice dužne su Komisiji priopćiti sve odgovarajuće informacije koje bi mogle opravdati privremeni opoziv carinskih povlastica ili njihovo produljenje.

POGLAVLJE VI.

ZAŠTITNE I NADZORNE ODREDBE

ODJELJAK I.

Opće zaštitne mjere

Članak 22.

1.   Kada se neki proizvod s podrijetlom u zemlji korisnici bilo kojeg povlaštenog dogovora iz članka 1. stavka 2. uvozi u količinama i/ili po cijeni koja uzrokuje ili prijeti uzrokovati ozbiljne poteškoće proizvođačima iz Unije sličnih ili izravno konkurentnih proizvoda ponovno se uvodi uobičajena carina iz Zajedničke carinske tarife na taj proizvod.

2.   Za potrebe ovog poglavlja „istovjetan proizvod” znači proizvod koji je istovjetan odnosno sličan u svim pogledima proizvodu koji se razmatra ili, ako nema takvog proizvoda, drugi proizvod koji, iako nije sličan u svim pogledima, ima obilježja najbliže slična onima koje ima proizvod koji se razmatra.

3.   Za potrebe ovog poglavlja, „zainteresirane stranke” znači stranke uključene u proizvodnju, distribuciju i/ili prodaju uvoza navedenog u stavku 1. i istovjetnih ili izravno konkurentnih proizvoda.

4.   Komisija je ovlaštena donositi delegirane akte u skladu s člankom 36. radi utvrđivanja pravila vezanih za postupak donošenja općih zaštitnih mjera, a posebno u odnosu na rokove, prava stranaka, povjerljivost, objavljivanje, provjeru, posjete i pregled.

Članak 23.

Smatra se da postoje ozbiljne poteškoće kada proizvođači iz Unije osjećaju pogoršanje svojeg gospodarskog i/ili financijskog položaja. Kod provjere da li postoji takvo pogoršanje, Komisija uzima u obzir, inter alia, sljedeće čimbenike o proizvođačima iz Unije, kada su te informacije raspoložive:

(a)

tržišni udjel;

(b)

proizvodnja;

(c)

zalihe;

(d)

proizvodna sposobnost;

(e)

stečajni postupci;

(f)

profitabilnost;

(g)

iskorištenost sposobnosti;

(h)

zapošljavanje;

(i)

uvoz;

(j)

cijene.

Članak 24.

1.   Komisija je dužna ispitati da li uobičajene carine iz Zajedničke carinske tarife trebale bi biti ponovno uvedene ako postoje dovoljni dokazi prima facie da su ispunjeni uvjeti iz članka 22. stavka 1.

2.   Na zahtjev države članice pravna osoba ili organizacija s pravnom osobnošću u ime proizvođača iz Unije ili na inicijativu Komisije pokreće ispitni postupak ako je Komisiji jasno da postoje dovoljni dokazi prima facie utvrđeni na temelju čimbenika iz članka 23. koji opravdavaju početak ispitnog postupka. Zahtjev za pokretanje ispitnog postupka sadrži dokaze da su uvjeti za uvođenje zaštitnih mjera iz članka 22. stavka 1. ispunjeni. Zahtjev se podnosi Komisiji. Komisija ispituje, u mjeri u kojoj je to moguće, točnost i primjerenost dokaza podnesenih u zahtjevu da bi se utvrdilo da li postoje dovoljni prima facie dokazi koji opravdavaju pokretanje ispitnog postupka.

3.   Kada je očigledno da postoje dovoljni dokazi prima facie koji opravdavaju pokretanje postupka Komisija objavljuje obavijest u Službenom listu Europske unije. Pokretanje se odvija u roku od mjesec dana od primitka zahtjeva na temelju stavka 2. Ako ispitni postupak bude pokrenut, obavijest mora sadržavati sve potrebne detalje o postupku i rokovima, što uključuje pristup nadležnom dužnosniku Opće uprave za trgovinu Europske komisije.

4.   Ispitni postupak, što uključuje postupovne korake iz članka 25., 26. i 27., zatvara se u roku od 12 mjeseci od pokretanja.

Članak 25.

U slučaju opravdanih razloga za žurnost zbog pogoršanja gospodarskog i/ili financijskog položaja proizvođača iz Unije, i kada bi kašnjenje moglo dovesti do štete koju bi bilo teško otkloniti Komisija je ovlaštena donijeti izravno primjenjive provedbene akte u skladu s žurnim postupkom iz članka 39. stavka 4. za ponovno uvođenje uobičajenih carina iz Zajedničke carinske tarife kroz razdoblje od do 12 mjeseci.

Članak 26.

Kada je iz konačno utvrđenih činjenica vidljivo da su ispunjeni uvjeti iz članka 22. stavka 1. Komisija donosi provedbeni akt radi ponovnog uvođenja carina iz Zajedničke carinske tarife u skladu s ispitnim postupkom iz članka 39. stavka 3. Ovaj provedbeni akt stupa na snagu u roku od jednog mjeseca od dana objave u Službenom listu Europske unije.

Članak 27.

Kada je iz konačno utvrđenih činjenica vidljivo da su ispunjeni uvjeti iz članka 22. stavka 1. Komisija donosi provedbeni akt kojim se prekida istraga i postupak u skladu s ispitnim postupkom iz članka 39. stavka 3. Taj se provedbeni akt objavljuje u Službenom listu Europske unije. Istraga se smatra prekinutom ako se u roku iz članka 24. stavka 4. ne objavi provedbeni akt te žurne preventivne mjere automatski prestaju. Sve carine iz Zajedničke carinske tarife prikupljene zbog privremenih mjera bit će nadoknađene.

Članak 28.

Carine iz Zajedničke carinske tarife ponovno će biti uvedene na razdoblje koje je potrebno da bi se odgovorilo na pogoršanje gospodarske i/ili financijske situacije proizvođača iz Unije ili sve dok traje prijetnja od takvog pogoršanja. Razdoblje za ponovno uvođenje ne smije biti duže od tri godine, osim ako se produžuje u uredno opravdanim okolnostima.

ODJELJAK II.

Zaštitne mjere u sektorima tekstila, poljoprivrede i ribarstva

Članak 29.

1.   Ne dovodeći u pitanje odjeljak I. ovog poglavlja, 1. siječnja svake godine Komisija na vlastitu inicijativu i u skladu sa savjetodavnim postupkom iz članka 39. stavka 2. donosi provedbeni akt čiji je cilj uklanjanje carinskih povlastica iz članaka 7. i 12. u odnosu na proizvode iz odjeljaka OSP-a S-11a i S-11b Priloga V. ili proizvode koji pripadaju tarifnim brojevima 2207 10 00, 2207 20 00, 2909 19 10, 3814 00 90, 3820 00 00, i 3824 90 97 Kombinirane nomenklature, a kada uvoz takvih proizvoda koji su navedeni u prilozima V. ili IX., ovisno koji se primjenjuje, ima podrijetlo u zemlji korisnici i kada se uvoz ukupno:

(a)

poveća količinski (volumenski) za najmanje 13,5 % u usporedbi s prethodnom kalendarskom godinom; ili

(b)

za proizvode iz odjeljaka OSP-a S-11a i S-11b Priloga V. premašuje udjel naveden u točki 2. Priloga VI. vrijednosti uvoza Unije proizvoda iz odjeljaka OSP-a S-11a i S-11b Priloga V. iz svih zemalja i državnih područja iz Priloga II. kroz razdoblje od 12 mjeseci.

2.   Stavak 1. ovog članka ne primjenjuje se na zemlje korisnice EBA i ne primjenjuje se na zemlje s udjelom za odgovarajuće proizvode iz članka 29. stavka 1. koji ne premašuje 6 % ukupnog uvoza Unije istih proizvoda iz priloga V. ili IX, ovisno o tome koji se primjenjuje.

3.   Uklanjanje carinskih povlastica stupa na snagu dva mjeseca od datuma objave akta Komisije u ovom smislu u Službenom listu Europske unije.

Članak 30.

Ne dovodeći u pitanje odjeljak I. ovog poglavlja, kada uvoz proizvoda iz Priloga I. uz UFEU uzrokuje ili prijeti da će uzrokovati ozbiljne poremećaje na tržištu Unije, a posebno u jednoj ili više najudaljenijih regija, ili u regulatornim mehanizmima na ovim tržištima, Komisija na vlastitu inicijativu ili na zahtjev države članice nakon savjetovanja s odborom za odgovarajuću poljoprivrednu ili ribarsku zajedničku tržišnu organizaciju donosi provedbeni akt s ciljem suspenzije povlaštenih dogovora u odnosu na proizvode u skladu s ispitnim postupkom iz članka 39. stavka 3.

Članak 31.

Komisija je dužna obavijestiti zemlju korisnicu što je prije moguće o odluci donesenoj u skladu s člancima 29. i 30. prije nego što stupi na snagu.

ODJELJAK III.

Nadzor u poljoprivrednom i ribarskom sektoru

Članak 32.

1.   Ne dovodeći u pitanje odjeljak I. ovog poglavlja, proizvodi iz poglavlja 1. do 24. Zajedničke carinske tarife predviđeni Uredbom (EEZ) br. 2658/87 s podrijetlom u zemljama korisnicama mogu podlijegati posebnom nadzornom mehanizmu s ciljem izbjegavanja smetnji na tržištima Unije. Komisija na vlastitu inicijativu ili zahtjev države članice nakon savjetovanja s odborom za odgovarajuću poljoprivrednu ili ribarsku zajedničku tržišnu organizaciju donosi provedbeni akt u skladu s ispitnim postupkom iz članka 39. stavka 3. o tome treba li se primijeniti taj posebni nadzorni mehanizam i utvrđuje proizvode na koje će se ovaj nadzorni mehanizam primjenjivati.

2.   Kada se odjeljak I. ovog poglavlja primjenjuje na proizvode iz poglavlja 1. do 24. Zajedničke carinske tarife na način kako je predviđeno Uredbom (EEZ) br. 2658/87, s podrijetlom u zemljama korisnicama, razdoblje iz članka 24. stavka 4. ove Uredbe bit će skraćeno na dva mjeseca u sljedećim slučajevima:

(a)

kada zemlja korisnica ne osigura postupanje u skladu s pravilima o podrijetlu ili ne osigura administrativnu suradnju iz članka 21.; ili

(b)

kada uvoz proizvoda iz poglavlja 1. do 24. Zajedničke carinske tarife predviđen Uredbom (EEZ) br. 2658/87 prema povlaštenim dogovorima odobrenim na temelju ove Uredbe u velikoj mjeri premašuje uobičajenu razinu izvoza iz odnosne zemlje korisnice.

POGLAVLJE VII.

ZAJEDNIČKE ODREDBE

Članak 33.

1.   Da bi se mogle iskoristiti carinske povlastice, proizvodi za koje se traže carinske povlastice moraju imati podrijetlo u zemlji korisnici.

2.   U svrhu povlaštenog dogovora iz članka 1. stavka 2. ove Uredbe, pravila o podrijetlu u odnosu na definiciju koncepta proizvoda s podrijetlom, postupaka i načina administrativne suradnje s tim u vezi, jesu ona predviđena Uredbom (EEZ) br. 2454/93.

Članak 34.

1.   Kada je stopa carine ad valorem za pojedinačnu uvoznu deklaraciju smanjenu u skladu s ovom Uredbom 1 % ili manje, carina se suspendira u cijelosti.

2.   Kada je stopa posebne carine za pojedinačnu uvoznu deklaraciju smanjenu u skladu s ovom Uredbom EUR 2 ili manje po pojedinom iznosu u eurima, carina se suspendira u cijelosti.

3.   Podložno stavcima 1. i 2., konačna stopa povlaštene carine izračunate u skladu s ovom Uredbom zaokružuje se na prvu decimalu.

Članak 35.

1.   Statistički izvor koji se koristi za potrebe ove Uredbe jest vanjskotrgovinska statistika Komisije (Eurostat).

2.   Države članice šalju Komisiji (Eurostat) statističke podatke o proizvodima koji su u carinskom postupku radi puštanja u slobodni promet u sklopu carinskih povlastica iz Uredbe (EZ) br. 471/2009 Europskog parlamenta i Vijeća od 6. svibnja 2009. o statistici Zajednice koja se odnosi na vanjsku trgovinu sa zemljama nečlanicama (12). Ti podaci koji su o obliku upućivanja na oznake iz Kombinirane nomenklature i, kada je to primjenjivo, oznake TARIC, pokazuju, prema zemlji podrijetla, vrijednosti, količine i dodatne jedinice potrebne u skladu s definicijama iz te Uredbe. U skladu s člankom 8. stavkom 1. Uredbe, države članice prenose svoje statističke podatke ne kasnije od 40 dana od kraja svakog mjesečnog referentnog razdoblja. Da bi se olakšala raspoloživost informacija i povećala transparentnost, Komisija također osigurava da su relevantni statistički podaci za odjeljke OSP-a redovito raspoloživi u javnoj bazi podataka.

3.   U skladu s člankom 308.d Uredbe (EEZ) br. 2454/93, države članice šalju Komisiji na njezin zahtjev podrobne podatke i vrijednosti o količinama proizvoda puštenih u slobodan promet prema carinskim povlasticama u prethodnim mjesecima. Ti podaci uključuju proizvode iz stavka 4. ovog članka.

4.   Komisija u bliskoj suradnji s državama članicama obavlja nadzor uvoza proizvoda s oznakama KN 0603, 0803 90 10, 1006, 1604 14, 1604 19 31, 1604 19 39, 1604 20 70, 1701, 1704, 1806 10 30, 1806 10 90, 2002 90, 2103 20, 2106 90 59, 2106 90 98, 6403, 2207 10 00, 2207 20 00, 2909 19 10, 3814 00 90, 3820 00 00 i 3824 90 97, a da bi se utvrdilo jesu li ispunjeni uvjeti iz članaka 22., 29. i 30.

Članak 36.

1.   Dodjeljuje se ovlast Komisiji za donošenje delegiranih akata uz ispunjavanje uvjeta iz ovog članka.

2.   Dodjeljuje se ovlast Komisiji za donošenje delegiranih akata iz članaka 3., 5., 6., 8., 9., 10., 11., 15., 16., 17., 19., 20. i 22. na neodređeno razdoblje od 20. studenoga 2012.

3.   Europski parlament ili Vijeće mogu u bilo kojem trenutku opozvati delegaciju ovlasti iz članaka 3., 5., 6., 8., 9., 10., 11., 15., 16., 17., 19., 20. i 22. Odlukom o opozivu okončava se delegiranje ovlasti navedeno u toj odluci. Ona stupa na snagu sljedećeg dana od dana objave odluke u Službenom listu Europske unije ili na kasniji u njoj određen datum. Ona ne utječe na valjanost delegiranih akata koji su na snazi.

4.   Čim Komisija donese delegirani akt, ona o njemu istodobno obavješćuje Europski parlament i Vijeće.

5.   Delegirani akt donesen na temelju članaka 3., 5., 6., 8., 9., 10., 11., 15., 16., 17., 19., 20. ili 22. stupa na snagu samo ako Europski parlament odnosno Vijeće ne uloži prigovor u roku od dva mjeseca od obavijesti o tom aktu Europskom parlamentu i Vijeću ili ako su prije isteka tog razdoblja Europski parlament i Vijeće obavijestili Komisiju da neće uložiti prigovor. Odnosno razdoblje može biti produženo za dva mjeseca na inicijativu Europskog parlamenta ili Vijeća.

Članak 37.

1.   Delegirani akti doneseni na temelju ovog članka stupaju na snagu bez odgode i primjenjuju se pod uvjetom da nije uložen prigovor u skladu sa stavkom 2. U obavijesti o delegiranom aktu donesenom na temelju ovog članka za Europski parlament i Vijeće potrebno je navesti razloge za korištenje žurnog postupka.

2.   Europski parlament ili Vijeće mogu uložiti prigovor na delegirani akt u skladu s postupkom iz članka 36. stavka 5. U tom slučaju Komisija ukida akt bez odgode nakon obavijesti Europskog parlamenta ili Vijeća o odluci za ulaganje prigovora.

Članak 38.

1.   Podaci primljeni prema ovoj Uredbi koriste se samo za potrebe za koje su zatraženi.

2.   Informacije povjerljive prirode i informacije osigurane na povjerljivoj osnovi primljene na temelju ove Uredbe neće se otkrivati bez posebnog dopuštenja davatelja.

3.   Svaki zahtjev za povjerljivošću mora sadržavati razloge zbog kojih je informacija povjerljiva. Međutim ako davatelj informacija ne želi da budu objavljene i ne želi ovlastiti opću objavu ili objavu u obliku sažetka i ako izgleda da je zahtjev za povjerljivošću neopravdan, odnosne informacije mogu biti zanemarene.

4.   Informacija se u svakom slučaju smatra povjerljivom ako je vjerojatno da će njezino otkrivanje imati negativne posljedice za davatelja informacije ili za izvor takvih informacija.

5.   Stavci 1. do 4. ne isključuju upućivanje tijela Unije na opće informacije i posebno na razloge na kojima se temelje odluke donesene na temelju ove Uredbe. Ta tijela moraju, međutim, uzeti u obzir legitimne interese dotične fizičke i pravne osobe da se njihove poslovne tajne ne smiju otkrivati.

Članak 39.

1.   Komisiji pomaže Odbor za opće povlastice osnovan na temelju Uredbe (EZ) br. 732/2008. Taj Odbor je odbor u smislu Uredbe (EU) br. 182/2011. Odbor može ispitati svako pitanje u odnosu na primjenu ove Uredbe koje je postavila Komisija ili na zahtjev države članice.

2.   Pri upućivanju na ovaj stavak primjenjuje se članak 4. Uredbe (EU) br. 182/2011.

3.   Pri upućivanju na ovaj stavak primjenjuje se članak 5. Uredbe (EU) br. 182/2011.

4.   U slučaju kada se navodi uputa na ovaj stavak, primjenjuje se članak 8. Uredbe (EU) 182/2011, u vezi s njezinim člankom 5.

Članak 40.

Do 1. siječnja 2016. godine i svake dvije godine nakon toga, Komisija podnosi Europskom parlamentu i Vijeću izvješće o utjecaju sustava koje pokriva zadnje dvogodišnje razdoblje i sve povlaštene dogovore iz članka 1. stavka 2.

Komisija do 21. studenoga 2017. Europskom parlamentu i Vijeću podnosi izvješće o primjeni ove Uredbe. Uz izvješće može se kadgod je to moguće podnositi zakonodavni prijedlog.

Članak 41.

Uredba (EZ) br. 732/2008 stavlja se izvan snage s danom 1. siječnjem 2014.

Upućivanja na Uredbu stavljenu izvan snage smatraju se upućivanjima na ovu Uredbu u skladu s korelacijskom tablicom u Prilogu X.

POGLAVLJE VIII.

ZAVRŠNE ODREDBE

Članak 42.

1.   Svaka istraga ili postupak privremenog opoziva pokrenut i koji nije prekinut na temelju Uredbe (EZ) br. 732/2008 ponovno se pokreće automatski na temelju ove Uredbe, osim u odnosu na zemlju korisnicu posebnog dogovora o poticajima za održivi razvoj i dobro upravljanje na temelju odnosne Uredbe ako se istraga odnosi samo na koristi koje se odobravaju na temelju posebnog dogovora o poticajima za održivi razvoj i dobro upravljanje. Međutim, takva se istraga ponovno pokreće automatski ako ista zemlja korisnica zatraži posebni dogovor o poticajima na temelju ove Uredbe prije 1. siječnja 2015. godine.

2.   Informacije primljene tijekom istrage koja je pokrenuta i nije prekinuta na temelju Uredbe (EZ) br. 732/2008 uzimaju se u obzir u svakoj ponovno pokrenutoj istrazi.

Članak 43.

1.   Ova Uredba stupa na snagu dvadesetog dana od dana objave u Službenom listu Europske unije.

2.   Primjenjuje se od 20. studenoga 2012.

Međutim, carinske povlastice predviđene povlaštenim dogovorima iz članka 1. stavka 2. primjenjuju se od 1. siječnja 2014. godine.

3.   Sustav se primjenjuje do 31. prosinca 2023. Međutim, datum isteka ne primjenjuje se na posebni dogovor za najnerazvijenije zemlje ni, u mjeri u kojoj se one primjenjuju zajedno s tim dogovorom, na ostale odredbe ove Uredbe.

Ova je Uredba cijelosti obvezujuća i izravno se primjenjuje u svim državama članicama.

Sastavljeno u Strasbourgu 25. listopada 2012.

Za Europski parlament

Predsjednik

Martin SCHULZ

Za Vijeće

Predsjednik

A. D. MAVROYIANNIS


(1)  Stajalište Europskog parlamenta od 13. lipnja 2012. (još nije objavljeno u Službenom listu) i Odluka Vijeća od 4. listopada 2012.

(2)  SL L 211, 6.8.2008., str. 1.

(3)  SL L 145, 31.5.2011., str. 28.

(4)  SL L 20, 24.1.2008., str. 1.

(5)  SL L 240, 23.9.2000., str. 1.

(6)  SL L 253, 11.10.1993., str. 1.

(7)  SL L 55, 28.2.2011., str. 13.

(8)  SL L 256, 7.9.1987., str. 1.

(9)  SL L 299, 16.11.2007., str. 1.

(10)  SL L 188, 18.7.2009., str. 93.

(11)  SL L 343, 22.12.2009., str. 51.

(12)  SL L 152, 16.6.2009., str. 23.


POPIS PRILOGA

Prilog I.

Zemlje koje ispunjavaju uvjete za sustav iz članka 3.

Prilog II.

Zemlje korisnice općeg dogovora iz članka 1. stavka 2. točke (a)

Prilog III.

Zemlje korisnice posebnog dogovora o poticajima za održivi razvoj i dobro upravljanje iz članka 1. stavka 2. točke (b)

Prilog IV.

Zemlje korisnice posebnog dogovora za najnerazvijenije zemlje iz članka 1. stavka 2. točke (c)

Prilog V.

Popis proizvoda uključenih u opći dogovor iz članka 1. stavka 2. točke (a)

Prilog VI.

Načini primjene članka 8.

Prilog VII.

Načini primjene poglavlja III. ove Uredbe

Prilog VIII.

Konvencije iz članka 9.

Prilog IX.

Popis proizvoda uključenih u poseban dogovor o poticajima za održivi razvoj i dobro upravljanje iz članka 1. stavka 2. točke (b)

Prilog X.

Korelacijska tablica

PRILOG I.

Zemlje koje ispunjavaju uvjete  (1) za sustav iz članka 3.

Stupac A

:

abecedni kod, u skladu s nomenklaturom zemalja i državnih područja za vanjskotrgovinsku statistiku Unije

Stupac B

:

naziv

A

B

AE

Ujedinjeni Arapski Emirati

AF

Afganistan

AG

Antigva i Barbuda

AL

Albanija

AM

Armenija

AO

Angola

AR

Argentina

AZ

Azerbajdžan

BA

Bosna i Hercegovina

BB

Barbados

BD

Bangladeš

BF

Burkina Faso

BH

Bahrein

BI

Burundi

BJ

Benin

BN

Bruneji

BO

Bolivija

BR

Brazil

BS

Bahami

BT

Butan

BW

Bocvana

BY

Bjelarus

BZ

Belize

CD

Demokratska Republika Kongo

CF

Srednjoafrička Republika

CG

Kongo

CI

Côte d'Ivoire

CK

Kukovi Otoci

CL

Čile

CM

Kamerun

CN

Kina

CO

Kolumbija

CR

Kostarika

CU

Kuba

CV

Kabo Verde (Zelenortska Republika)

DJ

Džibuti

DM

Dominika

DO

Dominikanska Republika

DZ

Alžir

EC

Ekvador

EG

Egipat

ER

Eritreja

ET

Etiopija

FJ

Fidži

FM

Mikronezija

GA

Gabon

GD

Grenada

GE

Gruzija

GH

Gana

GM

Gambija

GN

Gvineja

GQ

Ekvatorska Gvineja

GT

Gvatemala

GW

Gvineja Bisau

GY

Gvajana

HK

Hong Kong

HN

Honduras

HR

Hrvatska

HT

Haiti

ID

Indonezija

IN

Indija

IQ

Irak

IR

Iran

JM

Jamajka

JO

Jordan

KE

Kenija

KG

Kirgistan

KH

Kambodža

KI

Kiribati

KM

Komori

KN

Sveti Kristofor i Nevis

KW

Kuvajt

KZ

Kazakstan

LA

Laos

LB

Libanon

LC

Sveta Lucija

LK

Šri Lanka

LR

Liberija

LS

Lesoto

LY

Libija

MA

Maroko

MD

Moldova

ME

Crna Gora

MG

Madagaskar

MH

Maršalovi Otoci

MK

bivša jugoslavenska republika Makedonija

ML

Mali

MM

Burma/Mjanmar

MN

Mongolija

MO

Makao

MR

Mauritanija

MU

Mauricijus

MV

Maldivi

MW

Malavi

MX

Meksiko

MY

Malezija

MZ

Mozambik

NA

Namibija

NE

Niger

NG

Nigerija

NI

Nikaragva

NP

Nepal

NR

Nauru

NU

Niue

OM

Oman

PA

Panama

PE

Peru

PG

Papua Nova Gvineja

PH

Filipini

PK

Pakistan

PW

Palau

PY

Paragvaj

QA

Katar

RS

Srbija

RU

Rusija

RW

Ruanda

SA

Saudijska Arabija

SB

Solomonski otoci

SC

Sejšeli

SD

Sudan

SL

Sijera Leone

SN

Senegal

SO

Somalija

SR

Surinam

ST

Sveti Toma i Prinsipe

SV

Salvador

SY

Sirija

SZ

Svazi

TD

Čad

TG

Togo

TH

Tajland

TJ

Tadžikistan

TL

Timor Leste

TM

Turkmenistan

TN

Tunis

TO

Tonga

TT

Trinidad i Tobago

TV

Tuvalu

TZ

Tanzanija

UA

Ukrajina

UG

Uganda

UY

Urugvaj

UZ

Uzbekistan

VC

Sveti Vincent i Grenadini

VE

Venezuela

VN

Vijetnam

VU

Vanuatu

WS

Američka Samoa

XK

Kosovo (2)

YE

Jemen

ZA

Južna Afrika

ZM

Zambija

ZW

Zimbabve

Zemlje koje ispunjavaju uvjete sustava iz članka 3. koje su privremeno opozvane iz sustava u odnosu na sve ili određene proizvode s podrijetlom u tim zemljama

Stupac A

:

abecedni kod, u skladu s nomenklaturom zemalja i državnih područja za vanjskotrgovinsku statistiku Unije

Stupac B

:

naziv

A

B

BY

Bjelarus

MM

Burma/Mjanmar


(1)  Popis uključuje zemlje za koje su povlastice možda privremeno opozvane ili suspendirane. Komisija ili nadležna tijela odnosne zemlje moći će osigurati ažurirani popis.

(2)  Ova oznaka ne dovodi u pitanje stajališta o statusu i u skladu je s Rezolucijom Vijeća sigurnosti UN-a 1244 (1999) i Mišljenjem Međunarodnog suda o deklaraciji o neovisnosti Kosova.

PRILOG II.

Zemlje korisnice  (1) općeg dogovora iz članka 1. stavka 2. točke (a)

Stupac A

:

abecedni kod, u skladu s nomenklaturom zemalja i državnih područja za vanjskotrgovinsku statistiku Unije

Stupac B

:

naziv

A

B

AF

Afganistan

AM

Armenija

AO

Angola

AZ

Azerbajdžan

BD

Bangladeš

BF

Burkina Faso

BI

Burundi

BJ

Benin

BO

Bolivija

BT

Butan

CD

Demokratska Republika Kongo

CF

Srednjoafrička Republika

CG

Kongo

CK

Kukovi Otoci

CN

Kina

CO

Kolumbija

CR

Kostarika

CV

Kabo Verde (Zelenortska Republika)

DJ

Džibuti

EC

Ekvador

ER

Eritreja

ET

Etiopija

FM

Mikronezija

GE

Gruzija

GM

Gambija

GN

Gvineja

GQ

Ekvatorska Gvineja

GT

Gvatemala

GW

Gvineja Bisau

HN

Honduras

HT

Haiti

ID

Indonezija

IN

Indija

IQ

Irak

IR

Iran

KG

Kirgistan

KH

Kambodža

KI

Kiribati

KM

Komori

LA

Laos

LK

Šri Lanka

LR

Liberija

LS

Lesoto

MG

Madagaskar

MH

Maršalovi Otoci

ML

Mali

MM

Burma/Mjanmar

MN

Mongolija

MR

Mauritanija

MV

Maldivi

MW

Malavi

MZ

Mozambik

NE

Niger

NG

Nigerija

NI

Nikaragva

NP

Nepal

NR

Nauru

NU

Niue

PA

Panama

PE

Peru

PH

Filipini

PK

Pakistan

PY

Paragvaj

RW

Ruanda

SB

Solomonski otoci

SD

Sudan

SL

Sijera Leone

SN

Senegal

SO

Somalija

ST

Sveti Toma i Prinsipe

SV

Salvador

SY

Sirija

TD

Čad

TG

Togo

TH

Tajland

TJ

Tadžikistan

TL

Timor Leste

TM

Turkmenistan

TO

Tonga

TV

Tuvalu

TZ

Tanzanija

UA

Ukrajina

UG

Uganda

UZ

Uzbekistan

VN

Vijetnam

VU

Vanuatu

WS

Američka Samoa

YE

Jemen

ZM

Zambija

Zemlje korisnice općeg dogovora iz članka 1. stavka 2. točke (a) koje su privremeno opozvane iz dogovora u odnosu na sve ili određene proizvode s podrijetlom u tim zemljama

Stupac A

:

abecedni kod, u skladu s nomenklaturom zemalja i državnih područja za vanjskotrgovinsku statistiku Unije

Stupac B

:

naziv

A

B

MM

Burma/Mjanmar


(1)  Popis uključuje zemlje za koje su povlastice možda privremeno opozvane ili suspendirane Komisija ili nadležna tijela odnosne zemlje moći će osigurati ažurirani popis.

PRILOG III.

Zemlje korisnice  (1) posebnog dogovora o poticajima za održivi razvoj i dobro upravljanje iz članka 1. stavka 2. točke (b)

Stupac A

:

abecedni kod, u skladu s nomenklaturom zemalja i državnih područja za vanjskotrgovinsku statistiku Unije

Stupac B

:

naziv

A

B

 

 

Zemlje korisnice posebnog dogovora o poticajima za održivi razvoj i dobro upravljanje iz članka 1. stavka 2. točke (b) koje su privremeno opozvane iz tog dogovora u odnosu na sve ili određene proizvode s podrijetlom u tim zemljama

Stupac A

:

abecedni kod, u skladu s nomenklaturom zemalja i državnih područja za vanjskotrgovinsku statistiku Unije

Stupac B

:

naziv

A

B

 

 


(1)  Popis uključuje zemlje za koje su povlastice možda privremeno opozvane ili suspendirane Komisija ili nadležna tijela odnosne zemlje moći će osigurati ažurirani popis.

PRILOG IV.

Zemlje korisnice  (1) posebnog dogovora za najnerazvijenije zemlje iz članka 1. stavka 2. točke (c)

Stupac A

:

abecedni kod, u skladu s nomenklaturom zemalja i državnih područja za vanjskotrgovinsku statistiku Unije

Stupac B

:

naziv

A

B

AF

Afganistan

AO

Angola

BD

Bangladeš

BF

Burkina Faso

BI

Burundi

BJ

Benin

BT

Butan

CD

Demokratska Republika Kongo

CF

Srednjoafrička Republika

DJ

Džibuti

ER

Eritreja

ET

Etiopija

GM

Gambija

GN

Gvineja

GQ

Ekvatorska Gvineja

GW

Gvineja Bisau

HT

Haiti

KH

Kambodža

KI

Kiribati

KM

Komori

LA

Laos

LR

Liberija

LS

Lesoto

MG

Madagaskar

ML

Mali

MM

Burma/Mjanmar

MR

Mauritanija

MV

Maldivi

MW

Malavi

MZ

Mozambik

NE

Niger

NP

Nepal

RW

Ruanda

SB

Solomonski otoci

SD

Sudan

SL

Sijera Leone

SN

Senegal

SO

Somalija

ST

Sveti Toma i Prinsipe

TD

Čad

TG

Togo

TL

Timor Leste

TV

Tuvalu

TZ

Tanzanija

UG

Uganda

VU

Vanuatu

WS

Američka Samoa

YE

Jemen

ZM

Zambija

Zemlje korisnice posebnog dogovora za najnerazvijenije zemlje iz članka 1. stavka 2. točke (c) koje su privremeno opozvane iz dogovora u odnosu na sve ili određene proizvode s podrijetlom u tim zemljama

Stupac A

:

abecedni kod, u skladu s nomenklaturom zemalja i državnih područja za vanjskotrgovinsku statistiku Unije

Stupac B

:

naziv

A

B

MM

Burma/Mjanmar


(1)  Popis uključuje zemlje za koje su povlastice možda privremeno opozvane ili suspendirane Komisija ili nadležna tijela odnosne zemlje moći će osigurati ažurirani popis.

PRILOG V.

Popis proizvoda uključenih u opći dogovor iz članka 1. stavka 2. točke (a)

Neovisno o pravilima za tumačenje Kombinirane nomenklature (KN), opis proizvoda smatra se indikativnim, dok se carinske povlastice utvrđuju pomoću oznaka KN. Ako su navedene „ex” oznake KN, carinske povlastice utvrđuju se zajedničkom primjenom oznake KN i opisa.

Upis proizvoda s oznakom KN označenom pomoću asteriska podliježe uvjetima predviđenim odgovarajućim odredbama Unije.

Stupac „odjeljak” navodi odjeljke OSP-a (članak 2. točka (h)).

Stupac „poglavlje” navodi poglavlja KN-a pokrivena odjeljkom OSP-a (članak 2. točka (i)).

Stupac „osjetljivo/neosjetljivo” odnosi se na proizvode uključene u opći dogovor (članak 6). Ovi proizvodi navedeni su kao NS (neosjetljivi, za potrebe članka 7. stavka 1.) ili O (osjetljivi, za potrebe članka 7. stavka 2.).

Za potrebe pojednostavljenja, proizvodi su navedeni u skupinama. One mogu uključivati proizvode za koje su carine iz Zajedničke carinske tarife opozvane ili suspendirane.

Odjeljak

Poglavlje

Oznaka KN

Naziv proizvoda

Osjetljivi/Neosjetljivi

S-1a

01

0101 29 90

Živi konji, osim čistokrvnih rasplodnih životinja, osim za klanje

O

0101 30 00

Živi magarci

O

0101 90 00

Žive mazge i mule

O

0104 20 10*

Žive, čistokrvne rasplodne koze

O

0106 14 10

Živi domaći kunići

O

0106 39 10

Živi golubi

O

02

0205 00

Konjsko i magareće meso, meso mula i mazgi, svježe, oshlađeno ili smrznuto

O

0206 80 91

Jestivi nusproizvodi klanja od konja, magaraca, mazgi ili mula, svježi ili ohlađeni, osim onih koji se upotrebljavaju za proizvodnju farmaceutskih proizvoda

O

0206 90 91

Jestivi nusproizvodi klanja od konja, magaraca, mazgi ili mula, smrznuti, osim onih koji se upotrebljavaju za proizvodnju farmaceutskih proizvoda

O

0207 14 91

Jetra, smrznuta, od kokoši vrste Gallus domesticus

O

0207 27 91

Jetra, smrznuta, od pura

O

0207 45 95

0207 55 95

0207 60 91

Jetra, smrznuta, pataka, gusaka ili biserki, osim masne jetre pataka ili gusaka

O

0208 90 70

Žablji bataci

N

0210 99 10

Meso konja, soljeno, u salamuri ili sušeno

O

0210 99 59

Nusproizvodi klanja od životinja vrste goveda, soljeni, u salamuri, sušeni ili dimljeni, bez mišićne i tetivne prepone

O

ex 0210 99 85

Nusproizvodi klanja od ovaca ili koza, soljeni, u salamuri, sušeni ili dimljeni

O

ex 0210 99 85

Klaonički proizvodi, soljeni, u salamuri, sušeni ili dimljeni, osim od domaćih svinja, životinja vrsta goveda ili ovaca ili koza

O

04

0403 10 51

Jogurt, aromatiziran ili s dodanim voćem, orašastim plodovima ili kakaom:

O

0403 10 53

0403 10 59

0403 10 91

0403 10 93

0403 10 99

0403 90 71

Mlaćenica, kiselo mlijeko i vrhnje, kefir i ostalo fermentirano ili zakiseljeno mlijeko i vrhnje, aromatizirani ili koji sadrže dodano voće, orašaste plodove ili kakao

O

0403 90 73

0403 90 79

0403 90 91

0403 90 93

0403 90 99

0405 20 10

Mliječni namazi sa sadržajem masti od 39 % po masi ili više, ali koji ne prelazi 75 %

O

0405 20 30

0407 19 90

0407 29 90

0407 90 90

Jaja peradi i ptičja jaja, u ljusci, svježa, konzervirana ili kuhana, osim mesa peradi

O

0410 00 00

Jestivi proizvodi životinjskog podrijetla koji nisu spomenuti niti uključeni na drugom mjestu

O

05

0511 99 39

Prirodne spužve životinjskog podrijetla, osim sirovih

O

S-1b

03

ex Poglavlje 3.

Ribe i rakovi, mekušci i ostali vodeni beskralješnjaci; osim proizvoda iz tarifnog podbroja 0301 19 00

O

0301 19 00

Žive ukrasne morske ribe

N

S-2a

06

ex Poglavlje 6.

Živo drveće i druge biljke; lukovice, korijenje i slično; rezano cvijeće i ukrasno lišće, osim proizvoda iz tarifnog podbroja 0603 12 00 i 0604 20 40

O

0603 12 00

Rezani karanfili i pupoljci prikladni za bukete ili za ukras

N

0604 20 40

Grane od crnogorice, svježe

N

S-2b

07

0701

Krumpir, svjež ili ohlađen

O

0703 10

Crveni luk i ljutika (škalonja), svježi ili ohlađen

O

0703 90 00

Poriluk i ostalo lukovičasto povrće, svježe ili ohlađeno

O

0704

Kupus, cvjetača, koraba, kelj i slično kupusno jestivo povrće, svježe ili ohlađeno

O

0705

Salata (Lactuca sativa) i cikorija (Cichorium spp.), svježe ili ohlađene

O

0706

Mrkva, bijela repa, cikla, turovac, celer korijen, rotkve i slično jestivo korijenje, svježe ili ohlađeno

O

ex 0707 00 05

Krastavci, svježi ili ohlađeni, od 16. svibnja do 31. listopada

O

0708

Mahunasto povrće, u mahunama ili zrnu, svježe ili ohlađeno

O

0709 20 00

Šparoge, svježe ili ohlađene

O

0709 30 00

Patlidžani, svježe ili ohlađeno

O

0709 40 00

Celer, osim celera korjenaša, svježe ili ohlađeno

O

0709 51 00

ex 0709 59

Gljive, svježe ili ohlađene, osim proizvoda iz tarifnog podbroja 0709 59 50

O

0709 60 10

Slatke paprike, svježe ili ohlađene

O

0709 60 99

Plodovi roda Capsicum ili roda Pimenta, svježe ili ohlađeno, osim slatke paprike, osim za proizvodnju capcisina ili boja na osnovi capsicum oleorezina i osim za industrijsku proizvodnju eteričnih ulja ili rezinoida

O

0709 70 00

Špinat, novozelandski špinat i loboda, svježe ili ohlađeno

O

ex 0709 91 00

Artičoke, svježe ili ohlađene, od 1. srpnja do 31. listopada

O

0709 92 10*

Masline, svježe ili ohlađene, za raznu uporabu osim za proizvodnju ulja

O

0709 93 10

Tikvice, svježe ili ohlađene

O

0709 93 90

0709 99 90

Ostalo povrće, svježe ili hlađeno

O

0709 99 10

Salatno povrće, svježe ili ohlađeno, osim zelene salate (Lactuca sativa) i endivije (Cichorium spp.)

O

0709 99 20

Šećerna repa i španjolske artičoke, svježe ili ohlađene

O

0709 99 40

Kapari, svježi ili ohlađene

O

0709 99 50

Komorač, svježi ili ohlađeni

O

ex 0710

Povrće (nekuhano ili kuhano u pari ili vodi), smrznuto, osim proizvoda iz tarifnog podbroja 0710 80 85

O

ex 0711

Povrće privremeno konzervirano (npr. sumpornim dioksidom, u slanoj vodi, u sumpornoj vodi ili drugim otopinama za konzerviranje), ali koji su u tom stanju neprikladni za neposrednu prehranu, osim proizvoda iz tarifnog podbroja 0711 20 90

O

ex 0712

Povrće, suho, cijelo, rezano, u kriškama, lomljeno ili u prahu, ali dalje nepripremljeno, osim maslina i proizvoda iz tarifnog podbroja 0712 90 19

O

0713

Sušeno mahunasto povrće, oljušteno, neovisno o tome je li skinuta koža nije i je li razrezano ili ne

O

0714 20 10*

Slatki krumpir, svježi, cijeli, namijenjen ljudskoj prehrani

N

0714 20 90

Slatki krumpir, svježi, ohlađeni, smrznuti ili sušeni, bez obzira je li rezan ili u obliku peleta, osim svježeg i cijelog i namijenjenog ljudskoj prehrani

O

0714 90 90

Topinambur (čičoka) i slično korijenje i gomolji s visokim sadržajem škroba ili inulina, svježi, ohlađeni, smrznuti ili osušeni, cijeli ili rezani ili u obliku peleta; srž od sago-drveta

N

08

0802 11 90

Bademi, svježi ili suhi, u ljusci ili oljušteni, osim gorkih

O

0802 12 90

0802 21 00

Lješnjaci (Corylus spp.), svježi ili suhi, u ljusci ili oljušteni

O

0802 22 00

0802 31 00

Orasi, svježi ili suhi, u ljusci ili oljušteni

O

0802 32 00

0802 41 00

0802 42 00

Kesteni (Castanea spp.), svježi ili suhi, oljušteni ili neoljušteni

O

0802 51 00

0802 52 00

Pistacije, svježe ili suhe, oljuštene ili neoljuštene

N

0802 61 00

0802 62 00

Makadami orasi, svježi ili suhi, oljušteni ili neoljušteni

N

0802 90 50

Makadami orasi, svježi ili suhi, oljušteni ili neoljušteni

N

0802 90 85

Ostali orašasti plodovi, svježi ili suhi, oljušteni ili neoljušteni

N

0803 10 10

Banane, svježe

O

0803 10 90

0803 90 90

Banane, uključujući banane za kuhanje, suhe

O

0804 10 00

Datulje, svježe ili suhe

O

0804 20 10

Smokve, svježe ili suhe

O

0804 20 90

0804 30 00

Ananas, svježi ili suhi

O

0804 40 00

Avokado, svježi ili suhi

O

ex 0805 20

Mandarine (uključujući tangerske i satsuma mandarine) i klementine, wilking mandarine i slični hibridi agruma, svježi ili suhi, od 1. ožujka do 31. listopada

O

0805 40 00

Grejp (grape-fruit), uključujući pomelo, svježi ili suhi

N

0805 50 90

Limeta (Citrus aurantifolia, Citrus latifolia), svježa ili suha

O

0805 90 00

Ostali agrumi, svježi ili suhi

O

ex 0806 10 10

Stolno grožđe, svježe, od 1. siječnja do 20. srpnja i od 21. studenoga do 31. prosinca, osim grožđa vrste Emperor (Vitis vinirera cv.) od 1. do 31. prosinca

O

0806 10 90

Ostalo grožđe, svježe

O

ex 0806 20

Suho grožđe, osim proizvoda iz tarifnog podbroja ex 0806 20 30 u neposrednim spremnicima neto kapaciteta koji premašuje 2 kg

O

0807 11 00

Dinje (uključujući lubenice), svježe

O

0807 19 00

0808 10 10

Jabuke za preradu, svježe, u rasutom stanju, od 16. rujna do 15. prosinca

O

0808 30 10

Kruške za preradu, svježe, u rasutom stanju, od 1. kolovoza do 31. prosinca

O

ex 0808 30 90

Ostale kruške, svježe, od 1. svibnja do 30. lipnja

O

0808 40 00

Dunje, svježe

O

ex 0809 10 00

Marelice, svježe, od 1. siječnja do 31. svibnja i od 1. kolovoza do 31. prosinca

O

0809 21 00

Višnje (Prunus cerasus), svježe

O

ex 0809 29

Trešnje, svježe, od 1. siječnja do 20. svibnja i od 11. kolovoza do 31. prosinca, osim višanja (Prunus cerasus)

O

ex 0809 30

Breskve, uključujući nektarine, svježe, od 1. siječnja do 10. lipnja i od 1. listopada do 31. prosinca

O

ex 0809 40 05

Šljive, svježe, od 1. siječnja do 10. lipnja i od 1. listopada do 31. prosinca

O

0809 40 90

Divlje šljive, svježe

O

ex 0810 10 00

Jagode, svježe, od 1. siječnja do 30. travnja i od 1. kolovoza do 31. prosinca

O

0810 20

Maline, kupine, murva (dud) i loganove bobice, svježe

O

0810 30 00

Crni, bijeli ili crveni ribiz i ogrozd, svježi

O

0810 40 30

Voće vrste Vaccinium myrtillus, svježe

O

0810 40 50

Voće vrste Vaccinium macrocarpon i Vaccinium corymbosum, svježe

O

0810 40 90

Ostalo voće roda Vaccinium, svježe

O

0810 50 00

Kivi, svježi

O

0810 60 00

Durian, svježi

O

0810 70 00

Kaki

O

0810 90 75

Ostalo voće, svježe

ex 0811

Voće i orašasti plodovi, nekuhani ili kuhani u vodi ili pari, smrznuti, s dodanim ili bez dodanog šećera ili drugih sladila, osim proizvoda iz tarifnog podbroja 0811 10 i 0811 20

O

ex 0812

Voće i orašasti plodovi, privremeno konzervirano (npr. sumpornim dioksidom, u slanoj vodi, u sumpornoj vodi ili drugim otopinama za konzerviranje), ali koji su u tom stanju neprikladni za neposrednu prehranu, osim proizvoda iz tarifnog podbroja 0812 90 30

O

0812 90 30

Papaje

N

0813 10 00

Marelice, suhe

O

0813 20 00

Šljive

O

0813 30 00

Jabuke, suhe

O

0813 40 10

Breskve, uključujući nektarine, suhe

O

0813 40 30

Kruške, suhe

O

0813 40 50

Papaje, suhe

N

0813 40 95

Ostalo voće, suho, osim onog iz tarifnih brojeva 0801 do 0806

N

0813 50 12

Mješavine suhog voća (osim onog iz tarifnih brojeva 0801 do 0806) papaja, tamarinda, cashew jabuka, ličija, kruhovca (jackfruit), sapodilo šljiva, marakuja (pasiflora), karambola i pitaja, ali bez šljiva

O

0813 50 15

Ostale mješavine suhog voća (osim onog iz tarifnih brojeva 0801 do 0806), bez šljiva

O

0813 50 19

Mješavine suhog voća (osim onog iz tarifnih brojeva 0801 do 0806), sa šljivama

O

0813 50 31

Mješavine isključivo od tropskih orašastih plodova iz tarifnih podbrojeva 0801 i 0802

O

0813 50 39

Mješavine isključivo od orašastih plodova iz tarifnih podbrojeva 0801 i 0802, osim tropskih orašastih plodova

O

0813 50 91

Ostale mješavine orašastih plodova i suhog voća iz poglavlja 8., bez šljiva ili smokava

O

0813 50 99

Ostale mješavine orašastih plodova i suhog voća iz poglavlja 8.

O

0814 00 00

Kore agruma ili dinja (uključujući lubenice), svježe, smrznute, suhe ili privremeno konzervirane u slanoj vodi, sumpornoj vodi ili u drugim otopinama za konzerviranje

N

S-2c

09

ex Poglavlje 9.

Kava, čaj, mate čaj i začini, osim proizvoda iz tarifnih podbrojeva 0901 12 00, 0901 21 00, 0901 22 00, 0901 90 90 i 0904 21 10, tarifnih brojeva 0905 00 00 i 0907 00 00, i tarifnih brojeva 0910 91 90, 0910 99 33, 0910 99 39, 0910 99 50 i 0910 99 99

N

0901 12 00

Kava, nepržena, bez kofeina

O

0901 21 00

Kava, pržena, s kofeinom

O

0901 22 00

Kava, pržena, bez kofeina

O

0901 90 90

Nadomjesci kave koji sadrže kavu u bilo kojem omjeru:

O

0904 21 10

Slatka paprika, suha, nedrobljena i nemljevena

O

0905

Vanilija

O

0907

Klinčići (cijeli plodovi, pupoljci i peteljke)

O

0910 91 90

Mješavine dva ili više proizvoda pod različitim tarifnim brojevima 0904 i 0910, drobljene i mljevene

O

0910 99 33

Timijan; majčina dušica

O

0910 99 39

0910 99 50

0910 99 99

Ostali začini, drobljeni ili mljeveni, osim mješavina dva ili više proizvoda pod različitim tarifnim brojevima tarifnih brojeva 0904 i 0910

O

S-2d

10

1008 50 00

Kvinoa (Chenopodium quinoa)

O

11

1104 29 17

Oljuštena zrna žitarica, osim ječma, zobi, kukuruza, riže i pšenice

O

1105

Brašno, krupica, prah, pahuljice, granule i pelete od krumpira

O

1106 10 00

Brašno, krupica i prah od suhog mahunastog povrća iz tarifnog broja 0713

O

1106 30

Brašno, krupica i prah proizvoda iz poglavlja 8.

O

1108 20 00

Inulin

O

12

ex Poglavlje 12.

Uljano sjemenje i plodovi; razno zrnje, sjemenje i plodovi; osim proizvoda iz tarifnih podbrojeva 1209 21 00, 1209 23 80, 1209 29 50, 1209 29 80, 1209 30 00, 1209 91 80 i 1209 99 91; industrijsko i ljekovito bilje, osim proizvoda iz tarifnog podbroja 1211 90 30, i osim proizvoda iz tarifnog broja 1210 i podbrojeva 1212 91 i 1212 93 00

O

1209 21 00

Sjeme lucerne (alfalfa), vrsta koja se koristi za sijanje

N

1209 23 80

Sjeme vlasulje, vrsta koja se koristi za sijanje

N

1209 29 50

Sjeme lupine, vrsta koja se koristi za sijanje

N

1209 29 80

Sjeme ostalog krmnog bilja, vrsta koja se koristi za sijanje

N

1209 30 00

Sjeme travnatog bilja koje se uzgaja prvenstveno zbog njihovih cvjetova, vrsta koja se koristi za sijanje

N

1209 91 80

Ostalo sjeme povrća, vrsta koja se koristi za sijanje

N

1209 99 91

Sjeme bilja koga se uzgaja prvenstveno zbog njihovih cvjetova, vrsta koja se koristi za sijanje, osim onog iz tarifnog podbroja 1209 30 00

N

1211 90 30

Tonka grah, svježi ili suhi, rezani ili nerezani, drobljeni ili pretvoren u prah

N

13

ex Poglavlje 13.

Šelak; gume, smole i ostali biljni sokovi i ekstrakti, osim proizvoda iz tarifnog podbroja 1302 12 00

O

1302 12 00

Biljni sokovi i ekstrakti od slatkog korijena

N

S-3

15

1501 90 00

Mast peradi, osim onog iz tarifnih brojeva 0209 ili 1503

O

1502 10 90

1502 90 90

Masti od životinja vrste goveda, od ovaca ili koza, osim onih iz tarifnog broja 1503 i ostalo, osim za industrijske svrhe osim za proizvodnju prehrambenih proizvoda za ljudsku potrošnju

O

1503 00 19

Stearin od sala i oleostearin, osim za industrijsku uporabu

O

1503 00 90

Stearin od sala, oleo ulje i ulje od loja, neemulgirani ili nemiješani ili na drugi način pripremljeni, osim ulja od loja za industrijsku uporabu, osim za proizvodnju prehrambenih proizvoda za ljudsku potrošnju

O

1504

Masti i ulja te njihove frakcije, od riba ili morskih sisavaca, neovisno jesu li rafinirani ili ne, ali kemijski nemodificirani

O

1505 00 10

Masti od vune, sirove

O

1507

Sojino ulje i njegove frakcije, rafinirani ili nerafinirani, ali kemijski nemodificirani

O

1508

Ulje od kikirikija i njegove frakcije, rafinirani ili nerafinirani, ali kemijski nemodificirani

O

1511 10 90

Palmino ulje, sirovo, osim za tehničke ili industrijske svrhe, osim za proizvodnju prehrambenih proizvoda za ljude

O

1511 90

Palmino ulje i njegove frakcije, rafinirani ili nerafinirani, ali kemijski nemodificirani, osim sirovog ulja

O

1512

Ulje od sjemena suncokreta, šafranike ili pamuka i njihove frakcije, rafinirani ili nerafinirani, ali kemijski nemodificirani

O

1513

Ulje od kokosovog oraha (kopre), palminih koštica (jezgri) ili babasu ulje i njihove frakcije, rafinirani ili nerafinirani, ali kemijski nemodificirani

O

1514

Ulje od repice ili ulje od gorušice i njihove frakcije, rafinirani ili nerafinirani, ali kemijski nemodificirani

O

1515

Ostale biljne masti i ulja, nehlapljivi (uključujući jojoba ulje) i njihove frakcije, rafinirani i nerafinirani, ali kemijski nemodificirani:

O

ex 1516

Masti i ulja životinjskog ili biljnog podrijetla i njihove frakcije, djelomično ili potpuno hidrogenirani, interesterificirani, reesterificirani ili elaidinizirani, rafinirani ili ne, ali dalje nepripremljeni, osim za proizvode iz tarifnog podbroja 1516 20 10

O

1516 20 10

Hidrogenirano ricinusovo ulje, tzv. opal-wax

N

1517

Margarin; jestive mješavine ili pripravci od masti ili ulja životinjskog ili biljnog podrijetla ili od frakcija različitih masti ili ulja iz poglavlja 15., osim jestivih masti ili ulja ili njihovih frakcija iz tarifnog broja 1516

O

1518 00

Životinjske ili biljne masti i ulja te njihove frakcije, kuhani, oksidirani, dehidrirani, sumporirani, puhani, polimerizirani zagrijavanjem u vakuumu ili u inertnom plinu ili drukčije kemijski modificirani, osim onih iz tarifnog broja 1516; nejestive mješavine ili pripravci od životinjskih ili biljnih masti ili ulja ili od frakcija različitih masti ili ulja iz poglavlja 15., nespomenuti niti uključeni na drugom mjestu

O

1521 90 99

Pčelinji vosak i voskovi od ostalih insekata, rafinirani ili obojeni ili ne, osim sirovog

O

1522 00 10

Degra

O

1522 00 91

Uljni talozi; sapunski talozi, osim onih koji sadrže ulje koje ima obilježja maslinovog ulja

O

S-4a

16

1601 00 10

Kobasice i slični proizvodi, od jetre, i prehrambeni proizvodi na osnovi jetre

O

1602 20 10

Jetra guske ili patke, pripremljena ili konzervirana

O

1602 41 90

Šunke i komadi od njih, pripremljena ili konzervirana, od svinje, osim domaće svinje

O

1602 42 90

Plećke i komadi od njih, pripremljene ili konzervirane, od svinje, osim domaće svinje

O

1602 49 90

Ostali pripremljeni ili konzervirani proizvodi od mesa ili mesnih klaoničkih proizvoda, što uključuje mješavine, od svinje, osim domaće svinje

O

1602 90 31

Ostali pripremljeni ili konzervirani proizvodi od mesa ili drugih mesnih nusproizvoda klanja od divljači ili zečeva

O

1602 90 69

Ostali pripremljeni ili konzervirani proizvodi od mesa ili drugih mesnih nusproizvoda klanja od ovaca ili koza ili drugih životinja, koji ne sadrže nekuhanu govedinu ili druge mesne nusproizvode klanja i ne sadrže meso ili druge mesne nusproizvode klanja domaće svinje

O

1602 90 91

1602 90 95

1602 90 99

1602 90 78

1603 00 10

Ekstrakti i sokovi od mesa, riba ili rakova, mekušaca ili od drugih vodenih beskralješnjaka, u neposrednim pakiranjima neto-mase 1 kg ili manje

O

1604

Pripremljena ili konzervirana riba; kavijar i nadomjesci kavijara pripremljeni od ribljih jaja

O

1605

Raci (rakovi), mekušci i ostali vodeni beskralježnjaci, pripremljeni ili konzervirani

O

S-4b

17

1702 50 00

Kemijski čista fruktoza

O

1702 90 10

Kemijski čista maltoza

O

1704

Proizvodi od šećera (uključujući bijelu čokoladu), bez kakaa

O

18

Poglavlje 18.

Kakao i kakao proizvodi

O

19

ex Poglavlje 19.

Proizvodi od žitarica, brašna, škroba ili mlijeka; slastičarski proizvodi, osim proizvoda iz tafinog podbroja 1901 20 00 i 1901 90 91

O

1901 20 00

Mješavine i tijesta za proizvodnju pekarskih proizvoda iz tarifnog broja 1905

N

1901 90 91

Ostalo, koji ne sadrži mliječne masti, saharozu, izoglukozu, glukozu ili škrob, ili s masenim udjelom mliječne masti manjim od 1,5 %, saharoze (uključujući invertni šećer) ili izoglukoze manjim od 5 %, glukoze ili škroba manjim od 5 %, isključujući prehrambene proizvode u prahu od roba iz tarifnih brojeva od 0401 do 0404

N

20

ex Poglavlje 20.

Proizvodi od povrća, voća, orašastih plodova ili drugih dijelova biljaka, osim za proizvode iz tarifnih podbrojeva 2008 20 19, 2008 20 39, i osim proizvoda iz tarifnog broja 2002 i tarifne podbrojeve 2005 80 00, 2008 40 19, 2008 40 31, 2008 40 51 to 2008 40 90, 2008 70 19, 2008 70 51, 2008 70 61 do 2008 70 98

O

2008 20 19

Ananas, drukčije pripremljen ili konzerviran, s dodanim alkoholom, nespomenut niti uključen na drugom mjestu

N

2008 20 39

21

ex Poglavlje 21.

Razni prehrambeni proizvodi, osim proizvoda iz tarifnih podbrojeva 2101 20 i 2102 20 19, i osim proizvoda iz tarifnih podbrojeva 2106 10, 2106 90 30, 2106 90 51, 2106 90 55 i 2106 90 59

O

2101 20

Ekstrakti, esencije i koncentrati čaja ili mate-čaja te pripravci na osnovi tih ekstrakata, esencija ili koncentrata ili na osnovi čaja ili mate-čaja

N

2102 20 19

Ostali neaktivni kvasci

N

22

ex Poglavlje 22.

Pića, alkoholi i ocat, osim proizvoda iz tarifnog broja 2207, tarifnih podbrojeva 2204 10 11 do 2204 30 10 i tarifnog podbroja 2208 40

O

23

2302 50 00

Ostaci i otpad slične vrste, neovisno jesu li u obliku peleta ili ne, dobiveni mljevenjem ili drugom obradom mahunarki

O

2307 00 19

Ostali vinski talog

O

2308 00 19

Ostala komina od grožđa

O

2308 00 90

Ostali biljni materijali i biljni otpaci, biljni ostaci i sporedni proizvodi, peletirani ili nepeletirani, koji se rabe za prehranu životinja, koji nisu spomenuti niti uključeni na drugom mjestu

N

2309 10 90

Ostala hrana za pse i mačke pripremljena u pakiranja za pojedinačnu prodaju, osim one sa sadržajem škroba, glukoze, glukoznog sirupa, maltodekstrina ili maltodekstrinskog sirupa iz podbrojeva 1702 30 50, 1702 30 90, 1702 40 90, 1702 90 50 i 2106 90 55 ili mliječnih proizvoda

O

2309 90 10

Topive tvari od riba ili morskih sisavaca, vrste koja se koristi za prehranu životinja

N

2309 90 91

Rezanci šećerne repe s dodanom melasom, vrste koja se koristi za prehranu životinja

O

2309 90 96

Ostali pripravci vrste koja se koristi za prehranu životinja, bez obzira sadrže li 49 % ili više masenog udjela kolin klorida na organskoj ili anorganskoj osnovi

O

S-4c

24

ex Poglavlje 24.

Duhan i prerađeni nadomjesci duhana, osim proizvoda iz tarifnog podbroja 2401 10 60

O

2401 10 60

Na suncu sušen duhan orijentalnog tipa, neižiljen

N

S-5

25

2519 90 10

Magnezijev oksid, osim kalciniranog prirodnog magnezijevog karbonata

N

2522

Živo vapno, gašeno vapno i hidraulično vapno, osim kalcijevog oksida i hidroksida iz tarifnog broja 2825

N

2523

Portland-cement, aluminatni cement, metalurški cement, supersulfatni cement i slični hidraulični cementi, uključujući obojene ili u obliku klinkera

N

27

Poglavlje 27.

Mineralna goriva, mineralna ulja i proizvodi koji nastaju njihovom destilacijom, bitumen, mineralni voskovi

N

S-6a

28

2801

Fluor, klor, brom i jod

N

2802 00 00

Sumpor, sublimirani ili taloženi, koloidni sumpor

N

ex 2804

Vodik, plemeniti (rijetki) plinovi i ostali nemetali, osim proizvoda iz tarifnog podbroja 2804 69 00

N

2805 19

Alkalijske ili zemnoalkalijske kovine, osim natrija i kalcija

N

2805 30

Kovine rijetkih zemalja, skandij i itrij, neovisno jesu li međusobno pomiješani ili legirani ili ne

N

2806

Klorovodik (klorovodična kiselina); klorsulfonska kiselina

N

2807 00

Otopina sumporne kiseline; oleum

N

2808 00 00

Dušična kiselina; sulfodušične kiseline

N

2809

Difosforov pentaoksid; fosforna kiselina; polifosforne kiseline, neovisno jesu li kemijski definirane ili ne

N

2810 00 90

Borovi oksidi, osim diboron trioksida; borne kiseline

N

2811

Ostale anorganske kiseline i ostali anorganski kisikovi spojevi nemetala

N

2812

Halogenidi i oksihalogenidi nemetala

N

2813

Sulfidi nemetala; komercijalni fosforov trisulfid

N

2814

Amonijak, bezvodni ili u vodenoj otopini

O

2815

Natrijev hidroksid (kaustična soda), kalijev hidroksid (kaustična potaša), natrijevi ili kalijevi peroksidi

O

2816

Magnezijev hidroksid i peroksid; oksidi, hidroksidi i peroksidi stroncija ili barija

N

2817 00 00

Cinkov oksid; cinkov peroksid

O

2818 10

Umjetni korund, kemijski definiran ili ne

O

2818 20

Aluminijev oksid, osim umjetnog korunda

N

2819

Kromovi oksidi i hidroksidi

O

2820

Manganovi oksidi

O

2821

Željezni oksidi i hidroksidi; zemljane boje, s masenim udjelom vezanog željeza, izraženog kao Fe2O3, 70 % ili većim

N

2822 00 00

Kobaltovi oksidi i hidroksidi; komercijalni kobaltovi oksidi

N

2823 00 00

Titanijevi oksidi

O

2824

Olovni oksidi; minij i narančasto olovo

N

ex 2825

Hidrazin i hidroksilamin i njihove anorganske soli, ostale anorganske baze, ostali metalni oksidi, hidroksidi i peroksidi, osim za proizvode iz tarifnih podbrojeva 2825 10 00 i 2825 80 00

N

2825 10 00

Hidrazin i hidroksilamini, te njihove anorganske soli

O

2825 80 00

Antimonovi oksidi

O

2826

Fluoridi; fluorosilikati, fluoroaluminati i ostale kompleksne soli fluora

N

ex 2827

Kloridi, oksikloridi i hidroksikloridi, osim proizvoda iz tarifnih podbrojeva 2827 10 00 i 2827 32 00; bromidi i oksibromidi; jodidi i oksijodidi

N

2827 10 00

Amonijev klorid

O

2827 32 00

Aluminijev klorid

O

2828

Hipokloriti; komercijalni kalcijev hipoklorit; kloriti; hipobromiti

N

2829

Klorati i perklorati; bromati i perbromati; jodati i perjodati

N

ex 2830

Sulfidi, osim proizvoda iz tarifnog podbroja 2830 10 00; polisulfidi, neovisno jesu li kemijski određeni ili ne

N

2830 10 00

Natrijevi sulfidi

O

2831

Ditioniti i sulfoksilati

N

2832

Sulfiti; tiosulfiti

N

2833

Sulfati; alauni; peroksisulfati (persulfati)

N

2834 10 00

Nitriti

O

2834 21 00

Nitrati

N

2834 29

2835

Fosfinati (hipofosfiti), fosfonati (fosfiti) i fosfati; polifosfati, neovisno jesu li kemijski određeni ili ne

O

ex 2836

Karbonati, osim proizvoda iz tarifnih podbrojeva 2836 20 00, 2836 40 00 i 2836 60 00; peroksikarbonati (perkarbonati); komercijalni amonijev karbonat što sadrži amonijev karbamat

N

2836 20 00

Dinatrijev karbonat

O

2836 40 00

Kalijevi karbonati

O

2836 60 00

Barijev karbonat

O

2837

Cijanidi, oksidi cijanida i kompleksni cijanidi

N

2839

Silikati; komercijalni silikati alkalnih kovina

N

2840

Borati i perborati

N

ex 2841

Soli oksikovinskih ili peroksikovinskih kiselina, osim proizvoda iz tarifnog podbroja 2841 61 00

N

2841 61 00

Kalijev permanganat

O

2842

Ostale soli anorganskih kiselina ili peroksikiselina (uključujući aluminosilikate, neovisno jesu li kemijski određeni ili ne), osim azida

N

2843

Plemenite kovine u koloidnom stanju; anorganski ili organski spojevi plemenitih kovina, neovisno jesu li kemijski određeni ili ne; amalgami plemenitih kovina

N

ex 2844 30 11

Kermeti koji sadrže uran osiromašen u U 235 i njegove spojeve, osim neobrađeni

N

ex 2844 30 51

Kermeti koji sadrže torij i njegove spojeve, osim neobrađeni

N

2845 90 90

Izotopi osim onih iz tarifnog podbroja 2844; i spojevi, anorganski ili organski, takvih izotopa, jesu li kemijski određeni ili ne, osim deuterija i njegovih spojeva, hidrogena i njegovih spojeva obogaćenih deuterijem ili mješavinama i otopinama koje sadrže te proizvode

N

2846

Anorganski i organski spojevi kovina rijetkih zemlji, itrija ili skandija ili mješavina tih kovina

N

2847 00 00

Vodikov peroksid, neovisno je li očvrsnut ureom ili ne

N

2848 00 00

Fosfidi, neovisno jesu li kemijski određeni ili ne, osim ferofosfora

N

ex 2849

Karbidi, neovisno jesu li kemijski određeni ili ne, osim proizvoda iz tarifnih podbrojeva 2849 20 00 i 2849 90 30

N

2849 20 00

Silikon karbid, neovisno jesu li kemijski određeni ili ne

O

2849 90 30

Karbidi volframa, neovisno jesu li kemijski određeni ili ne

O

ex 2850 00

Hidridi, nitridi, azidi i boridi, neovisno jesu li kemijski određeni ili ne, osim spojeva koji su ujedno i karbidi iz tarifnog broja 2849

N

ex 2850 00 60

Silicidi, neovisno jesu li kemijski određeni ili ne

O

2852 00 00

Anorganski ili organski spojevi žive, isključujući amalgame

N

2853 00

Ostali anorganski spojevi (uključujući destiliranu ili elektrovodljivu vodu i vodu slične čistoće); tekući zrak (neovisno jesu li izdvojeni plemeniti plinovi ili ne); stlačeni zrak; amalgami, osim amalgama plemenitih kovina

N

29

2903

Halogeni derivati ugljikovodika

O

ex 2904

Sulfo-, nitro- ili nitrozo derivati ugljikovodika, neovisno jesu li halogeni, osim proizvoda iz tarifnog podbroja 2904 20 00

N

2904 20 00

Derivati koji sadrže samo nitro ili samo nitrozo skupine

O

ex 2905

Aciklički alkoholi i njihovi halogeni-, sulfo-, nitro- ili nitrozo derivati, osim proizvoda iz tarifnog podbroja 2905 45 00, i osim proizvoda iz tarifnih podbrojeva 2905 43 00 i 2905 44

O

2905 45 00

Glicerol

N

2906

Ciklički alkoholi i njihovi halogeni-, sulfo-, nitro- ili nitrozo derivati

N

ex 2907

Fenoli, osim za proizvode iz tarifnog podbroja 2907 15 90 i ex 2907 22 00; fenol-alkoholi

N

2907 15 90

Naftoli i njihove soli, osim 1-naftola

O

ex 2907 22 00

Hidrokinon (kinol)

O

2908

Halogeni-, sulfo-, nitro- ili nitrozo derivati fenola ili fenolnih alkohola

N

2909

Eteri, eter alkoholi, eter fenoli, eter alkohol-fenoli, peroksidi alkohola, peroksidi etera, peroksidi ketona (neovisno jesu li kemijski određeni ili ne) i njihovi halogeni-, sulfo-, nitro- ili nitrozo derivati

O

2910

Epoksidi, epoksialkoholi, epoksifenoli i epoksieteri, s tročlanim prstenom, te njihovi halogeni-, sulfo-, nitro- ili nitrozo derivati

N

2911 00 00

Acetali i poluacetali, neovisno imaju li drugu kisikovu skupinu ili ne, te njihovi halogeni-, sulfo-, nitro- ili nitrozo derivati

N

ex 2912

Aldehidi, neovisno imaju li drugu kisikovu skupinu ili ne; ciklički polimeri aldehida; paraformaldehid, osim proizvoda iz tarifnog podbroja 2912 41 00

N

2912 41 00

Vanilin (4-hidroksi-3-metoksibenzaldehid)

O

2913 00 00

Halogeni-, sulfo-, nitro- ili nitrozo derivati proizvoda uvrštenih u tarifni broj 2912

N

ex 2914

Ketoni i kvinoni, neovisno imaju li drugu kisikovu skupinu ili ne, te njihovi halogeni-, sulfo-, nitro- ili nitrozo derivati, osim proizvoda iz tarifnih podbrojeva 2914 11 00, ex 2914 29 i 2914 22 00

N

2914 11 00

Aceton

O

ex 2914 29

Kamfor

O

2914 22 00

Cikloheksanon i metilcikloheksanoni

O

2915

Zasićene acikličke monokarboksilne kiseline i njihovi anhidridi, halogenidi, peroksidi i perkiseline; njihovi halogeni-, sulfo-, nitro- ili nitrozo derivati

O

ex 2916

Nezasićene acikličke monokarboksilne kiseline i cikličke monokarboksilne kiseline, njihovi anhidridi, halogenidi, peroksidi i perkiseline; njihovi halogeni-, sulfo-, nitro- ili nitrozo derivati, osim proizvoda iz tarifnih podbrojeva ex 2916 11 00, 2916 12 i 2916 14

N

ex 2916 11 00

Akrilna kiselina

O

2916 12

Esteri akrilne kiseline

O

2916 14

Esteri metakrilne kiseline

O

ex 2917

Polikarboksilne kiseline, njihovi anhidridi, halogenidi, peroksidi i perkiseline; njihovi halogeni-, sulfo-, nitro- ili nitrozo derivati, osim proizvoda iz tarifnih podbrojeva 2917 11 00, ex 2917 12 00, 2917 14 00, 2917 32 00, 2917 35 00 i 2917 36 00

N

2917 11 00

Okalna kiselina, njezine soli i esteri

O

ex 2917 12 00

Adipinska kiselina i njezine soli

O

2917 14 00

Anhidrid maleinske kiseline

O

2917 32 00

Dioktil ortoftalati

O

2917 35 00

Ftalanhidrid

O

2917 36 00

Tereftalna kiselina i njezine soli

O

ex 2918

Karboksilne kiseline s dodatnom kisikovom skupinom i njihovi anhidridi, halogenidi, peroksidi i perkiseline; njihovi halogeni-, sulfo-, nitro- ili nitrozo derivati, osim proizvoda iz tarifnih podbrojeva 2918 14 00, 2918 15 00, 2918 21 00, 2918 22 00 i ex 2918 29 00

N

2918 14 00

Limunska kiselina

O

2918 15 00

Soli i esteri limunske kiseline

O

2918 21 00

Salicilna kiselina i njezine soli

O

2918 22 00

o-acetilsalicilna kiselina, njene soli i esteri

O

ex 2918 29 00

Sulfosalicilne kiseline, hidroksinaftonske kiseline; njihove soli i esteri

O

2919

Esteri fosforne kiseline i njene soki, uključujući laktofosfate i njene halogene-, sulfo-, nitro- ili nitrozo derivate

N

2920

Esteri drugih anorganskih kiselina nekovina (osim estera vodikovog halogenida) i njihove soli; njihovi halogeni-, sulfo-, nitro- ili nitrozo derivati

N

2921

Spojevi s amino skupinom

O

2922

Amino spojevi s kisikovom funkcijom

O

2923

Kvarterne amonijeve soli i hidroksidi; lecitini i ostali fosfoaminolipidi, neovisno jesu li kemijski određeni ili ne

N

ex 2924

Spojevi s karboksiamidnom skupinom; spojevi karboksilne kiseline s amidnom skupinom, osim proizvoda iz tarifnog podbroja 2924 23 00

O

2924 23 00

2-acetamidobenzojeva kiselina (N-acetilantranilna kiselina) i njezine soli

N

2925

Spojevi s karboksiimidnom skupinom (uključujući saharin i njegove soli) i spojevi s imino skupinom

N

ex 2926

Spojevi s nitrilnom skupinom, osim proizvoda iz tarifnog podbroja 2926 10 00

N

2926 10 00

Akrilonitril

O

2927 00 00

Diazo-, azo-ili azoksi spojevi

O

2928 00 90

Ostali organski derivati hidrazina ili hidoksilamina

N

2929 10

Izocijanati

O

2929 90 00

Ostali spojevi s ostalim dušičnim funkcijama

N

2930 20 00

Tiokarbamati i ditiokarbamati, i tiuram mono-, di- ili tetrasulfidi; ditiokarbonati (ksantati)

N

2930 30 00

ex 2930 90 99

2930 40 90

Metionin, kaptafol (ISO) i metamidofos (ISO) te ostali organsko sumporni spojevi osim ditiokarbonata (ksantata)

O

2930 50 00

2930 90 13

2930 90 16

2930 90 20

2930 90 60

ex 2930 90 99

2931 00

Ostali organsko-anorganski spojevi

N

ex 2932

Heterociklički spojevi samo s hetero atomom ili heteroatomima kisika, osim proizvoda iz tarifnih podbrojeva 2932 12 00, 2932 13 00 i ex 2932 20 90

N

2932 12 00

2-furaldehid (furfuraldehid)

O

2932 13 00

Furfuril alkohol i tetrahidrofurfuril alkohol

O

ex 2932 20 90

Kumarin, metilkumarin i etilkumarin

O

ex 2933

Heterociklički spojevi samo s dušikovim heteroatomom (atomima), osim proizvoda iz tarifnog podbroja 2933 61 00

N

2933 61 00

Melamin

O

2934

Nukleinske kiseline i njihove soli, neovisno jesu li kemijski određene ili ne; ostali heterociklički spojevi

N

2935 00 90

Ostali sulfonamidi

O

2938

Glikozidi, prirodni ili dobiveni sintezom, te njihove soli, eteri, esteri i ostali derivati

N

ex 2940 00 00

Šećer, kemijski čist, osim saharoze, laktoze, maltoze, glukoze i fruktoze, i osim ramnoze, rafinoze i manoze; šećerni eteri, šećerni acetali i šećerni esteri i njihove soli, osim proizvoda uvrštenih u tarifne brojeve 2937, 2938 ili 2939

O

ex 2940 00 00

Ramnoza, rafinoza i manoza

N

2941 20 30

Dihidrostreptomicin, njegove soli, esteri i hidrati

N

2942 00 00

Ostali organski spojevi

N

S-6b

31

3102 21

Amonijev sulfat

N

3102 40

Smjese amonijevog nitrata s kalcijevim karbonatom ili s drugim anorganskim negnojivim tvarima

N

3102 50

Natrij-nitrat

N

3102 60

Dvojne soli i smjese kalcijevog i amonijevog nitrata

N

3103 10

Superfosfati

O

3105

Mineralna ili kemijska gnojiva što sadrže dva ili tri gnojiva elementa - dušik, fosfor i kalij; ostala gnojiva; roba iz poglavlja 31. u obliku tableta ili u sličnim oblicima ili u pakiranjima bruto-mase ne veće od 10 kg

O

32

ex Poglavlje 32.

Ekstrakti za štavljenje ili bojenje; tanini i njihovi derivati; bojila, pigmenti i druge tvari za bojenje; boje i lakovi;kitovi i druge mase za brtvljenje; tiskarske boje i tinte; osim proizvoda iz tarifnih podbrojeva 3204 i 3206, te osim proizvoda iz tarifnih podbrojeva ex 3201 90 20, ex 3201 90 90 (ekstrakti za bojenje na bazi eukaliptusa), ex 3201 90 90 (ekstrakti za bojenje dobiveni od voća gambier i myrobalan) i ex 3201 90 90 (osim ektrakta za bojenje biljnog podrijetla)

N

3201 20 00

Ekstrakt mimoze

N

3204

Sintetička organska bojila, neovisno jesu li kemijski određena ili ne; pripravci na osnovi sintetičkih organskih bojila navedeni u napomeni 3 uz poglavlje 32.; sintetički organski proizvodi vrsta koje se rabi kao sredstva za fluorescentno izbjeljivanje ili kao luminofore, neovisno jesu li kemijski određeni ili ne

O

3206

Ostala bojila; pripravci navedeni u napomeni 3 uz poglavlje 32., osim onih iz tarifnog broja 3203, 3204 ili 3205; anorganski proizvodi vrsta koje se rabi kao luminofore, neovisno jesu li kemijski određeni ili ne

O

33

Poglavlje 33.

Esencijalna ulja i smole, parfemi, kozmetički ili higijenski preparati

N

34

Poglavlje 34.

Sapun, organska površinski aktivna sredstva, preparati za pranje, preparati za podmazivanje, umjetni voskovi, pripremljeni voskovi, preparati za poliranje i čišćenje, svijeće i slični proizvodi, paste za modeliranje, „stomatološki voskovi” te stomatološki preparati na osnovi sadre

N

35

3501

Kazein, kazeinati i ostali kazeinski derivati; kazeinska ljepila

O

3502 90 90

Albuminati i ostali derivati albumina

N

3503 00

Želatina (uključujući želatinu u pravokutnim (uključujući kvadratnim) listovima, neovisno je li površinski obrađena ili obojana ili ne) i derivati želatine; ljepilo iz ribljih mjehura; ostala ljepila životinjskog podrijetla, osim kazeinskih ljepila iz tarifnog broja 3501

N

3504 00 00

Peptoni i njihovi derivati; ostale bjelančevinaste tvari i njihovi derivati, nespomenuti niti uključeni na drugom mjestu; kožni prah, neovisno je li kromiran ili ne

N

3505 10 50

Škrobovi, esterificirani ili eterificirani

N

3506

Pripremljena ljepila i ostala pripremljena sredstva za lijepljenje, nespomenuta niti uključena na drugom mjestu; proizvodi prikladni za uporabu kao ljepila ili sredstva za lijepljenje, pripremljeni u pakiranja za pojedinačnu prodaju kao ljepila ili sredstva za lijepljenje, neto-mase ne veće od 1 kg

N

3507

Enzimi; pripremljeni enzimi što nisu spomenuti niti uključeni na drugom mjestu

O

36

Poglavlje 36.

Eksplozivi; pirotehnički proizvodi; šibice; pojedini zapaljivi pripravci

N

37

Poglavlje 37.

Proizvodi za fotografsku i kinematografsku uporabu

N

38

ex Poglavlje 38.

Razni kemijski proizvodi, osim proizvoda iz tarifnih brojeva 3802 i 3817 00, tarifnih podbrojeva 3823 12 00 i 3823 70 00, i tarifnog broja 3825, i osim proizvoda iz tarifnih podbrojeva 3809 10 i 3824 60

N

3802

Aktivni ugljen; aktivni prirodni mineralni proizvodi; životinjski ugljen, uključujući istrošeni

O

3817 00

Miješani alkilbenzeni te miješani alkilnaftaleni, osim onih iz tarifnog broja 2707 ili 2902

O

3823 12 00

Oleinska kiselina

O

3823 70 00

Industrijski masni alkoholi

O

3825

Ostatni produkti kemijske ili srodnih industrija, nespomenuti niti uključeni na drugom mjestu; gradski otpad; kanalizacijski mulj; ostali otpad naveden u napomeni 6. uz poglavlje 38.

O

S-7a

39

ex Poglavlje 39.

Plastične mase i proizvodi od plastičnih masa, osim proizvoda iz tarifnih brojeva 3901, 3902, 3903 i 3904, tarifnih podbrojeva 3906 10 00, 3907 10 00, 3907 60 i 3907 99, tarifnih brojeva 3908 i 3920, i tarifnih podbrojeva ex 3921 90 10 i 3923 21 00

N

3901

Polimeri etilena, u primarnim oblicima

O

3902

Polimeri propilena i drugih olefina, u primarnim oblicima

O

3903

Polimeri stirena, u primarnim oblicima

O

3904

Polimeri vinilklorida i drugih halogeniranih olefina, u primarnim oblicima

O

3906 10 00

Poli(metil metakrilat)

O

3907 10 00

Poliacetali

O

3907 60

Poli(etilen tereftalat), osim proizvoda iz tarifnog podbroja 3907 60 20

O

3907 60 20

Poli(etilen tereftalat), u primarnim oblicima, s viskoznim brojem 78 ml/g ili većim

N

3907 99

Ostali poliesteri, osim nezasićenih

O

3908

Poliamidi, u primarnim oblicima

O

3920

Ostale ploče, listovi, filmovi, folije i vrpce, od plastičnih masa, koje nisu celularne strukture, neojačani, nelaminirani, bez podloge ili na sličan način kombinirane s drugim materijalima

O

ex 3921 90 10

Ostale ploče, listovi, filmovi, folije i vrpce, od poliestera, osim celularnih proizvoda i osim valovitih listova i ploča

O

3923 21 00

Vreće i vrećice (uključujući stožaste), od polietilena

O

S-7b

40

ex Poglavlje 40.

Guma i proizvodi od gume, osim proizvoda iz tarifnog broja 4010

N

4010

Pogonsko i transportno remenje, od vulkanizirane gume

O

S-8a

41

ex 4104

Štavljene ili „crust” kože od životinja vrste goveda (uključujući od bivola) ili od kopitara, bez dlake, neovisno jesu li cijepane ili ne, ali dalje neobrađene, osim proizvoda iz tarifnih podbrojeva 4104 41 19 i 4104 49 19

O

ex 4106 31 00

Štavljene ili „crust” kože od svinje, bez dlake, u vlažnom stanju (uključujući wet-blue), neovisno jesu li cijepane ili ne, ili u suhom stanju (crust), neovisno jesu li cijepane ili ne, ali dalje neobrađene

N

4106 32 00

4107

Kože dalje obrađene nakon štavljenja ili crust-obrade, uključujući pergamentno dorađene kože, od životinja vrste goveda (uključujući od bivola) ili od kopitara, bez dlake, neovisno jesu li cijepane ili ne, osim kože iz tarifnog broja 4114

O

4112 00 00

Kože dalje obrađene nakon štavljenja ili crust-obrade, uključujući pergamentno dorađene kože, od ovaca ili janjadi, bez vune, neovisno jesu li cijepane ili ne, osim kože iz tarifnog broja 4114

O

ex 4113

Kože dalje obrađene nakon štavljenja ili crust-obrade, uključujući pergamentno dorađene kože, od ostalih životinja, bez vune ili dlake, neovisno jesu li cijepane ili ne, osim kože iz tarifnog broja 4114, osim proizvoda iz tarifnog podbroja 4113 10 00

N

4113 10 00

Od koza ili kozlića

O

4114

Semiš-koža (uključujući kombinaciju semiš-kože); lakirana koža i lakirana laminirana koža; metalizirana koža

O

4115 10 00

Umjetna koža na osnovi kože ili kožnih vlakana, u pločama, listovima ili vrpcama, neovisno je li u svitcima ili ne

O

S-8b

42

ex Poglavlje 42.

Predmeti od kože, sedla, konjska oprema, predmeti za putovanje, torbice i slični spremnici, predmeti od životinjskih iznutrica (osim iznutrica svilene bube), osim proizvoda iz tarifnih brojeva 4202 i 4203

N

4202

Škrinje, kovčezi, kovčezi za kozmetiku, poslovne torbe, torbe za spise (aktovke), školske torbe, futrole za naočale, futrole za dalekozore, futrole za fotoaparate, futrole za glazbala, futrole za puške, futrole za pištolje i slični spremnici; putne torbe, izolirane torbe za hranu i piće, toaletne torbice, naprtnjače, ručne torbe, torbe za kupnju, novčanici za papirni novac, novčanici za kovani novac, futrole za mape, futrole za cigarete, vrećice za duhan, torbe za alat, športske torbe, omotači za boce, kutije za nakit, kutije za puder, kutije za pribor za jelo i slični spremnici, od kože, umjetne kože, folija od plastičnih masa, od tekstilnih materijala, vulkanfibera ili od kartona, ili u cijelosti ili pretežito presvučeni tim materijalima ili papirom

O

4203

Odjeća i pribor za odjeću od kože ili umjetne kože

O

43

Poglavlje 43.

Prirodno i umjetno krzno i proizvodi od krzna

N

S-9a

44

ex Poglavlje 44.

Drvo i proizvodi od drva, osim proizvoda iz tarifnih brojeva 4410, 4411, 4412, tarifnih podbrojeva 4418 10, 4418 20 10, 4418 71 00, 4420 10 11, 4420 90 10 i 4420 90 91; drveni ugljen

N

4410

Ploče iverice, ploče s usmjerenim vlaknima (OSB) i slične ploče (na primjer, wafer-ploče), od drva ili od drugih ligninskih materijala, neovisno jesu li aglomerirane smolama ili drugim organskim vezivnim tvarima ili ne

O

4411

Ploče vlaknatice od drva ili od drugih ligninskih materijala, neovisno jesu li aglomerirane smolama ili drugim organskim vezivnim sredstvima ili ne

O

4412

Šperploče, furnirane ploče i slično laminirano drvo

O

4418 10

Prozori, francuski prozori i njihovi okviri, od drva

O

4418 20 10

Vrata i njihovi dovratnici i pragovi, od tropskog drva u skladu s dodatnom napomenom 2. uz poglavlje 44.

O

4418 71 00

Sastavljene podne obloge za mozaik podove, od drva

O

4420 10 11

Statue i ostali ukrasni predmeti, od tropskog drva u skladu s dodatnom napomenom 2. uz poglavlje 44.; marketerija i intarzija, od drva; kovčežići i kutije za draguljarske predmete ili pribor za jelo i slični proizvodi, od drva; statue i ostali ukrasni predmeti, od drva; drveni proizvodi za unutarnje opremanje, osim onih iz poglavlja 94., od tropskog drva u skladu s dodatnom napomenom 2. uz poglavlje 44.

O

4420 90 10

4420 90 91

S-9b

45

ex Poglavlje 45.

Pluto i proizvodi od pluta, osim proizvoda iz tarifnog broja 4503

N

4503

Proizvodi od prirodnog pluta

O

46

Poglavlje 46.

Proizvodi od slame, esparto trave ili drugih materijala za pletenje; pleteni predmeti

O

S-11a

50

Poglavlje 50.

Svila

O

51

ex Poglavlje 51.

Vuna, fina ili gruba životinjska dlaka, osim proizvoda iz tarifnog broja 5105; pređa i tkanina od konjske dlake

O

52

Poglavlje 52.

Pamuk

O

53

Poglavlje 53.

Ostala biljna tekstilna vlakna, papirna pređa i tkanine od papirne pređe

O

54

Poglavlje 54.

Umjetni filamenti; vrpce i slični oblici od umjetnih tektilnih materijala

O

55

Poglavlje 55.

Umjetna vlakna, rezana

O

56

Poglavlje 56.

Vata, pust i netkani materijali; posebna pređa; konopi, uzice i užad te proizvodi od njih

O

57

Poglavlje 57.

Sagovi i drugi tekstilni podni pokrivači

O

58

Poglavlje 58.

Posebne tkanine; tekstilni proizvodi dobiveni tafting postupkom; čipke; tapiserije; pozamanterija; vez

O

59

Poglavlje 59.

Impregnirani, premazani, prevučeni, prekriveni ili laminirani tekstilni materijali; tekstilni proizvodi prikladni za industrijsku uporabu

O

60

Poglavlje 60.

Pleteni ili kačkani materijali

O

S-11b

61

Poglavlje 61.

Odjeća i pribor za odjeću, pleteni ili kačkani:

O

62

Poglavlje 62.

Odjeća i pribor za odjeću, ni pleteni niti kačkani

O

63

Poglavlje 63.

Ostali izrađeni tekstilni proizvodi; nošena odjeća i nošeni tekstilni proizvodi; krpe

O

S-12a

64

Poglavlje 64.

Obuća, nazuvci i slični proizvodi, dijelovi tih proizvoda

O

S-12b

65

Poglavlje 65.

Pokrivala za glavu i njihovi dijelovi

N

66

Poglavlje 66.

Kišobrani, suncobrani, štapovi za hodanje i sjedenje, bičevi, korbači i njihovi dijelovi

O

67

Poglavlje 67.

Obrađeno perje i paperje, predmeti izrađeni od perja i paperja, umjetno cvijeće, predmeti od ljudske kose

N

S-13

68

Poglavlje 68.

Proizvodi od kamena, sadre, cementa, azbesta, tinjca ili sličnih materijala

N

69

Poglavlje 69.

Keramički proizvodi

O

70

Poglavlje 70.

Staklo i proizvodi od stakla

O

S-14

71

ex Poglavlje 71.

Prirodni ili kultivirani biseri, dragulji ili poludragulji, plemenite kovine, kovine platinirane plemenitim kovinama i proizvodi od njih; imitacije draguljarskih proizvoda; kovani novac; osim proizvoda iz tarifnog broja 7117

N

7117

Imitacije draguljarskih predmeta

O

S-15a

72

7202

Ferolegure

O

73

Poglavlje 73.

Proizvodi od željeza ili čelika

N

S-15b

74

Poglavlje 74.

Bakar i predmeti napravljeni od njega

O

75

7505 12 00

Šipke, žica i profili, od slitine nikla

N

7505 22 00

Žica, od slitine nikla

N

7506 20 00

Ploče, limovi, trake i folije, od nikla

N

7507 20 00

Cijevi i pribor za cijevi, od nikla

N

76

ex Poglavlje 76.

Aluminij i proizvodi od aluminija, osim proizvoda iz tarifnog broja 7601

O

78

ex Poglavlje 78.

Olovo i proizvodi od olova, osim proizvoda iz tarifnog broja 7801

O

7801 99

Olovo u sirovim oblicima, osim rafiniranog i osim s antimonom kao glavnim drugim elementom

N

79

ex Poglavlje 79.

Cink i proizvodi od cinka, osim proizvoda iz tarifnih brojeva 7901 i 7903

O

81

ex Poglavlje 81.

Ostale obične kovine; kermeti; i njihovi proizvodi, osim proizvoda iz tarifnih podbrojeva 8101 10 00, 8102 10 00, 8102 94 00, 8109 20 00, 8110 10 00, 8112 21 90, 8112 51 00, 8112 59 00, 8112 92 i 8113 00 20, osim proizvoda iz tarifnih podbrojeva 8101 94 00, 8104 11 00, 8104 19 00, 8107 20 00, 8108 20 00 i 8108 30 00

O

8101 94 00

Volfram u sirovim oblicima, uključujući šipke dobivene samo sinteriranjem

N

8104 11 00

Magnezij u sirovim oblicima, masenog udjela magnezija najmanje 99,8 % ili većeg

N

8104 19 00

Magnezij u sirovim oblicima, osim onih iz tarifnog podbroja 8104 11 00

N

8107 20 00

Kadmij u sirovim oblicima; prah

N

8108 20 00

Titan u sirovim oblicima; prah

N

8108 30 00

Otpaci i lomljevina, od titana

N

82

Poglavlje 82.

Alati, nožarski proizvodi, i pribor za jelo, od običnih kovina

O

83

Poglavlje 83.

Različiti predmeti od kovine

O

S-16

84

ex Poglavlje 84.

Nuklearni reaktori, kotlovi, strojevi i mehanički uređaji, njihovi dijelovi, osim proizvoda iz tarifnih podbrojeva 8401 10 00 i 8407 21 10

N

8401 10 00

Nuklearni reaktori

O

8407 21 10

Izvanbrodski motori obujma cilindara ne većeg od 325 cm3

O

85

ex Poglavlje 85.

Električni strojevi i oprema te njihovi dijelovi; aparati za snimanje i reprodukciju zvuka, aparati za snimanje i reprodukciju televizijske slike i zvuka, njihovi dijelovi i pribor, osim proizvoda iz tarifnih podbrojeva 8516 50 00, 8517 69 39, 8517 70 15, 8517 70 19, 8519 20, 8519 30, 8519 81 11 do 8519 81 45, 8519 81 85, 8519 89 11 do 8519 89 19, tarifnih brojeva 8521, 8525 i 8527, tarifnih podbrojeva 8528 49, 8528 59 i 8528 69 do 8528 72, tarifnog broja 8529 i tarifnih podbrojeva 8540 11 i 8540 12

N

8516 50 00

Mikrovalne pećnice

O

8517 69 39

Prijamni aparati za radiotelefoniju ili radiotelegrafiju, osim prijenosnih prijamnika za pozivanje, upozoravanje ili traženje

O

8517 70 15

Antene svih vrsta, osim antene za radiotelegrafske ili radiotelefonske aparate; dijelovi pogodni za uporabu s njima

O

8517 70 19

8519 20

Aparati koji rade na kovanice, novčanice, bankovne kartice, tokene ili druge načine plaćanja; gramofoni bez ugrađenog pojačala

O

8519 30

8519 81 11 do 8519 81 45

Aparati za reprodukciju zvuka (uključujući kasetofone), bez ugrađenog uređaja za snimanje zvuka

O

8519 81 85

Ostali magnetofoni, s ugrađenim uređajem za reprodukciju zvuka, osim kazetofona

O

8519 89 11 do 8519 89 19

Ostali aparati za reprodukciju zvuka, bez ugrađenog uređaja za snimanje zvuka

O

ex 8521

Aparati za snimanje ili reprodukciju slike, neovisno sadrže li videoprijamnik ili ne, osim proizvoda iz tarifnog podbroja 8521 90 00

O

8521 90 00

Aparati za snimanje ili reprodukciju slike (bez magnetne vrpce); aparati za snimanje ili reprodukciju slike, neovisno sadrže li videoprijamnik ili ne (bez magnetne vrpe i videokamere (kamkorderi))

N

8525

Odašiljači za radiodifuziju ili televiziju, neovisno imaju li ugrađen prijamnik ili aparat za snimanje ili reprodukciju zvuka ili ne; televizijske kamere, digitalni fotoaparati i videokamere (kamkorderi)

O

8527

Prijamnik radiodifuzije, uključujući i prijamnike s, u isto kućište, ugrađenim aparatima za snimanje ili reprodukciju zvuka, odnosno satom

O

8528 49

Monitori i projektori, bez ugrađenog televizijskog prijamnika, osim vrste koja se rabi isključivo ili uglavnom u sustavima za automatsku obradu podataka iz tarifnog broj 8471; televizijski prijamnici, neovisno imaju li ugrađeni prijamnik radiodifuzije ili aparat za snimanje ili reprodukciju zvuka ili slike ili ne

O

8528 59

8528 69 do 8528 72

8529

Dijelovi pogodni za uporabu isključivo ili uglavnom za aparate iz tarifnih brojeva 8525 do 8528

O

8540 11

Katodne cijevi za televizijske prijamnike, uključujući katodne cijevi za videomonitore, u boji, crno-bijele ili ostale monokromne

O

8540 12 00

S-17a

86

Poglavlje 86.

Željezničke ili tramvajske lokomotive, vagoni i njihovi dijelovi; željeznički ili tramvajski kolosiječni sklopovi i pribor te njihovi dijelovi; mehanička (uključujući elektromehanička) prometna signalna oprema svih vrsta

N

S-17b

87

ex Poglavlje 87.

Vozila osim željezničkih ili tramvajskih vozila, njihovi dijelovi i pribor, osim proizvoda iz tarifnih brojeva 8702, 8703, 8704, 8705, 8706 00, 8707, 8708, 8709, 8711, 8712 00 i 8714

N

8702

Motorna vozila za prijevoz deset ili više osoba uključujući vozača

O

8703

Osobni automobili i druga motorna vozila uglavnom zasnovana (konstruirana) za prijevoz osoba (osim vozila iz tarifnog broja 8702), uključujući motorna vozila za kombinirani prijevoz osoba i robe tipa „karavan”, „kombi” itd. i trkaće automobile

O

8704

Motorna vozila za prijevoz robe

O

8705

Motorna vozila za posebne namjene, osim onih konstruiranih prvenstveno za prijevoz osoba ili robe (na primjer, vozila za prijevoz neispravnih ili oštećenih vozila, dizalična vozila, vatrogasna vozila, vozila s ugrađenom miješalicom za beton, vozila za čišćenje cesta, vozila za štrcanje ili posipanje, pokretne radionice, pokretne radiološke jedinice)

O

8706 00

Šasije s ugrađenim motorima motornih vozila iz tarifnih brojeva od 8701 do 8705

O

8707

Karoserije (uključujući i kabine) za motorna vozila iz tarifnih brojeva od 8701 do 8705

O

8708

Dijelovi i pribor motornih vozila iz tarifnih brojeva od 8701 do 8705

O

8709

Radna kolica, samokretna, neopremljena uređajem za dizanje ili rukovanje, vrsta koje se rabi u tvornicama, skladištima, prostorima lukama ili zračnim lukama, za prijevoz robe na kratkim udaljenostima; vučna vozila vrsta koje se rabi na peronima željezničkih kolodvora; dijelovi prethodno navedenih vozila

O

8711

Motocikli (uključujući i mopede), bicikli i slična vozila s pomoćnim motorom, s bočnom prikolicom ili bez nje; bočne prikolice

O

8712 00

Bicikli i druga slična vozila (uključujući dostavne tricikle), bez motornog pogona

O

8714

Dijelovi i pribor vozila iz tarifnih brojeva od 8711 do 8713

O

88

Poglavlje 88.

Letjelice, svemirske letjelice i njihovi dijelovi

N

89

Poglavlje 89.

Brodovi, brodice i ploveće konstrukcije

N

S-18

90

Poglavlje 90.

Optički, fotografski, kinematografski, mjerni i kontrolni instrumenti, instrumenti za kontrolu točnosti, medicinski i kirurški instrumenti i aparati;

O

91

Poglavlje 91.

Ure i njihovi dijelovi

O

92

Poglavlje 92.

Glazbala, dijelovi i pribor za te proizvode

N

S-20

94

ex Poglavlje 94.

Pokućstvo, oprema za postelje, maraci, nosači madraca, jastuci i slični punjeni proizvodi; svjetiljke i ostala rasvjetna tijela, nespomenuta niti uključena na drugom mjestu; osvijetljeni znakovi, osvijetljene natpisne pločice i slično; montažne zgrade, osim proizvoda iz tarifnog broja 9405

N

9405

Svjetiljke i ostala rasvjetna tijela, uključujući reflektore, i njihovi dijelovi, nespomenuti niti uključeni na drugom mjestu; osvijetljeni znakovi, osvijetljene pločice s imenima i slično, opremljeni stalnim izvorom svjetlosti, i njihovi dijelovi, nespomenuti niti uključeni na drugom mjestu

O

95

ex Poglavlje 95.

Igračke, društvene igre i športski rekviziti; njihovi dijelovi i pribor; osim proizvoda iz tarifnih podbrojeva od 9503 00 35 do 9503 00 99

N

9503 00 35 do 9503 00 99

Ostale igračke, umanjeni modeli i slični modeli za zabavu, sa ili bez pogona; slagalice svih vrsta

O

96

Poglavlje 96.

Razni proizvedeni predmeti

N

PRILOG VI.

Načini primjene članka 8.

1.

Članak 8. primjenjuje se kada postotak iz stavka 1. tog članka premašuje 17,5 %.

2.

Članak 8. primjenjuje se na svaki od odjeljaka OSP-a S-11a i S-11b Priloga V. kada postotak iz stavka 1. tog članka premašuje 14,5 %.

PRILOG VII.

Načini primjene poglavlja III. ove Uredbe

1.

Za potrebe poglavlja III., osjetljiva zemlja jest zemlja:

(a)

čijih, u smislu vrijednosti, sedam najvećih odjeljaka OSP-a njezinog uvoza u Uniju proizvoda iz Priloga IX. predstavlja više od praga od 75 % vrijednosti ukupnog uvoza proizvoda iz tog Priloga, kao prosjek kroz zadnje tri uzastopne godine;

i

(b)

čiji uvoz proizvoda iz Priloga IX. u Uniju predstavlja manje od praga od 2 % vrijednosti ukupnog uvoza u Uniju proizvoda iz tog Priloga s podrijetlom u zemljama iz Priloga II., kao prosjek kroz zadnje tri uzastopne godine.

2.

Za potrebe točke (a) članka 9. stavka 1., podaci koji se koriste u primjeni točke 1. ovog Priloga jesu oni raspoloživi na 1. rujan godine koja prethodi godini zahtjeva iz članka 10. stavka 1.

3.

Za potrebe članka 11., podaci koji se koriste u primjeni točke 1. ovog Priloga jesu oni raspoloživi na 1. rujna godine koja prethodi godini zahtjeva iz članka 11. stavka 2.

PRILOG VIII.

Konvencije iz članka 9.

DIO A

Temeljna ljudska i radna prava iz konvencija UN-a/ILO-a

1.

Konvencija o sprečavanju i kažnjavanju zločina genocida (1948.)

2.

Međunarodna konvencija o ukidanju svih oblika rasne diskriminacije (1965.)

3.

Međunarodni pakt o građanskim i političkim pravima (1966.)

4.

Međunarodni pakt o ekonomskim, socijalnim i kulturnim pravima (1966.)

5.

Konvencija o ukidanju svih oblika diskriminacije žena (1979.)

6.

Konvencija protiv torture i drugih surovih, neljudskih ili ponižavajućih kazni i postupaka (1984.)

7.

Konvencija o pravima djeteta (1989.)

8.

Konvencija o prisilnom ili obveznom radu (br. 29) (1930.)

9.

Konvencija o slobodi udruživanja i zaštiti prava na organiziranje (br. 87) (1948.)

10.

Konvencija o pravu na sindikalno organiziranje i kolektivno pregovaranje (br. 98) (1949.)

11.

Konvencija o jednakoj naknadi za radnike i radnice za rad iste vrijednosti (br. 100) (1951.)

12.

Konvencija o zabrani prisilnog rada (br. 105) (1957.)

13.

Konvencija o diskriminaciji u odnosu na zaposlenje i zanimanje (br. 111) (1958.)

14.

Konvencija o najnižoj dobi za zapošljavanje (br. 138) (1973.)

15.

Konvencija o zabrani i trenutnim djelovanjima za ukidanje najgorih oblika dječjeg rada (br. 182) (1999.)

DIO B

Konvencije o zaštiti okoliša i načelima upravljanja

16.

Konvencija o međunarodnoj trgovini ugroženim vrstama divlje faune i flore (1973.)

17.

Montrealski protokol o tvarima koje oštećuju ozonski omotač (1987.)

18.

Bazelska konvencija o nadzoru prekograničnog prometa opasnog otpada i njegovu odlaganju (1989.)

19.

Konvencija o biološkoj raznolikosti (1992.)

20.

Okvirna konvencija Ujedinjenih naroda o promjeni klime (1992.)

21.

Protokol o biosigurnosti iz Cartagene (2000.)

22.

Štokholmska konvencija o postojanim organskim polutantima (2001.)

23.

Protokol iz Kyota uz Okvirnu konvenciju Ujedinjenih naroda o promjeni klime (1998.)

24.

Jedinstvena konvencija Ujedinjenih naroda o narkoticima (1961.)

25.

Konvencija Ujedinjenih naroda o psihotropskim supstancijama (1971.)

26.

Konvencija Ujedinjenih Naroda za borbu protiv nezakonite trgovine narkoticima i psihotropskim supstancijama (1988.)

27.

Konvencija Ujedinjenih naroda protiv korupcije (2004.)

PRILOG IX.

Popis proizvoda uključenih u poseban dogovor o poticajima za održivi razvoj i dobro upravljanje iz članka 1. stavka 2. točke (b)

Neovisno o pravilima za tumačenje Kombinirane nomenklature, opis proizvoda smatra se indikativnim, dok se carinske povlastice utvrđuju pomoću oznaka KN. Ako su navedene „ex” oznake KN, carinske povlastice utvrđuju se zajedničkom primjenom oznake KN i opisa.

Upis proizvoda s oznakom KN označenom pomoću asteriska podliježe uvjetima predviđenim odgovarajućim odredbama Unije.

Stupac „odjeljak” navodi odjeljke OSP-a (članak 2. točka (h)).

Stupac „poglavlje” navodi poglavlja KN-a pokrivena odjeljkom OSP-a (članak 2. točka i.).

Za potrebe pojednostavljenja, proizvodi su navedeni u skupinama. One mogu uključivati proizvode za koje su carine iz Zajedničke carinske tarife opozvane ili suspendirane.

Odjeljak

Poglavlje

Oznaka KN

Naziv proizvoda

 

S-1a

01

0101 29 90

Živi konji, osim čistokrvnih rasplodnih životinja, osim za klanje

 

0101 30 00

Živi magarci

 

0101 90 00

Žive mazge i mule

 

0104 20 10*

Žive, čistokrvne rasplodne koze

 

0106 14 10

Živi domaći kunići

 

0106 39 10

Živi golubovi

 

02

0205 00

Konjsko i magareće meso, meso mula i mazgi, svježe, ohlađeno ili smrznuto

 

0206 80 91

Jestivi nusproizvodi klanja od konja, magaraca, mazgi ili mula, svježi ili ohlađeni, osim onih koji se upotrebljavaju za proizvodnju farmaceutskih proizvoda

 

0206 90 91

Jestivi nusproizvodi klanja od konja, magaraca, mazgi ili mula, smrznuti, osim onih koji se upotrebljavaju za proizvodnju farmaceutskih proizvoda

 

0207 14 91

Jetra, smrznuta, od kokoši vrste Gallus domesticus

 

0207 27 91

Jetra, smrznuta, od pura

 

0207 45 95

0207 55 95

0207 60 91

Jetra, smrznuta, pataka, gusaka ili biserki, osim masne jetre pataka ili gusaka

 

ex 0208

Ostalo meso i jestivi mesni nusproizvodi klanja, svježi, ohlađeni ili smrznuti, osim proizvoda iz tarifnog podbroja 0208 40 20

 

0210 99 10

Meso konja, soljeno, u salamuri ili sušeno

 

0210 99 59

Nusproizvodi klanja od životinja vrste goveda, soljeni, u salamuri, sušeni ili dimljeni, bez mišićne i tetivne prepone

 

ex 0210 99 85

Nusproizvodi klanja od ovaca ili koza, soljeni, u salamuri, sušeni ili dimljeni

 

ex 0210 99 85

Klaonički proizvodi, soljeni, u salamuri, sušeni ili dimljeni, osim od domaćih svinja, životinja vrsta goveda ili ovaca ili koza

 

04

0403 10 51

Jogurt, aromatiziran ili s dodanim voćem, orašastim plodovima ili kakaom:

 

0403 10 53

0403 10 59

0403 10 91

0403 10 93

0403 10 99

0403 90 71

Mlaćenica, kiselo mlijeko i vrhnje, kefir i ostalo fermentirano ili zakiseljeno mlijeko i vrhnje, aromatizirani ili koji sadrže dodano voće, orašaste plodove ili kakao

 

0403 90 73

0403 90 79

0403 90 91

0403 90 93

0403 90 99

0405 20 10

Mliječni namazi sa sadržajem masti od 39 % po masi ili više, ali koji ne prelazi 75 %

 

0405 20 30

0407 19 90

0407 29 90

0407 90 90

Jaja peradi i ptičja jaja, u ljusci, svježa, konzervirana ili kuhana, osim mesa peradi

 

0409 00 00

Prirodni med

 

0410 00 00

Jestivi proizvodi životinjskog podrijetla koji nisu spomenuti niti uključeni na drugom mjestu

 

05

0511 99 39

Prirodne spužve životinjskog podrijetla, osim sirovih

 

S-1b

03

Poglavlje 3. (1)

Ribe, ljuskavci, mekušci i ostali vodeni beskralježnjaci

 

S-2a

06

Poglavlje 6.

Živo drveće i druge biljke; lukovice, korijenje i slično; rezano cvijeće i ukrasno lišće

 

S-2b

07

0701

Krumpir, svjež ili ohlađen

 

0703 10

Crveni luk i ljutika (škalonja), svježi ili ohlađen

 

0703 90 00

Poriluk i ostalo lukovičasto povrće, svježe ili ohlađeno

 

0704

Kupus, cvjetača, koraba, kelj i slično kupusno jestivo povrće, svježe ili ohlađeno

 

0705

Salata (Lactuca sativa) i cikorija (Cichorium spp.), svježe ili ohlađene

 

0706

Mrkva, bijela repa, cikla, turovac, celer korijen, rotkve i slično jestivo korijenje, svježe ili ohlađeno

 

ex 0707 00 05

Krastavci, svježi ili ohlađeni, od 16. svibnja do 31. listopada

 

0708

Mahunasto povrće, u mahunama ili zrnu, svježe ili ohlađeno

 

0709 20 00

Šparoge, svježe ili ohlađene

 

0709 30 00

Patlidžani, svježe ili ohlađeno

 

0709 40 00

Celer, osim celera korjenaša, svježe ili ohlađeno

 

0709 51 00

Gljive, svježe ili ohlađeno, osim proizvoda iz tarifnog podbroja 0709 59 50

 

ex 0709 59

0709 60 10

Slatke paprike, svježe ili ohlađene

 

0709 60 99

Plodovi roda Capsicum ili roda Pimenta, svježe ili ohlađeno, osim slatke paprike, osim za proizvodnju capcisina ili boja na osnovi capsicum oleorezina i osim za industrijsku proizvodnju eteričnih ulja ili rezinoida

 

0709 70 00

Špinat, novozelandski špinat i loboda, svježe ili ohlađeno

 

0709 92 10*

Masline, svježe ili ohlađene, za raznu uporabu osim za proizvodnju ulja

 

0709 99 10

Salatno povrće, svježe ili ohlađeno, osim zelene salate (Lactuca sativa) i endivije (Cichorium spp.)

 

0709 99 20

Šećerna repa i španjolske artičoke, svježe ili ohlađene

 

0709 93 10

Tikvice, svježe ili ohlađene

 

0709 99 40

Kapari, svježi ili ohlađene

 

0709 99 50

Komorač, svježi ili ohlađeni

 

ex 0709 91 00

Artičoke, svježe ili ohlađene, od 1. srpnja do 31. listopada

 

0709 93 90

0709 99 90

Ostalo povrće, svježe ili hlađeno

 

0710

Povrće (nekuhano ili kuhano u pari ili vodi), smrznuto

 

ex 0711

Povrće privremeno konzervirano (npr. sumpornim dioksidom, u slanoj vodi, u sumpornoj vodi ili drugim otopinama za konzerviranje), ali koji su u tom stanju neprikladni za neposrednu prehranu, osim proizvoda iz tarifnog podbroja 0711 20 90

 

ex 0712

Povrće, suho, cijelo, rezano, u kriškama, lomljeno ili u prahu, ali dalje nepripremljeno, osim maslina i proizvoda iz tarifnog podbroja 0712 90 19

 

0713

Sušeno mahunasto povrće, oljušteno, neovisno o tome je li skinuta koža nije i je li razrezano ili ne

 

0714 20 10*

Slatki krumpir, svježi, cijeli, namijenjen ljudskoj prehrani

 

0714 20 90

Slatki krumpir, svježi, ohlađeni, smrznuti ili sušeni, bez obzira je li rezan ili u obliku peleta, osim svježeg i cijelog i namijenjenog ljudskoj prehrani

 

0714 90 90

Topinambur (čičoka) i slično korijenje i gomolji s visokim sadržajem škroba ili inulina, svježi, ohlađeni, smrznuti ili osušeni, cijeli ili rezani ili u obliku peleta; srž od sago-drveta

 

08

0802 11 90

Bademi, svježi ili suhi, u ljusci ili oljušteni, osim gorkih

 

0802 12 90

0802 21 00

Lješnjaci (Corylus spp.), svježi ili suhi, u ljusci ili oljušteni

 

0802 22 00

0802 31 00

Orasi, svježi ili suhi, u ljusci ili oljušteni

 

0802 32 00

0802 41 00

0802 42 00

Kesteni (Castanea spp.), svježi ili suhi, oljušteni ili neoljušteni

 

0802 51 00

0802 52 00

Pistacije, svježe ili suhe, oljuštene ili neoljuštene

 

0802 61 00

0802 62 00

Makadami orasi, svježi ili suhi, oljušteni ili neoljušteni

 

0802 90 50

Makadami orasi, svježi ili suhi, oljušteni ili neoljušteni

 

0802 90 85

Ostali orašasti plodovi, svježi ili suhi, oljušteni ili neoljušteni

 

0803 10 10

Banane, svježe

 

0803 10 90

0803 90 90

Banane, uključujući banane za kuhanje, suhe

 

0804 10 00

Datulje, svježe ili suhe

 

0804 20 10

Smokve, svježe ili suhe

 

0804 20 90

0804 30 00

Ananas, svježi ili suhi

 

0804 40 00

Avokado, svježi ili suhi

 

ex 0805 20

Mandarine (uključujući tangerske i satsuma mandarine) i klementine, wilking mandarine i slični hibridi agruma, svježi ili suhi, od 1. ožujka do 31. listopada

 

0805 40 00

Grejp (grape-fruit), uključujući pomelo, svježi ili suhi

 

0805 50 90

Limeta (Citrus aurantifolia, Citrus latifolia), svježa ili suha

 

0805 90 00

Ostali agrumi, svježi ili suhi

 

ex 0806 10 10

Stolno grožđe, svježe, od 1. siječnja do 20. srpnja i od 21. studenoga do 31. prosinca, osim grožđa vrste Emperor (Vitis vinirera cv.) od 1. do 31. prosinca

 

0806 10 90

Ostalo grožđe, svježe

 

ex 0806 20

Suho grožđe, osim proizvoda iz tarifnog podbroja ex 0806 20 30 u neposrednim spremnicima neto kapaciteta koji premašuje 2 kg

 

0807 11 00

Dinje (uključujući lubenice), svježe

 

0807 19 00

0808 10 10

Jabuke za preradu, svježe, u rasutom stanju, od 16. rujna do 15. prosinca

 

0808 30 10

Kruške za preradu, svježe, u rasutom stanju, od 1. kolovoza do 31. prosinca

 

ex 0808 30 90

Ostale kruške, svježe, od 1. svibnja do 30. lipnja

 

0808 40 00

Dunje, svježe

 

ex 0809 10 00

Marelice, svježe, od 1. siječnja do 31. svibnja i od 1. kolovoza do 31. prosinca

 

0809 21 00

Višnje (Prunus cerasus), svježe

 

ex 0809 29

Trešnje, svježe, od 1. siječnja do 20. svibnja i od 11. kolovoza do 31. prosinca, osim višanja (Prunus cerasus)

 

ex 0809 30

Breskve, uključujući nektarine, svježe, od 1. siječnja do 10. lipnja i od 1. listopada do 31. prosinca

 

ex 0809 40 05

Šljive, svježe, od 1. siječnja do 10. lipnja i od 1. listopada do 31. prosinca

 

0809 40 90

Divlje šljive, svježe

 

ex 0810 10 00

Jagode, svježe, od 1. siječnja do 30. travnja i od 1. kolovoza do 31. prosinca

 

0810 20

Maline, kupine, dud (murva) i loganove bobice, svježe

 

0810 30 00

Crni, bijeli ili crveni ribiz i ogrozd, svježi

 

0810 40 30

Voće vrste Vaccinium myrtillus, svježe

 

0810 40 50

Voće vrste Vaccinium macrocarpon i Vaccinium corymbosum, svježe

 

0810 40 90

Ostalo voće roda Vaccinium, svježe

 

0810 50 00

Kivi, svježi

 

0810 60 00

Durian, svježi

 

0810 70 00

Kaki

 

0810 90 75

Ostalo voće, svježe

0811

Voće i orašasti plodovi, nekuhani ili kuhani u vodi ili pari, smrznuti, s dodanim ili bez dodanog šećera ili drugih sladila

 

0812

Voće i orašasti plodovi, privremeno konzervirani (npr. sumpornim dioksidom, u slanoj vodi, u sumpornoj vodi ili drugim otopinama za konzerviranje), ali u takvom stanju neprikladni za neposrednu prehranu

 

0813 10 00

Marelice, suhe

 

0813 20 00

Šljive

 

0813 30 00

Jabuke, suhe

 

0813 40 10

Breskve, uključujući nektarine, suhe

 

0813 40 30

Kruške, suhe

 

0813 40 50

Papaje, suhe

 

0813 40 95

Ostalo voće, suho, osim onog iz tarifnih brojeva 0801 do 0806

 

0813 50 12

Mješavine suhog voća (osim onog iz tarifnih brojeva 0801 do 0806) papaja, tamarinda, cashew jabuka, ličija, kruhovca (jackfruit), sapodilo šljiva, marakuja (pasiflora), karambola i pitaja, ali bez šljiva

 

0813 50 15

Ostale mješavine suhog voća (osim onog iz tarifnih brojeva 0801 do 0806), bez šljiva

 

0813 50 19

Mješavine suhog voća (osim onog iz tarifnih brojeva 0801 do 0806), sa šljivama

 

0813 50 31

Mješavine isključivo od tropskih orašastih plodova iz tarifnih podbrojeva 0801 i 0802

 

0813 50 39

Mješavine isključivo od orašastih plodova iz tarifnih podbrojeva 0801 i 0802, osim tropskih orašastih plodova

 

0813 50 91

Ostale mješavine orašastih plodova i suhog voća iz poglavlja 8., bez šljiva ili smokava

 

0813 50 99

Ostale mješavine orašastih plodova i suhog voća iz poglavlja 8.

 

0814 00 00

Kore agruma ili dinja (uključujući lubenice), svježe, smrznute, suhe ili privremeno konzervirane u slanoj vodi, sumpornoj vodi ili u drugim otopinama za konzerviranje

 

S-2c

09

Poglavlje 9.

Kava, čaj, mate čaj i začini

 

S-2d

10

1008 50 00

Kvinoa (Chenopodium quinoa)

 

11

1104 29 17

Oljuštena zrna žitarica, osim ječma, zobi, kukuruza, riže i pšenice

 

1105

Brašno, krupica, prah, pahuljice, granule i pelete od krumpira

 

1106 10 00

Brašno, krupica i prah od suhog mahunastog povrća iz tarifnog broja 0713

 

1106 30

Brašno, krupica i prah proizvoda iz poglavlja 8.

 

1108 20 00

Inulin

 

12

ex Poglavlje 12.

Uljano sjemenje i plodovi; razno zrnje, sjemenje i plodovi; industrijsko i ljekovito bilje; slama i stočna hrana, osim proizvoda iz tarifnog broja 1210 i tarifnih podbrojeva 1212 91 i 1212 93 00

 

13

Poglavlje 13.

Šelak; gume, smole i ostali biljni sokovi i ekstrakti

 

S-3

15

1501 90 00

Mast peradi, osim onog iz tarifnih brojeva 0209 ili 1503

 

1502 10 90

1502 90 90

Masti od životinja vrste goveda, od ovaca ili koza, osim onih iz tarifnog broja 1503 i ostalo, osim za industrijske svrhe osim za proizvodnju prehrambenih proizvoda za ljudsku potrošnju

 

1503 00 19

Stearin od sala i oleostearin, osim za industrijsku uporabu

 

1503 00 90

Stearin od sala, oleo ulje i ulje od loja, neemulgirani ili nemiješani ili na drugi način pripremljeni, osim ulja od loja za industrijsku uporabu, osim za proizvodnju prehrambenih proizvoda za ljudsku potrošnju

 

1504

Masti i ulja te njihove frakcije, od riba ili morskih sisavaca, neovisno jesu li rafinirani ili ne, ali kemijski nemodificirani

 

1505 00 10

Masti od vune, sirove

 

1507

Sojino ulje i njegove frakcije, rafinirani ili nerafinirani, ali kemijski nemodificirani

 

1508

Ulje od kikirikija i njegove frakcije, rafinirani ili nerafinirani, ali kemijski nemodificirani

 

1511 10 90

Palmino ulje, sirovo, osim za tehničke ili industrijske svrhe, osim za proizvodnju prehrambenih proizvoda za ljude

 

1511 90

Palmino ulje i njegove frakcije, rafinirani ili nerafinirani, ali kemijski nemodificirani, osim sirovog ulja

 

1512

Ulje od sjemena suncokreta, šafranike ili pamuka i njihove frakcije, rafinirani ili nerafinirani, ali kemijski nemodificirani

 

1513

Ulje od kokosovog oraha (kopre), palminih koštica (jezgri) ili babasu ulje i njihove frakcije, rafinirani ili nerafinirani, ali kemijski nemodificirani

 

1514

Ulje od repice ili ulje od gorušice i njihove frakcije, rafinirani ili nerafinirani, ali kemijski nemodificirani

 

1515

Ostale biljne masti i ulja, nehlapljivi (uključujući jojoba ulje) i njihove frakcije, rafinirani i nerafinirani, ali kemijski nemodificirani:

 

1516

Masti i ulja životinjskog ili biljnog podrijetla i njihove frakcije, djelomično ili potpuno hidrogenirani, interesterificirani, reesterificirani ili elaidinizirani, rafinirani ili ne, ali dalje nepripremljeni

 

1517

Margarin; jestive mješavine ili pripravci od masti ili ulja životinjskog ili biljnog podrijetla ili od frakcija različitih masti ili ulja iz poglavlja 15., osim jestivih masti ili ulja ili njihovih frakcija iz tarifnog broja 1516

 

1518 00

Životinjske ili biljne masti i ulja te njihove frakcije, kuhani, oksidirani, dehidrirani, sumporirani, puhani, polimerizirani zagrijavanjem u vakuumu ili u inertnom plinu ili drukčije kemijski modificirani, osim onih iz tarifnog broja 1516; nejestive mješavine ili pripravci od životinjskih ili biljnih masti ili ulja ili od frakcija različitih masti ili ulja iz poglavlja 15., nespomenuti niti uključeni na drugom mjestu

 

1521 90 99

Pčelinji vosak i voskovi od ostalih insekata, rafinirani ili obojeni ili ne, osim sirovog

 

1522 00 10

Degra

 

1522 00 91

Uljni talozi; sapunski talozi, osim onih koji sadrže ulje koje ima obilježja maslinovog ulja

 

S-4a

16

1601 00 10

Kobasice i slični proizvodi, od jetre, i prehrambeni proizvodi na osnovi jetre

 

1602 20 10

Jetra guske ili patke, pripremljena ili konzervirana

 

1602 41 90

Šunke i komadi od njih, pripremljena ili konzervirana, od svinje, osim domaće svinje

 

1602 42 90

Plećke i komadi od njih, pripremljene ili konzervirane, od svinje, osim domaće svinje

 

1602 49 90

Ostali pripremljeni ili konzervirani proizvodi od mesa ili mesnih klaoničkih proizvoda, što uključuje mješavine, od svinje, osim domaće svinje

 

1602 50 31

1602 50 95

Ostali pripremljeni ili konzervirani proizvodi od mesa ili mesnih klaoničkih proizvoda, kuhani, od životinja vrste goveda, neovisno jesu li u spremnicima koji ne propuštaju zrak

 

1602 90 31

Ostali pripremljeni ili konzervirani proizvodi od mesa ili drugih mesnih nusproizvoda klanja od divljači ili zečeva

 

1602 90 69

Ostali pripremljeni ili konzervirani proizvodi od mesa ili drugih mesnih nusproizvoda klanja od ovaca ili koza ili drugih životinja, koji ne sadrže nekuhanu govedinu ili druge mesne nusproizvode klanja i ne sadrže meso ili druge mesne nusproizvode klanja domaće svinje

 

1602 90 91

1602 90 95

1602 90 99

1602 90 78

1603 00 10

Ekstrakti i sokovi od mesa, riba ili rakova, mekušaca ili od drugih vodenih beskralješnjaka, u neposrednim pakiranjima neto-mase 1 kg ili manje

 

1604

Pripremljena ili konzervirana riba; kavijar i nadomjesci kavijara pripremljeni od ribljih jaja;

 

1605

Raci (rakovi), mekušci i ostali vodeni beskralježnjaci, pripremljeni ili konzervirani

 

S-4b

17

1702 50 00

Kemijski čista fruktoza

 

1702 90 10

Kemijski čista maltoza

 

1704 (2)

Proizvodi od šećera (uključujući bijelu čokoladu), bez kakaa

 

18

Poglavlje 18.

Kakao i kakao proizvodi

 

19

Poglavlje 19.

Proizvodi od žitarica, brašna, škroba ili mlijeka; slastičarski proizvodi

 

20

Poglavlje 20.

Proizvodi od povrća, voća, orašastih plodova ili drugih dijelova biljaka:

 

21

ex Poglavlje 21.

Razni prehrambeni proizvodi, osim proizvoda iz tarifnih podbrojeva 2106 10, 2106 90 30, 2106 90 51, 2106 90 55 i 2106 90 59

 

22

ex Poglavlje 22.

Pića, alkoholi i ocat, osim proizvoda iz tarifnih podbrojeva 2204 10 11 do 2204 30 10 i tarifnog podbroja 2208 40

 

23

2302 50 00

Ostaci i otpad slične vrste, neovisno jesu li u obliku peleta ili ne, dobiveni mljevenjem ili drugom obradom mahunarki

 

2307 00 19

Ostali vinski talog

 

2308 00 19

Ostala komina od grožđa

 

2308 00 90

Ostali biljni materijali i biljni otpaci, biljni ostaci i sporedni proizvodi, peletirani ili nepeletirani, koji se rabe za prehranu životinja, koji nisu spomenuti niti uključeni na drugom mjestu:

 

2309 10 90

Ostala hrana za pse i mačke pripremljena u pakiranja za pojedinačnu prodaju, osim one sa sadržajem škroba, glukoze, glukoznog sirupa, maltodekstrina ili maltodekstrinskog sirupa iz podbrojeva 1702 30 50, 1702 30 90, 1702 40 90, 1702 90 50 i 2106 90 55 ili mliječnih proizvoda

 

2309 90 10

Topljive tvari od riba ili morskih sisavaca, vrste koja se koristi za prehranu životinja

 

2309 90 91

Rezanci šećerne repe s dodanom melasom, vrste koja se koristi za prehranu životinja

 

2309 90 96

Ostali pripravci vrste koja se koristi za prehranu životinja, bez obzira da li masenim udjelom sadrže 49 % ili više kolin klorida na organskoj ili anorganskoj osnovi

 

S-4c

24

Poglavlje 24.

Duhan i prerađeni nadomjesci duhana

 

S-5

25

2519 90 10

Magnezijev oksid, osim kalciniranog prirodnog magnezijevog karbonata

 

2522

Živo vapno, gašeno vapno i hidraulično vapno, osim kalcijevog oksida i hidroksida iz tarifnog broja 2825

 

2523

Portland-cement, aluminatni cement, metalurški cement, supersulfatni cement i slični hidraulični cementi, uključujući obojene ili u obliku klinkera

 

27

Poglavlje 27.

Mineralna goriva, mineralna ulja i proizvodi koji nastaju njihovom destilacijom, bitumen, mineralni voskovi

 

S-6a

28

2801

Fluor, klor, brom i jod

 

2802 00 00

Sumpor, sublimirani ili taloženi, koloidni sumpor

 

ex 2804

Vodik, plemeniti (rijetki) plinovi i ostali nemetali, osim proizvoda iz tarifnog podbroja 2804 69 00

 

2805 19

Alkalijske ili zemnoalkalijske kovine, osim natrija i kalcija

 

2805 30

Kovine rijetkih zemalja, skandij i itrij, neovisno jesu li međusobno pomiješani ili legirani ili ne

 

2806

Klorovodik (klorovodična kiselina); klorsulfonska kiselina

 

2807 00

Otopina sumporne kiseline; oleum

 

2808 00 00

Dušična kiselina; sulfodušične kiseline

 

2809

Difosforov pentaoksid; fosforna kiselina; polifosforne kiseline, neovisno jesu li kemijski definirane ili ne

 

2810 00 90

Borovi oksidi, osim diboron trioksida; borne kiseline

 

2811

Ostale anorganske kiseline i ostali anorganski kisikovi spojevi nemetala

 

2812

Halogenidi i oksihalogenidi nemetala

 

2813

Sulfidi nemetala; komercijalni fosforov trisulfid

 

2814

Amonijak, bezvodni ili u vodenoj otopini

 

2815

Natrijev hidroksid (kaustična soda), kalijev hidroksid (kaustična potaša), natrijevi ili kalijevi peroksidi

 

2816

Magnezijev hidroksid i peroksid; oksidi, hidroksidi i peroksidi stroncija ili barija

 

2817 00 00

Cinkov oksid; cinkov peroksid

 

2818 10

Umjetni korund, kemijski definiran ili ne

 

2818 20

Aluminijev oksid, osim umjetnog korunda

 

2819

Kromovi oksidi i hidroksidi

 

2820

Manganovi oksidi

 

2821

Željezni oksidi i hidroksidi; zemljane boje, s masenim udjelom vezanog željeza, izraženog kao Fe2O3, 70 % ili većim

 

2822 00 00

Kobaltovi oksidi i hidroksidi; komercijalni kobaltovi oksidi

 

2823 00 00

Titanijevi oksidi

 

2824

Olovni oksidi; minij i narančasto olovo

 

2825

Hidrazin i hidroksilamin i njihove anorganske soli, ostale anorganske baze, ostali metalni oksidi, hidroksidi i peroksidi

 

2826

Fluoridi; fluorosilikati, fluoroaluminati i ostale kompleksne soli fluora

 

2827

Kloridi, oksikloridi i hidroksikloridi; bromidi i oksibromidi; jodidi i oksijodidi

 

2828

Hipokloriti; komercijalni kalcijev hipoklorit; kloriti; hipobromiti

 

2829

Klorati i perklorati; bromati i perbromati; jodati i perjodati

 

2830

Sulfidi; polisulfidi, neovisno jesu li kemijski određeni ili ne

 

2831

Ditioniti i sulfoksilati

 

2832

Sulfiti; tiosulfiti

 

2833

Sulfati; alauni; peroksisulfati (persulfati)

 

2834 10 00

Nitriti

 

2834 21 00

Nitrati

 

2834 29

2835

Fosfinati (hipofosfiti), fosfonati (fosfiti) i fosfati; polifosfati, neovisno jesu li kemijski određeni ili ne

 

2836

Karbonati; peroksokarbonati (perkarbonati); komercijalni amonijev karbonat, što sadrži amonijev karbamat

 

2837

Cijanidi, oksidi cijanida i kompleksni cijanidi

 

2839

Silikati; komercijalni silikati alkalnih kovina

 

2840

Borati i perborati

 

2841

Soli oksimetalnih i peroksimetalnih kiselina

 

2842

Ostale soli anorganskih kiselina ili peroksikiselina (uključujući aluminosilikate, neovisno jesu li kemijski određeni ili ne), osim azida

 

2843

Plemenite kovine u koloidnom stanju; anorganski ili organski spojevi plemenitih kovina, neovisno jesu li kemijski određeni ili ne; amalgami plemenitih kovina

 

ex 2844 30 11

Kermeti koji sadrže uranij osiromašen u U 235 i njegove spojeve, osim neobrađeni

 

ex 2844 30 51

Kermeti koji sadrže torij i njegove spojeve, osim neobrađeni

 

2845 90 90

Izotopi osim onih iz tarifnog podbroja 2844; i spojevi, anorganski ili organski, takvih izotopa, jesu li kemijski određeni ili ne, osim deuterija i njegovih spojeva, hidrogena i njegovih spojeva obogaćenih deuterijem ili mješavinama i otopinama koje sadrže te proizvode

 

2846

Anorganski i organski spojevi kovina rijetkih zemlji, itrija ili skandija ili mješavina tih kovina

 

2847 00 00

Vodikov peroksid, neovisno je li očvrsnut ureom ili ne

 

2848 00 00

Fosfidi, neovisno jesu li kemijski određeni ili ne, osim ferofosfora

 

2849

Karbidi, kemijski određeni ili neodređeni:

 

2850 00

Hidridi, nitridi, azidi, silicidi i boridi, neovisno jesu li kemijski određeni ili ne, osim spojeva koji su ujedno i karbidi iz tarifnog broja 2849

 

2852 00 00

Anorganski ili organski spojevi žive, isključujući amalgame

 

2853 00

Ostali anorganski spojevi (uključujući destiliranu ili elektrovodljivu vodu i vodu slične čistoće); tekući zrak (neovisno jesu li izdvojeni plemeniti plinovi ili ne); stlačeni zrak; amalgami, osim amalgama plemenitih kovina

 

29

2903

Halogeni derivati ugljikovodika

 

2904

Sufonirani, nitrirani i nitrozirani derivati ugljikovodika, halogenirani ili nehalogenirani

 

ex 2905

Aciklički alkoholi i njihovi halogeni-, sulfo-, nitro- ili nitrozo derivati, osim proizvoda iz tarifnih podbrojeva 2905 43 00 i 2905 44

 

2906

Ciklički alkoholi i njihovi halogeni-, sulfo-, nitro- ili nitrozo derivati

 

2907

Fenoli; fenol-alkoholi

 

2908

Halogeni-, sulfo-, nitro- ili nitrozo derivati fenola ili fenolnih alkohola

 

2909

Eteri, eter alkoholi, eter fenoli, eter alkohol-fenoli, peroksidi alkohola, peroksidi etera, peroksidi ketona (neovisno jesu li kemijski određeni ili ne) i njihovi halogeni-, sulfo-, nitro- ili nitrozo derivati

 

2910

Epoksidi, epoksialkoholi, epoksifenoli i epoksieteri, s tročlanim prstenom, te njihovi halogeni-, sulfo-, nitro- ili nitrozo derivati:

 

2911 00 00

Acetali i poluacetali, neovisno imaju li drugu kisikovu skupinu ili ne, te njihovi halogeni-, sulfo-, nitro- ili nitrozo derivati

 

2912

Aldehidi, neovisno imaju li drugu kisikovu skupinu ili ne; ciklički polimeri aldehida; paraformaldehid

 

2913 00 00

Halogeni-, sulfo-, nitro- ili nitrozo derivati proizvoda uvrštenih u tarifni broj 2912

 

2914

Ketoni i kvinoni, neovisno imaju li drugu kisikovu skupinu ili ne, te njihovi halogeni-, sulfo-, nitro- ili nitrozo derivati

 

2915

Zasićene acikličke monokarboksilne kiseline i njihovi anhidridi, halogenidi, peroksidi i perkiseline; njihovi halogeni-, sulfo-, nitro- ili nitrozo derivati

 

2916

Nezasićene acikličke monokarboksilne kiseline i cikličke monokarboksilne kiseline, njihovi anhidridi, halogenidi, peroksidi i perkiseline; njihovi halogeni-, sulfo-, nitro- ili nitrozo derivati

 

2917

Polikarboksilne kiseline i njihovi anhidridi, halogenidi (halidi), peroksidi i perkiseline, i njihovi halogeni-, sulfo-, nitro- i nitrozo derivati

 

2918

Karboksilne kiseline s dodatnom kisikovom skupinom i njihovi anhidridi, halogenidi, peroksidi i perkiseline; njihovi halogeni-, sulfo-, nitro- ili nitrozo derivati

 

2919

Esteri fosforne kiseline i njene soki, uključujući laktofosfate i njene halogene-, sulfo-, nitro- ili nitrozo derivate

 

2920

Esteri drugih anorganskih kiselina nekovina (osim estera vodikovog halogenida) i njihove soli; njihovi halogeni-, sulfo-, nitro- ili nitrozo derivati

 

2921

Spojevi s amino skupinom

 

2922

Amino spojevi s kisikovom funkcijom

 

2923

Kvarterne amonijeve soli i hidroksidi; lecitini i ostali fosfoaminolipidi, neovisno jesu li kemijski određeni ili ne

 

2924

Spojevi s karboksiamidnom skupinom; spojevi karboksilne kiseline s amidnom skupinom

 

2925

Spojevi s karboksiimidnom skupinom (uključujući saharin i njegove soli) i spojevi s imino skupinom

 

2926

Spojevi s nitrilnom skupinom

 

2927 00 00

Diazo-, azo-ili azoksi spojevi

 

2928 00 90

Ostali organski derivati hidrazina ili hidoksilamina

 

2929 10

Izocijanati

 

2929 90 00

Ostali spojevi s ostalim dušičnim funkcijama

 

2930 20 00

Tiokarbamati i ditiokarbamati, i tiuram mono-, di- ili tetrasulfidi; ditiokarbonati (ksantati)

 

2930 30 00

ex 2930 90 99

2930 40 90

Metionin, kaptafol (ISO) i metamidofos (ISO) te ostali organsko sumporni spojevi osim ditiokarbonata (ksantata)

 

2930 50 00

2930 90 13

2930 90 16

2930 90 20

2930 90 60

ex 2930 90 99

2931 00

Ostali organsko-anorganski spojevi

 

2932

Heterociklički spojevi samo s jednim ili više kisikovih heteroatoma

 

2933

Heterociklički spojevi samo s jednim ili više dušikovih heteroatoma

 

2934

Nukleinske kiseline i njihove soli, neovisno jesu li kemijski određene ili ne; ostali heterociklički spojevi

 

2935 00 90

Ostali sulfonamidi

 

2938

Glikozidi, prirodni ili dobiveni sintezom, te njihove soli, eteri, esteri i ostali derivati

 

2940 00 00

Šećer, kemijski čist, osim saharoze, laktoze, maltoze, glukoze i fruktoze; šećerni eteri, šećerni acetali i šećerni esteri i njihove soli, osim proizvoda uvrštenih u tarifne brojeve 2937, 2938 ili 2939

Ispravljeno prema opisu KN

2941 20 30

Dihidrostreptomicin, njegove soli, esteri i hidrati

 

2942 00 00

Ostali organski spojevi

 

S-6b

31

3102

Dušična gnojiva, mineralna ili kemijska

 

3103 10

superfosfati

 

3105

Mineralna ili kemijska gnojiva što sadrže dva ili tri gnojiva elementa - dušik, fosfor i kalij; ostala gnojiva; roba iz poglavlja 31. u obliku tableta ili u sličnim oblicima ili u pakiranjima bruto-mase ne veće od 10 kg

 

32

ex Poglavlje 32.

Ekstrakti za štavljenje ili bojenje; tanini i njihovi derivati; bojila, pigmenti i druge tvari za bojenje; boje i lakovi;kitovi i druge mase za brtvljenje; tiskarske boje i tinte; osim proizvoda iz tarifnih podbrojeva 3201 20 00 i 3201 90 20, ex 3201 90 90 (ekstrakti za bojenje na bazi eukaliptusa), ex 3201 90 90 (ekstrakti za bojenje dobiveni od voća gambier i myrobalan) i ex 3201 90 90 (osim ektrakta za bojenje biljnog podrijetla)

 

33

Poglavlje 33.

Esencijalna ulja i smole, parfemi, kozmetički ili higijenski preparati

 

34

Poglavlje 34.

Sapun, organska površinski aktivna sredstva, preparati za pranje, preparati za podmazivanje, umjetni voskovi, pripremljeni voskovi, preparati za poliranje i čišćenje, svijeće i slični proizvodi, paste za modeliranje, „stomatološki voskovi” te stomatološki preparati na osnovi sadre

 

35

3501

Kazein, kazeinati i ostali kazeinski derivati; kazeinska ljepila

 

3502 90 90

Albuminati i ostali derivati albumina

 

3503 00

Želatina (uključujući želatinu u pravokutnim (uključujući kvadratnim) listovima, neovisno je li površinski obrađena ili obojana ili ne) i derivati želatine; ljepilo iz ribljih mjehura; ostala ljepila životinjskog podrijetla, osim kazeinskih ljepila iz tarifnog broja 3501

 

3504 00 00

Peptoni i njihovi derivati; ostale bjelančevinaste tvari i njihovi derivati, nespomenuti niti uključeni na drugom mjestu; kožni prah, neovisno je li kromiran ili ne

 

3505 10 50

Škrobovi, esterificirani ili eterificirani

 

3506

Pripremljena ljepila i ostala pripremljena sredstva za lijepljenje, nespomenuta niti uključena na drugom mjestu; proizvodi prikladni za uporabu kao ljepila ili sredstva za lijepljenje, pripremljeni u pakiranja za pojedinačnu prodaju kao ljepila ili sredstva za lijepljenje, neto-mase ne veće od 1 kg

 

3507

Enzimi; pripremljeni enzimi što nisu spomenuti niti uključeni na drugom mjestu

 

36

Poglavlje 36.

Eksplozivi; pirotehnički proizvodi; šibice; pojedini zapaljivi pripravci

 

37

Poglavlje 37.

Proizvodi za fotografsku i kinematografsku uporabu

 

38

ex Poglavlje 38.

Razni kemijski proizvodi, osim proizvoda iz tarifnih podbrojeva 3809 10 i 3824 60

 

S-7a

39

Poglavlje 39.

Plastika i proizvodi od plastike

 

S-7b

40

Poglavlje 40.

Guma i proizvodi od gume

 

S-8a

41

ex 4104

Štavljene ili „crust” kože od životinja vrste goveda (uključujući od bivola) ili od kopitara, bez dlake, neovisno jesu li cijepane ili ne, ali dalje neobrađene, osim proizvoda iz tarifnih podbrojeva 4104 41 19 i 4104 49 19

 

ex 4106 31 00

Štavljene ili „crust” kože od svinje, bez dlake, u vlažnom stanju (uključujući wet-blue), neovisno jesu li cijepane ili ne, ili u suhom stanju (crust), neovisno jesu li cijepane ili ne, ali dalje neobrađene

 

4106 32 00

4107

Kože dalje obrađene nakon štavljenja ili crust-obrade, uključujući pergamentno dorađene kože, od životinja vrste goveda (uključujući od bivola) ili od kopitara, bez dlake, neovisno jesu li cijepane ili ne, osim kože iz tarifnog broja 4114

 

4112 00 00

Kože dalje obrađene nakon štavljenja ili crust-obrade, uključujući pergamentno dorađene kože, od ovaca ili janjadi, bez vune, neovisno jesu li cijepane ili ne, osim kože iz tarifnog broja 4114

 

4113

Kože dalje obrađene nakon štavljenja ili crust-obrade, uključujući pergamentno dorađene kože, od ostalih životinja, bez vune ili dlake, neovisno jesu li cijepane ili ne, osim kože iz tarifnog broja 4114

 

4114

Semiš-koža (uključujući kombinaciju semiš-kože); lakirana koža i lakirana laminirana koža; metalizirana koža

 

4115 10 00

Umjetna koža na osnovi kože ili kožnih vlakana, u pločama, listovima ili vrpcama, neovisno je li u svitcima ili ne

 

S-8b

42

Poglavlje 42.

Predmeti od kože, sedla, konjska oprema, predmeti za putovanje, torbice i slični spremnici, predmeti od životinjskih iznutrica (osim iznutrica svilene bube)

 

43

Poglavlje 43.

Prirodno i umjetno krzno i proizvodi od krzna

 

S-9a

44

Poglavlje 44.

Drvo i predmeti od drva, drveni ugljen

 

S-9b

45

Poglavlje 45.

Pluto i predmeti od pluta

 

46

Poglavlje 46.

Proizvodi od slame, esparto trave ili drugih materijala za pletenje; pleteni predmeti

 

S-11a

50

Poglavlje 50.

Svila

 

51

ex Poglavlje 51.

Vuna, fina ili gruba životinjska dlaka, osim proizvoda iz tarifnog broja 5105; pređa i tkanina od konjske dlake

 

52

Poglavlje 52.

Pamuk

 

53

Poglavlje 53.

Ostala biljna tekstilna vlakna, papirna pređa i tkanine od papirne pređe

 

54

Poglavlje 54.

Umjetni filamenti; vrpce i slični oblici od umjetnih tektilnih materijala

 

55

Poglavlje 55.

Umjetna vlakna, rezana

 

56

Poglavlje 56.

Vata, pust i netkani materijali; posebna pređa; konopi, uzice i užad te proizvodi od njih

 

57

Poglavlje 57.

Sagovi i drugi tekstilni podni pokrivači

 

58

Poglavlje 58.

Posebne tkanine; tekstilni proizvodi dobiveni tafting postupkom; čipke; tapiserije; pozamanterija; vez

 

59

Poglavlje 59.

Impregnirani, premazani, prevučeni, prekriveni ili laminirani tekstilni materijali; tekstilni proizvodi prikladni za industrijsku uporabu

 

60

Poglavlje 60.

Pleteni ili kačkani materijali

 

S-11b

61

Poglavlje 61.

Odjeća i pribor za odjeću, pleteni ili kačkani:

 

62

Poglavlje 62.

Odjeća i pribor za odjeću, ni pleteni niti kačkani

 

63

Poglavlje 63.

Ostali izrađeni tekstilni proizvodi; nošena odjeća i nošeni tekstilni proizvodi; krpe

 

S-12a

64

Poglavlje 64.

Obuća, nazuvci i slični proizvodi, dijelovi tih proizvoda

 

S-12b

65

Poglavlje 65.

Pokrivala za glavu i njihovi dijelovi

 

66

Poglavlje 66.

Kišobrani, suncobrani, štapovi za hodanje i sjedenje, bičevi, korbači i njihovi dijelovi

 

67

Poglavlje 67.

Obrađeno perje i paperje, predmeti izrađeni od perja i paperja, umjetno cvijeće, predmeti od ljudske kose

 

S-13

68

Poglavlje 68.

Proizvodi od kamena, sadre, cementa, azbesta, tinjca ili sličnih materijala

 

69

Poglavlje 69.

Keramički proizvodi

 

70

Poglavlje 70.

Staklo i proizvodi od stakla

 

S-14

71

Poglavlje 71.

Prirodni i kultivirani biseri, dragulji i poludragulji, plemenite kovine, kovine platirane plemenitim kovinama i proizvodi od njih, imitacije draguljarskih predmeta; kovanice

 

S-15a

72

7202

Ferolegure

 

73

Poglavlje 73.

Proizvodi od željeza ili čelika

 

S-15b

74

Poglavlje 74.

Bakar i predmeti napravljeni od njega

 

75

7505 12 00

Šipke, žica i profili, od slitine nikla

 

7505 22 00

Žica, od slitine nikla

 

7506 20 00

Ploče, limovi, vrpce i folije, od nikla

 

7507 20 00

Cijevi i pribor za cijevi, od nikla

 

76

ex Poglavlje 76.

Aluminij i proizvodi od aluminija, osim proizvoda iz tarifnog broja 7601

 

78

ex Poglavlje 78.

Olovo i proizvodi od olova, osim proizvoda iz tarifnog podbroja 7801 99

 

7801 99

Olovo u sirovim oblicima, osim rafiniranog i osim s antimonom kao glavnim drugim elementom

 

79

ex Poglavlje 79.

Cink i proizvodi od cinka, osim proizvoda iz tarifnih brojeva 7901 i 7903

 

81

ex Poglavlje 81.

Ostale obične kovine; kermeti; i njihovi proizvodi, osim proizvoda iz tarifnih podbrojeva 8101 10 00, 8101 94 00, 8102 10 00, 8102 94 00, 8104 11 00, 8104 19 00, 8107 20 00, 8108 20 00, 8108 30 00, 8109 20 00, 8110 10 00, 8112 21 90, 8112 51 00, 8112 59 00, 8112 92 i 8113 00 20

 

82

Poglavlje 82.

Alati, nožarski proizvodi, i pribor za jelo, od običnih kovina

 

83

Poglavlje 83.

Različiti predmeti od kovine

 

S-16

84

Poglavlje 84.

Nuklearni reaktori, kotlovi, strojevi i mehanički uređaji, njihovi dijelovi

 

85

Poglavlje 85.

Električni strojevi i oprema te njihovi dijelovi; aparati za snimanje i reprodukciju zvuka, aparati za snimanje i reprodukciju televizijske slike i zvuka, njihovi dijelovi i pribor

 

S-17a

86

Poglavlje 86.

Željezničke ili tramvajske lokomotive, vagoni i njihovi dijelovi; željeznički ili tramvajski kolosiječni sklopovi i pribor te njihovi dijelovi; mehanička (uključujući elektromehanička) prometna signalna oprema svih vrsta

 

S-17b

87

Poglavlje 87.

Vozila, osim željezničkih ili tramvajskih vagona i lokomotiva i njihovi dijelovi i pribor

 

88

Poglavlje 88.

Letjelice, svemirske letjelice i njihovi dijelovi

 

89

Poglavlje 89.

Brodovi, brodice i ploveće konstrukcije

 

S-18

90

Poglavlje 90.

Optički, fotografski, kinematografski, mjerni i kontrolni instrumenti, instrumenti za kontrolu točnosti, medicinski i kirurški instrumenti i aparati;

 

91

Poglavlje 91.

Ure i njihovi dijelovi

 

92

Poglavlje 92.

Glazbala, dijelovi i pribor za te proizvode

 

S-20

94

Poglavlje 94.

Pokućstvo, oprema za postelje, maraci, nosači madraca, jastuci i slični punjeni proizvodi; svjetiljke i ostala rasvjetna tijela, nespomenuta niti uključena na drugom mjestu; osvijetljeni znakovi, osvijetljene natpisne pločice i slično; montažne zgrade

 

95

Poglavlje 95.

Igračke, društvene igre i športski rekviziti; njihovi dijelovi i pribor

 

96

Poglavlje 96.

Razni proizvedeni predmeti

 


(1)  Za proizvode iz tarifnog broja 0306 13, carina će iznositi 3,6 %.

(2)  Za proizvode iz tarifnog broja KN 1704 10 90, posebna carina ograničena je na 16 % carinske vrijednosti.

PRILOG X.

KORELACIJSKA TABLICA

Uredba (EEZ) br. 732/2008

Ova Uredba

Članak 1.

Članak 1.

Članak 2. točka (a)

Članak 2. točka (a)

Članak 2. točka (g)

Članak 2. točka (b)

Članak 2. točka (h)

Članak 2. točka (c)

Članak 2. točke (b) do (f)

Članak 2. točka (i)

Članak 2. točka (j)

Članak 2. točka (k)

Članak 2. točka (l)

Članak 3. stavak 1. i članak 3. stavak 2. prvi podstavak

Članak 4. stavak 1.

Članak 3. stavak 2. drugi podstavak

Članak 3. stavak 3.

Članak 5. stavak 4.

Članak 4. stavci 2. i 3.

Članak 4.

Članak 6. stavak 1. i članak 11. stavak 1.

Članak 5. stavci 1. i 2.

Članak 33. stavci 1. i 2.

Članak 5. stavak 3.

Članak 6. stavci 1. do 6.

Članak 7. stavci 1. do 6.

Članak 6. stavak 7.

Članak 7. stavci 1. i 2.

Članak 12. stavci 1. i 2.

Članak 7. stavak 3.

Članak 8. stavak 1.

Članak 9. stavak 1.

Članak 9. stavak 2.

Članak 8. stavak 2.

Prilog VII.

Članak 8. stavak 3. prvi podstavak

Članak 13. stavak 1.

Članak 13. stavak 2.

Članak 8. stavak 3. drugi podstavak.

Članak 14. stavak 1.

Članak 14. stavci 2. i 3.

Članak 9. stavci 1. i 2.

Članak 10. stavak 1. i 2.

Članak 9. stavak 3.

Članak 10. stavak 3.

Članak 10. stavak 1.

Članak 10. stavak 2.

Članak 10. stavak 4.

Članak 10. stavak 5.

Članak 10. stavak 3.

Članak 10. stavak 6.

Članak 10. stavak 4.

Članak 10. stavak 5.

Članak 10. stavak 6.

Članak 10. stavak 7.

Članak 16.

Članak 11. stavci 1. do 7.

Članak 18.

Članak 11. stavak 8.

Članak 17.

Članak 12.

Članak 13.

Članak 8. i Prilog VI.

Članak 14.

Članak 34.

Članak 15. stavak 1.

Članak 19. stavak 1.

Članak 15. stavak 2.

Članak 15. stavak 1.

Članak 15. stavak 2.

Članak 15. stavak 3.

Članak 19. stavak 2.

Članak 20.

Članak 16.

Članak 21.

Članak 17.

Članak 15. stavak 3. i članak 19. stavak 3.

Članak 18.

Članak 15. stavci 4. do 7. i članak 19. stavci 4. do 7.

Članak 19.

Članak 15. stavci 8. do 12. i članak 19. stavci 8. do 14.

Članak 20. stavak 1.

Članak 22.

Članak 20. stavci 2. i 3.

Članak 24. stavci 1. do 3.

Članak 20. stavak 4.

Članak 23.

Članak 20. stavak 5.

Članak 10. stavak 4.

Članak 20. stavak 6.

Članak 26.

Članak 20. stavak 7.

Članak 25.

Članak 27.

Članak 28.

Članak 20. stavak 8.

Članak 29.

Članak 21.

Članak 30.

Članak 22. stavak 1.

Članak 31.

Članak 22. stavak 2.

Članak 23.

Članak 32.

Članak 24.

Članak 25. točka (a)

Članak 6. stavak 2. i članak 11. stavak 2.

Članak 25. točka (b)

Članak 3. stavak 3. i članak 17. stavci 2. do 3.

Članak 25. točka (c)

Članak 5. stavak 2.

Članak 25. točka (d)

Članak 8. stavak 3.

Članak 25. točka (e)

Članak 10. stavak 4.

Članak 26.

Članak 35.

Članak 36.

Članak 37.

Članak 38.

Članak 27. stavci 1. i 2.

Članak 39. stavak 1.

Članak 27. stavak 3.

Članak 27. stavci 4. i 5.

Članak 39. stavci 2. do 4.

Članak 28.

Članak 29.

Članak 30.

Članak 31.

Članak 40.

Članak 41.

Članak 42.

Članak 32. stavak 1.

Članak 43. stavak 1.

Članak 32. stavak 2.

Članak 43. stavak 2. i 3.

Prilog I.

Prilog I.

Prilozi II., III. i IV.

Prilog II.

Prilozi V. i IX.

Prilog III., dio A.

Prilog VIII., dio A.

Prilog III., dio B.

Prilog VIII., dio B.

Prilog X.


Top